GM Service Manual Online
For 1990-2009 cars only

Front Door Inside Handle Rod Replacement Sedan

Removal Procedure

  1. Remove the front side door trim paneling. Refer to Front Side Door Trim Panel Replacement .

  2. Object Number: 1937550  Size: LF
  3. Partly loosen the water vapor barrier.
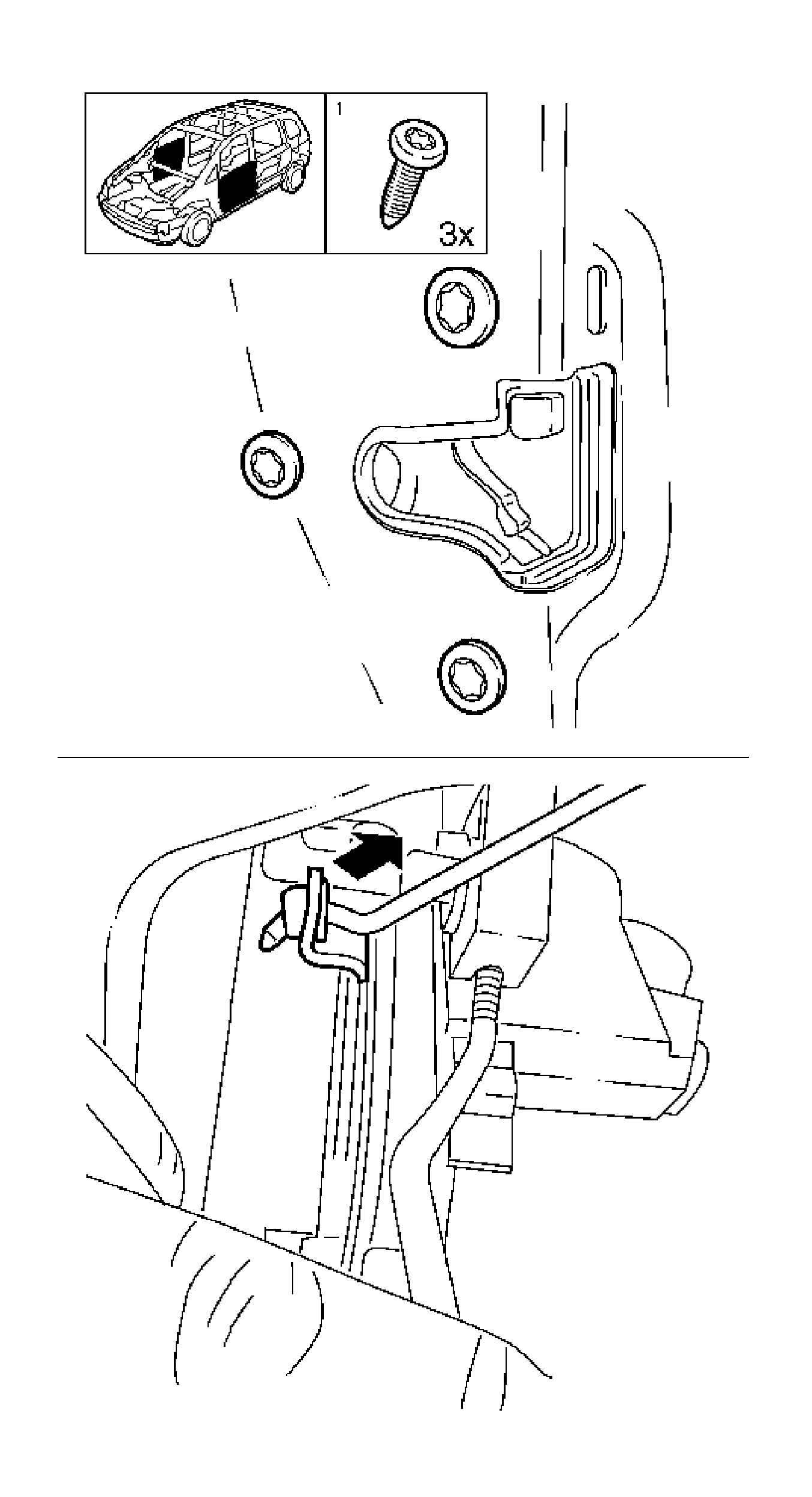
  4. • Remove the 2 front door retainer base inner paneling.
    • Loosen the water vapor barrier in the area of the hatching.

    Object Number: 1941193  Size: SH
  5. Remove the cable from front door inner door actuation.
  6. Remove the cable from bracket.

Installation Procedure

  1. Refit the cable to inner door actuation.
  2. Insert the cable into bracket.

  3. Install the water vapor barrier.
  4. Install the 2 front door retainer base inner paneling.

  5. Install the front side door trim panel. Refer to Front Side Door Trim Panel Replacement .

Front Door Inside Handle Rod Replacement Coupe

Removal Procedure

  1. Remove the front side door trim panel. Refer to Front Side Door Trim Panel Replacement.

  2. Object Number: 1937550  Size: LF
  3. Partly loosen the water vapor barrier.
  4. • Remove the 2 holding angles.
    • Remove the 2 pins.

    Object Number: 1941191  Size: LH
  5. Remove the front door lock - left side.
  6. • Remove the 3 bolts.
    • Disconnect the wiring harness plug.
    • Disconnect the 2 connector linkages.
    • Remove the retainer clip.

    Object Number: 1941193  Size: SH
  7. Remove the front door cable inner door actuator.
  8. Remove the cable from bracket.

Installation Procedure

  1. Install the inner front door cable actuator.
  2. Insert the cable into bracket.

    Caution: Refer to Fastener Caution in the Preface section.

  3. Install the front door lock - left side.
  4. • Install the 2 connector linkages.
    • Install the retainer clip.

    Tighten
    Tighten the 3 bolts to 8 N·m (70 lb in).

    • Connect the wiring harness plug.
  5. Fasten the water vapor barrier.
  6. • Install the 2 holding angles.
    • Install the 2 pins.
  7. Install the front side door trim panel. Refer to Front Side Door Trim Panel Replacement.