Connector Part Information
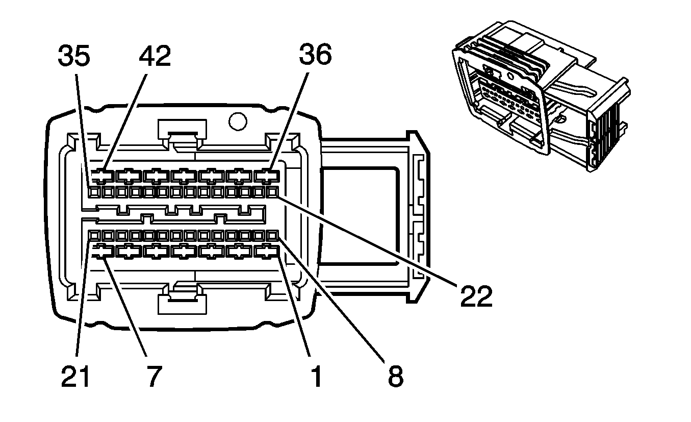
|
Terminal Part Information
|
Pin | Wire Color | Circuit No. | Function |
|---|---|---|---|
A | -- | -- | Low Reference |
B | BK | 1526 | Shift Solenoid Supply Voltage 2 |
Connector Part Information
|
Terminal Part Information
|
Pin | Wire Color | Circuit No. | Function |
|---|---|---|---|
A | -- | -- | Low Reference |
B | WH | 1525 | Shift Solenoid Supply Voltage 1 |
Connector Part Information
|
Terminal Part Information
|
Pin | Wire Color | Circuit No. | Function |
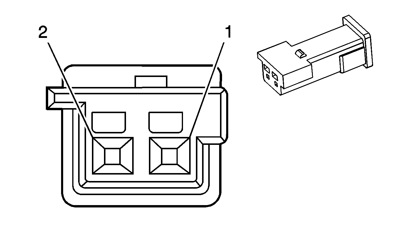
|---|---|---|---|
1 | 1.5 BN | 1650 | Ground |
2 | 1.5 RD | 502 | Battery Positive Voltage |
Connector Part Information
|
Terminal Part Information
|
Pin | Wire Color | Circuit No. | Function |
|---|---|---|---|
A | 1.5 BN/RD | 1250 | Ground |
B | 1 BK/WH | 59 | A/C Compressor Clutch Supply Voltage |
Connector Part Information
|
Terminal Part Information
|
Pin | Wire Color | Circuit No. | Function |
|---|---|---|---|
1 | 0.5 BN/BK | 5514 | Low Reference |
2 | 0.5 BK/WH | 2700 | 5 Volt Reference 1 |
3 | 0.5 GN | 380 | A/C Refrigerant Pressure Sensor Signal |
Connector Part Information
|
Terminal Part Information
|
Pin | Wire Color | Circuit No. | Function |
|---|---|---|---|
1 | 0.5 BK/YE | 1274 | 5 Volt Reference 2 |
2 | 0.5 BK/RD | 1164 | 5 Volt Reference 1 |
3 | 0.5 WH/YE | 1161 | Accelerator Pedal Position Signal 1 |
4 | 0.5 BN/RD | 1271 | Low Reference |
5 | 0.5 BN/WH | 1272 | Low Reference |
6 | 0.5 WH/GN | 1162 | Accelerator Pedal Position Signal 2 |
Connector Part Information
|
Terminal Part Information
|
Pin | Wire Color | Circuit No. | Function |
|---|---|---|---|
1 | BN/BK | -- | 8V Reference |
2 | GY | -- | Air Temperature Actuator Position Signal |
3 | BK | -- | Low Reference |
4 | -- | -- | Not Used |
5 | RD | -- | Air Temperature Actuator Motor Control B |
6 | WH | -- | Air Temperature Actuator Motor Control A |
Connector Part Information
|
Terminal Part Information
|
Pin | Wire Color | Circuit No. | Function |
|---|---|---|---|
1 | 0.5 BU | 636 | Outside Ambient Air Temperature Sensor Signal |
2 | 0.5 BU/BN | 61 | Low Reference |
Connector Part Information
|
Terminal Part Information
|
Pin | Wire Color | Circuit No. | Function |
|---|---|---|---|
1 | 0.5 BU | 636 | Outside Ambient Air Temperature Sensor Signal |
2 | 0.5 BU/BN | 61 | Low Reference |
Connector Part Information
|
Terminal Part Information
|
Pin | Wire Color | Circuit No. | Function |
|---|---|---|---|
1 | 0.35 COAX | 5173 | Antenna Radio Screen |
2 | -- | -- | Not Used |
3 | 0.35 COAX | 6797 | GSM Antenna Screen |
4 | 0.35 COAX | 5175 | Antenna Navigation Screen |
Connector Part Information
|
Terminal Part Information
|
Pin | Wire Color | Circuit No. | Function |
|---|---|---|---|
A | GN | 1231 | Low Reference |
B | YE/BK | 1230 | Transmission Speed Sensor Signal |
Connector Part Information
|
Terminal Part Information
|
Pin | Wire Color | Circuit No. | Function |
|---|---|---|---|
A | OG | 586 | Low Reference |
B | OG | 585 | Transmission Oil Temperature Sensor Signal |
Connector Part Information
|
Terminal Part Information
|
Pin | Wire Color | Circuit No. | Function |
|---|---|---|---|
A | GY | 401 | Low Reference |
B | YE | 400 | Vehicle Speed Sensor Signal |
Connector Part Information
|
Terminal Part Information
|
Pin | Wire Color | Circuit No. | Function |
|---|---|---|---|
1 | -- | -- | Not Used |
2 | 0.5 BN | 2150 | Ground |
3-4 | -- | -- | Not Used |
5 | 0.5 BK | 539 | Run/Crank Ignition 1 Voltage |
6 | -- | -- | Not Used |
7 | 0.5 GY/YE | 1382 | LED Dimming Signal |
8 | 0.5 WH | 771 | Transmission Position Switch Bit 1 Signal |
9 | 0.5 GN | 772 | Transmission Position Switch Bit 2 Signal |
10 | 0.5 GY | 773 | Transmission Position Switch Bit 3 Signal |
11 | 0.5 WH/YE | 1371 | Transmission Position Switch Bit 4 Signal |
12 | -- | -- | Not Used |
Connector Part Information
|
Terminal Part Information
|
Pin | Wire Color | Circuit No. | Function |
|---|---|---|---|
A | 0.75 BN | 650 | Ground |
B | 0.75 WH/BK | 5007 | Reverse Switch Signal |
Connector Part Information
|
Terminal Part Information
|
Pin | Wire Color | Circuit No. | Function |
|---|---|---|---|
1 | 0.5 BK/BN | 474 | 5 Volt Reference 1 |
2 | 0.5 GN/BK | 6014 | Low Reference |
3 | 0.5 GN/BN | 5266 | Ambient Air Pressure Sensor Signal |
Connector Part Information
|
Terminal Part Information
|
Pin | Wire Color | Circuit No. | Function |
|---|---|---|---|
-- | 50 BK | 1 | Unfused Battery Positive Voltage |
25 RD | 1 | Unfused Battery Positive Voltage |
Connector Part Information
|
Terminal Part Information
|
Pin | Wire Color | Circuit No. | Function |
|---|---|---|---|
A | PU | -- | Blower Motor Supply Voltage |
B | BK | -- | Ground |
Connector Part Information
|
Terminal Part Information
|
Pin | Wire Color | Circuit No. | Function |
|---|---|---|---|
1 | PU | -- | Medium 1 Blower Motor Control |
2 | BU | -- | Medium 2 Blower Motor Control |
3 | BK | 1850 | Ground |
4 | OG | -- | Low Blower Motor Control |
5 | GN | -- | High Blower Motor Control |
6 | PU | -- | Blower Motor Supply Voltage |
7 | BK | -- | Ground |
Connector Part Information
|
Terminal Part Information
|
Pin | Wire Color | Circuit No. | Function |
|---|---|---|---|
1 | 2.5 BK | 7448 | Brake Booster Pump Supply Voltage |
2 | 2.5 BN | 1350 | Ground |
Connector Part Information
|
Terminal Part Information
|
Pin | Wire Color | Circuit No. | Function |
|---|---|---|---|
1 | 0.5 BN | 1350 | Ground |
2 | 0.5 BN/RD | 333 | Brake Fluid Level Sensor Signal |
Connector Part Information
|
Terminal Part Information
|
Pin | Wire Color | Circuit No. | Function |
|---|---|---|---|
1 | 0.75 BN/YE | 5284 | CMP Actuator Solenoid Control - Exhaust |
2 | 0.75 RD/BU | 5291 | Ignition Voltage |
Connector Part Information
|
Terminal Part Information
|
Pin | Wire Color | Circuit No. | Function |
|---|---|---|---|
1 | 0.75 BN/YE | 5272 | CMP Actuator Solenoid Control - Intake |
2 | 0.75 RD/BU | 5291 | Ignition Voltage |
Connector Part Information
|
Terminal Part Information
|
Pin | Wire Color | Circuit No. | Function |
|---|---|---|---|
1 | 0.5 BU | 633 | Camshaft Position Sensor Signal - Exhaust |
2 | 0.5 BN/YE | 632 | Low Reference |
3 | 0.5 BK/WH | 474 | 5 Volt Reference 1 |
Connector Part Information
|
Terminal Part Information
|
Pin | Wire Color | Circuit No. | Function |
|---|---|---|---|
1 | 0.5 BU | 633 | Camshaft Position Sensor Signal - Intake |
2 | 0.5 BN/YE | 632 | Low Reference |
3 | 0.5 BK/WH | 474 | 5 Volt Reference 1 |
Connector Part Information
|
Terminal Part Information
|
Pin | Wire Color | Circuit No. | Function |
|---|---|---|---|
1 | 0.5 GY/GN | 737 | Trunk Lamp Control |
2 | 0.5 BN | 2350 | Ground |
Connector Part Information
|
Terminal Part Information
|
Pin | Wire Color | Circuit No. | Function |
|---|---|---|---|
A | 0.35 BK | 5193 | Low Reference |
B | 0.35 BU/RD | 5191 | Cellular Telephone Microphone Signal |
Connector Part Information
|
Terminal Part Information
|
Pin | Wire Color | Circuit No. | Function |
|---|---|---|---|
1 | 0.5 BN | 2550 | Ground |
2 | 0.5 BK/YE | 820 | CHMSL Supply Voltage |
Connector Part Information
|
Terminal Part Information
|
Pin | Wire Color | Circuit No. | Function |
|---|---|---|---|
A | 0.5 VT | 1935 | CPP Starter Control |
B | 0.5 BK | 1039 | ECM Starter Control |
Connector Part Information
|
Terminal Part Information
|
Pin | Wire Color | Circuit No. | Function |
|---|---|---|---|
1 | 0.18 FW | 1550 | Ground (-C3U) |
0.18 WH | 1550 | Ground (C3U) | |
2 | 0.18 FW | 1732 | Inadvertant Power Courtesy Lamp (-C3U) |
0.18 GN | 1732 | Inadvertant Power Courtesy Lamp (C3U) | |
3 | -- | -- | Not Used |
4 | 0.18 FW | 157 | Interior Lamp Control (-C3U) |
0.18 YE | 157 | Interior Lamp Control (C3U) |
Connector Part Information
|
Terminal Part Information
|
Pin | Wire Color | Circuit No. | Function |
|---|---|---|---|
1 | 0.5 BU | 573 | Crankshaft Position Sensor Signal |
2 | 0.5 BN/YE | 574 | Low Reference |
3 | 0.5 BK/WH | 474 | 5 Volt Reference 1 |
Connector Part Information
|
Terminal Part Information
|
Pin | Wire Color | Circuit No. | Function |
|---|---|---|---|
1-2 | -- | -- | Not Used |
3 | 0.5 BK | 1039 | Run/Crank Ignition 1 Voltage |
4 | 0.5 GY | 379 | Cruise Control Clutch Pedal Position Switch Signal |
Connector Part Information
|
Terminal Part Information
|
Pin | Wire Color | Circuit No. | Function |
|---|---|---|---|
1 | 0.5 GN | 5060 | Low Speed GMLAN Serial Data |
2 | 0.5 BN/VT | 1132 | DLC Class 2 Serial Data |
3 | 0.5 GN | 5169 | Mid Speed GMLAN Serial Data (+) |
4 | 0.5 BN | 2150 | Ground |
5 | 0.5 BN | 2150 | Ground |
6 | 0.5 GN | 2500 | High Speed GMLAN Serial Data (+) |
7 | 0.5 GN/WH | 377 | Serial Data |
8-10 | -- | -- | Not Used |
11 | 0.5 WH | 5170 | Mid Speed GMLAN Serial Data (-) |
12-13 | -- | -- | Not Used |
14 | 0.5 WH | 2501 | High Speed GMLAN Serial Data (-) |
15 | -- | -- | Not Used |
16 | 0.75 RD | 1442 | Battery Positive Voltage |
Connector Part Information
|
Terminal Part Information
|
Pin | Wire Color | Circuit No. | Function |
|---|---|---|---|
1-4 | -- | -- | Not Used |
5 | 0.5 BN | 1550 | Ground |
6 | 0.5 RD/BU | 1732 | Inadvertant Power Courtesy Lamp |
7 | 0.5 GY | 157 | Interior Lamp Control |
8-13 | -- | -- | Not Used |
14 | 0.5 GY/YE | 1382 | LED Dimming Signal |
15-18 | -- | -- | Not Used |
Connector Part Information
|
Terminal Part Information
|
Pin | Wire Color | Circuit No. | Function |
|---|---|---|---|
1 | -- | -- | Not Used |
2 | 0.75 GY/WH | 7305 | Emergency Door Unlock 2 Signal |
3-5 | -- | -- | Not Used |
6 | 0.5 WH/GY | 49 | Driver Door Ajar Switch Signal |
7 | 0.5 BN | 1550 | Ground |
8 | 0.75 WH | 7304 | Emergency Door Unlock 1 Signal |
9-10 | -- | -- | Not Used |
Connector Part Information
|
Terminal Part Information
|
Pin | Wire Color | Circuit No. | Function |
|---|---|---|---|
1 | -- | -- | Not Used |
2 | 0.75 GY/WH | 7305 | Emergency Door Unlock 2 Signal |
3 | -- | -- | Not Used |
4 | 0.5 BN | 2350 | Ground |
5 | 0.5 GY | 747 | Left Rear Door Ajar Switch Signal |
6 | 0.75 WH | 7304 | Emergency Door Unlock 1 Signal |
Connector Part Information
|
Terminal Part Information
|
Pin | Wire Color | Circuit No. | Function |
|---|---|---|---|
1 | -- | -- | Not Used |
2 | 0.75 GY/WH | 7305 | Emergency Door Unlock 2 Signal |
3-5 | -- | -- | Not Used |
6 | 0.5 GY | 746 | Right Front Door Ajar Switch Signal |
7 | 0.5 BN | 2050 | Ground |
8 | 0.75 WH | 7304 | Emergency Door Unlock 1 Signal |
9-10 | -- | -- | Not Used |
Connector Part Information
|
Terminal Part Information
|
Pin | Wire Color | Circuit No. | Function |
|---|---|---|---|
1 | 2.5 RD | 342 | Battery Positive Voltage |
2 | 0.5 VT | 7306 | Emergency Door Unlock Control |
3 | 1.5 GY/WH | 7305 | Emergency Door Unlock 1 Signal |
4 | 1.5 RD | 195 | Door Unlock Control |
5 | 1.5 BN | 2350 | Ground |
Connector Part Information
|
Terminal Part Information
|
Pin | Wire Color | Circuit No. | Function |
|---|---|---|---|
1 | -- | -- | Not Used |
2 | 0.75 GY/WH | 7305 | Emergency Door Unlock 2 Signal |
3 | -- | -- | Not Used |
4 | 0.5 BN | 2350 | Ground |
5 | 0.5 GY | 748 | Right Rear Door Ajar Switch Signal |
6 | 0.75 WH | 7304 | Emergency Door Unlock 1 Signal |
Connector Part Information
|
Terminal Part Information
|
Pin | Wire Color | Circuit No. | Function |
|---|---|---|---|
1 | 2.5 RD | 342 | Battery Positive Voltage |
2 | 0.5 VT | 7306 | Emergency Door Unlock Control |
3 | 1.5 WH | 7304 | Emergency Door Unlock 2 Signal |
4 | 1.5 WH | 194 | Door Lock Control |
5 | 2.5 RD | 342 | Battery Positive Voltage |
Connector Part Information
|
Terminal Part Information
|
Pin | Wire Color | Circuit No. | Function |
|---|---|---|---|
1 | 0.75 BN | 1750 | Ground |
2 | 0.75 BN | 1750 | Ground (UAG) |
3 | 0.75 RD | 3140 | Battery Positive Voltage (UAG) |
4 | -- | -- | Not Used |
5 | 0.75 RD | 3140 | Battery Positive Voltage |
6-18 | -- | -- | Not Used |
19 | 0.5 WH | 5170 | Mid Speed GMLAN Serial Data (-) |
20 | 0.5 GN | 5169 | Mid Speed GMLAN Serial Data (+) |
21 | -- | -- | Not Used |
22 | 0.5 GN | 5169 | Mid Speed GMLAN Serial Data (+) |
23 | 0.5 WH | 5170 | Mid Speed GMLAN Serial Data (-) |
24 | -- | -- | Not Used |
25 | 0.5 GN | 5060 | Low Speed GMLAN Serial Data |
26-27 | -- | -- | Not Used |
28 | 0.5 GN | 5060 | Low Speed GMLAN Serial Data |
29-32 | -- | -- | Not Used |
Connector Part Information
|
Terminal Part Information
|
Pin | Wire Color | Circuit No. | Function |
|---|---|---|---|
1 | 4 RD | 3240 | Battery Positive Voltage |
2 | 0.5 BN/BU | 885 | Low Reference |
3 | 0.5 BU | 884 | Wheel Speed Sensor Signal - Left Rear |
4 | 0.5 GN/BK | 1338 | Yaw Rate Sensor Signal 2 |
5 | 0.5 BU/RD | 872 | Wheel Speed Sensor Signal - Right Front |
6 | 0.5 BN/RD | 833 | Low Reference |
7 | -- | -- | Not Used |
8 | 0.5 BN/WH | 873 | Low Reference |
9 | 0.5 BU/WH | 830 | Wheel Speed Sensor Signal - Left Front |
10 | 0.5 GY/BK | 1337 | Yaw Rate Sensor Volt Reference |
11 | 0.5 BU/RD | 882 | Wheel Speed Sensor Signal - Right Rear |
12 | 0.5 BN/RD | 883 | Low Reference |
13 | 4 BN | 1450 | Ground |
14 | 4 RD | 3340 | Battery Positive Voltage |
15-16 | -- | -- | Not Used |
17 | 0.5 BU/BN | 1903 | AAS Wheel Speed Sensor Signal - Left Front |
18 | -- | -- | Not Used |
19 | 0.5 GN | 2500 | High Speed GMLAN Serial Data (+) |
20 | 0.75 BK | 3 | Run/Crank Ignition 1 Voltage |
21 | 0.5 WH | 2501 | High Speed GMLAN Serial Data (-) |
22 | 0.5 BN/GY | 17 | Stop Lamp Switch Signal |
23 | 0.5 GN | 2500 | High Speed GMLAN Serial Data (+) |
24 | 0.5 RD | 1202 | Battery Positive Voltage |
25 | 0.5 WH | 2501 | High Speed GMLAN Serial Data (-) |
26 | 4 BN | 1450 | Ground |
Connector Part Information
|
Terminal Part Information
|
Pin | Wire Color | Circuit No. | Function |
|---|---|---|---|
1 | 0.5 BU/RD | 2121 | Ignition Control 1 |
2 | 0.5 BU/RD | 2121 | Ignition Control 1 |
3 | 0.5 YE/VT | 5041 | Intake Manifold Control 1 |
4 | -- | -- | Not Used |
5 | 0.5 BU/YE | 231 | Oil Pressure Switch Signal |
6 | 0.5 BK | 808 | Low Reference |
7 | 0.5 BU | 5042 | Intake Manifold Tuning Valve Senser Signal |
8 | 0.5 BU | 486 | Throttle Position Sensor Signal 2 |
9 | 0.5 BU | 485 | Throttle Position Sensor Signal 1 |
10 | 0.5 GY/BK | 496 | KS Signal |
11 | 0.5 BK | 808 | Low Reference |
12 | 0.5 BN/GN | 472 | Intake Air Temperature Sensor Signal |
13-14 | -- | -- | Not Used |
15 | 0.5 BK/WH | 474 | 5 Volt Reference 1 |
16 | 0.5 BN/YE | 5041 | Low Reference |
17 | 0.5 BU/WH | 2122 | Ignition Control 2 |
18 | 0.5 BU/WH | 2122 | Ignition Control 2 |
19 | 0.5 BK/BN | 1423 | Heated Oxygen Sensor Heater Low Control Sensor 2 |
20 | -- | -- | Not Used |
21 | 0.5 BU | 633 | Camshaft Position Sensor Signal |
22 | 0.5 BU | 633 | Camshaft Position Sensor Signal |
23 | 0.5 BN/YE | 1664 | Heated Oxygen Sensor Low Signal Sensor 1 |
24 | 0.5 BN/YE | 632 | Low Reference |
25 | 0.5 BN/YE | 2761 | Low Reference |
26 | 0.5 BN/YE | 632 | Low Reference |
27 | 0.5 GY/RD | 1716 | KS Signal |
28 | 0.5 BK/VT | 469 | Low Reference |
29 | 0.5 BN/YE | 1669 | Heated Oxygen Sensor Low Signal Sensor 2 |
30 | -- | -- | Not Used |
31 | 0.5 YE/BK | 581 | Throttle Actuator Control Open |
32 | 0.5 BK/WH | 581 | Throttle Actuator Control Open |
33 | 0.5 BU/GN | 2123 | Ignition Control 3 |
34 | 0.5 BU/GN | 2123 | Ignition Control 3 |
35 | 0.5 BU | 573 | Crankshaft Position Sensor Signal 1 |
36 | 0.5 BU/WH | 1174 | Oil Level Switch Signal |
37-38 | -- | -- | Not Used |
39 | 0.5 BN/YE | 574 | Low Reference |
40 | 0.5 BN/WH | 2752 | Low Reference |
41 | 0.5 BK/WH | 2701 | 5 Volt Reference 2 |
42 | 0.5 BK/WH | 474 | 5 Volt Reference 1 |
43 | 0.5 BN/YE | 650 | Low Reference |
44 | 0.5 BK | 808 | Low Reference |
45 | -- | -- | Not Used |
46 | 0.5 BN/WH | 428 | EVAP Canister Purge Solenoid Control |
47 | 0.5 BN/WH | 582 | Throttle Actuator Control Close |
48 | 0.5 BN/WH | 582 | Throttle Actuator Control Close |
49 | 0.5 BU/YE | 2124 | Ignition Control 4 |
50 | 0.5 BU/YE | 2124 | Ignition Control 4 |
51-52 | -- | -- | Not Used |
53 | 0.5 BU | 1665 | Heated Oxygen Sensor High Signal Sensor 1 |
54 | 0.5 BU | 1668 | Heated Oxygen Sensor High Signal Sensor 2 |
55 | 0.75 BN/YE | 5284 | CMP Actuator Solenoid Control Exhaust |
56 | 0.75 BN/YE | 5272 | CMP Actuator Solenoid Control Intake |
57 | -- | -- | Not Used |
58 | 0.75 BK/BN | 676 | Heated Oxygen Sensor Heater High Control Sensor 1 |
59 | 0.5 GN/WH | 492 | Mass Air Flow Sensor Signal |
60 | 0.5 BU/RD | 410 | Engine Coolant Temperature Sensor Signal |
61 | 0.5 BN/BK | 1745 | Fuel Injector Control 2 |
62 | 0.5 BN/VT | 1746 | Fuel Injector Control 3 |
63 | 0.5 BN/YE | 844 | Fuel Injector Control 4 |
64 | 0.5 BN/RD | 1744 | Fuel Injector Control 1 |
Connector Part Information
|
Terminal Part Information
|
Pin | Wire Color | Circuit No. | Function |
|---|---|---|---|
1 | 0.5 BK | 998 | MIL Control |
2-5 | -- | -- | Not Used |
6 | 0.5 GN | 2501 | High Speed GMLAN Serial Data (-) |
7-9 | -- | -- | Not Used |
10 | 0.5 RD/WH | 335 | Low Speed Cooling Fan Relay Control |
11 | -- | -- | Not Used |
12 | 0.5 BN/PU | 1 | Brake Booster Pump Relay Control |
13-15 | -- | -- | Not Used |
16 | 0.5 BK/YE | 379 | Cruise Control Clutch Pedal Position Switch Signal |
17-22 | -- | -- | Not Used |
23 | 0.5 BK/WH | 2700 | 5 Volt Reference 1 |
24 | 0.5 BK/WH | 1164 | 5 Volt Reference 1 |
25 | 0.5 BK/WH | 1274 | 5 Volt Reference 2 |
26 | 0.5 BN | 1271 | Low Reference |
27 | 0.5 BN | 1272 | Low Reference |
28-29 | -- | -- | Not Used |
30 | 0.5 BN/BU | 5514 | Low Reference |
31 | 0.75 RD | 5290 | Ignition Voltage |
32 | 0.5 RD | 3540 | Battery Positive Voltage |
33-34 | -- | -- | Not Used |
35 | 0.5 BN/BU | 6014 | Low Reference |
36 | 0.5 BN/VT | 61 | Low Reference |
37 | -- | -- | Not Used |
38 | 0.5 BU | 2500 | High Speed GMLAN Serial Data (+) |
39 | 0.5 BN/BU | 251 | Low Reference |
40-41 | -- | -- | Not Used |
42 | 0.5 BU/YE | 890 | Fuel Tank Pressure Sensor Signal |
43 | 0.5 BN/GN | 636 | Outside Ambient Air Temperature Sensor Signal |
44 | 0.5 BU | 5266 | Ambient Air Pressure Sensor Signal |
45 | 0.5 BK/YE | 848 | Brake Switch Signal |
46 | 0.5 BN/YE | 2759 | Low Reference |
47 | 0.75 RD | 5290 | Ignition Voltage |
48 | 0.5 BN/VT | 1 | Brake Booster Vacuum Pump Control |
49 | 0.5 BN/GN | 465 | Fuel Pump Primary Relay Control |
50-51 | -- | -- | Not Used |
52 | 0.5 BU/WH | 225 | Generator Turn On Signal |
53 | 0.5 BK/YE | 1162 | Accelerator Pedal Position Signal 2 |
54 | 0.5 BK/YE | 1161 | Accelerator Pedal Position Signal 1 |
55 | 0.5 GN/BU | 30 | Fuel Level Sensor Signal |
56 | 0.5 YE/RD | 203 | A/C High Pressure Switch Signal |
57 | 0.5 BK/YE | 340 | Stop Lamp Switch Signal |
58 | 0.5 BN | 2350 | EVAP Canister Vent Solenoid Control |
59 | 0.5 RD/WH | 473 | High Speed Cooling Fan Relay Control |
60 | 0.5 BU/BK | 1039 | ECM Starter Control |
61 | 0.5 RD/WH | 5267 | Turbo Cooling Fan Relay Control |
62 | 0.5 BN/YE | 5069 | Engine Main Relay Coil Control |
63 | -- | -- | Not Used |
64 | 0.5 BK | 39 | Run/Crank Ignition 1 Voltage |
Terminal Part Information
|
Pin | Wire Color | Circuit No. | Function |
|---|---|---|---|
-- | 2.5 BN | 650 | Ground |
Connector Part Information
|
Terminal Part Information
|
Pin | Wire Color | Circuit No. | Function |
|---|---|---|---|
1 | 0.5 BN/GN | 68 | Low Coolant Level Indicator Control |
2 | 0.5 BN | 1350 | Ground |
Connector Part Information
|
Terminal Part Information
|
Pin | Wire Color | Circuit No. | Function |
|---|---|---|---|
1 | 0.5 BU/RD | 410 | Engine Coolant Temperature Sensor Signal |
2 | 0.5 BN/YE | 2761 | Low Reference |
Connector Part Information
|
Terminal Part Information
|
Pin | Wire Color | Circuit No. | Function |
|---|---|---|---|
A | 6 BN | 1250 | Ground |
B | 6 RD/YE | 409 | Cooling Fan Motor Supply Voltage 1 |
C | 6 RD/WH | 532 | Cooling Fan Motor Supply Voltage 2 |
Connector Part Information
|
Terminal Part Information
|
Pin | Wire Color | Circuit No. | Function |
|---|---|---|---|
A | 6 BN | 1250 | Ground |
B | -- | -- | Not Used |
C | 6 RD/YE | 409 | Cooling Fan Motor Supply Voltage 2 |
Connector Part Information
|
Terminal Part Information
|
Pin | Wire Color | Circuit No. | Function |
|---|---|---|---|
A | 6 BN/GN | 504 | Low Reference |
B | -- | -- | Not Used |
C | 6 RD/WH | 532 | Cooling Fan Motor Supply Voltage 1 |
Connector Part Information
|
Terminal Part Information
|
Pin | Wire Color | Circuit No. | Function |
|---|---|---|---|
1 | 0.5 BU/WH | 1174 | Oil Level Switch Signal |
2 | 0.5 BN/YE | 650 | Ground |
Connector Part Information
|
Terminal Part Information
|
Pin | Wire Color | Circuit No. | Function |
|---|---|---|---|
1 | 0.5 BU/YE | 231 | Oil Pressure Switch Signal |
Connector Part Information
|
Terminal Part Information
|
Pin | Wire Color | Circuit No. | Function |
|---|---|---|---|
1 | 0.5 RD/BU | 5291 | Ignition Voltage |
2 | 0.5 BN/WH | 428 | EVAP Canister Purge Solenoid Control |
Connector Part Information
|
Terminal Part Information
|
Pin | Wire Color | Circuit No. | Function |
|---|---|---|---|
A | 1 BU | 5372 | Ignition Voltage |
B | 1 BN | 2350 | EVAP Canister Vent Solenoid Control |
Connector Part Information
|
Terminal Part Information
|
Pin | Wire Color | Circuit No. | Function |
|---|---|---|---|
1 | 1.5 BN | 1150 | Ground |
2 | 1.5 BN/GY | 5061 | Left Front Fog Lamp Supply Voltage |
Connector Part Information
|
Terminal Part Information
|
Pin | Wire Color | Circuit No. | Function |
|---|---|---|---|
1 | 1.5 BN | 1050 | Ground |
2 | 1.5 BN/GN | 5062 | Right Front Fog Lamp Supply Voltage |
Connector Part Information
|
Terminal Part Information
|
Pin | Wire Color | Circuit No. | Function |
|---|---|---|---|
1 | 0.75 BU/BK | 6801 | Fuel Door Lock Control |
2 | 0.75 BU | 6800 | Fuel Door Unlock Control |
Connector Part Information
|
Terminal Part Information
|
Pin | Wire Color | Circuit No. | Function |
|---|---|---|---|
1 | 0.5 RD/BU | 260 | Fuel Injection Control |
2 | 0.5 BN/RD | 1744 | Fuel Injector Control 1 |
Connector Part Information
|
Terminal Part Information
|
Pin | Wire Color | Circuit No. | Function |
|---|---|---|---|
1 | 0.5 RD/BU | 260 | Fuel Injection Control |
2 | 0.5 BN/BK | 1745 | Fuel Injector Control 2 |
Connector Part Information
|
Terminal Part Information
|
Pin | Wire Color | Circuit No. | Function |
|---|---|---|---|
1 | 0.5 RD/BU | 260 | Fuel Injection Control |
2 | 0.5 BN/VT | 1746 | Fuel Injector Control 3 |
Connector Part Information
|
Terminal Part Information
|
Pin | Wire Color | Circuit No. | Function |
|---|---|---|---|
1 | 0.5 RD/BU | 260 | Fuel Injection Control |
2 | 0.5 BN/YE | 844 | Fuel Injector Control 4 |
Connector Part Information
|
Terminal Part Information
|
Pin | Wire Color | Circuit No. | Function |
|---|---|---|---|
A | 1.5 BN | 2350 | Ground |
B | 0.5 BN/YE | 251 | Low Reference |
C | 0.5 GN/BU | 30 | Fuel Level Sensor Signal |
D | 1.5 RD/BU | 120 | Fuel Pump Supply Voltage |
Connector Part Information
|
Terminal Part Information
|
Pin | Wire Color | Circuit No. | Function |
|---|---|---|---|
1 | 0.5 BU/WH | 890 | Fuel Tank Pressure Sensor Signal |
2 | 0.5 BK/GN | 2759 | Low Reference |
3 | 0.5 BK/YE | 2709 | 5 Volt Reference 1 |
Connector Part Information
|
Pin | Wire Color | Circuit No. | Function |
|---|---|---|---|
-- | 16 RD | 1 | Battery Positive Voltage |
Connector Part Information
|
Terminal Part Information
|
Pin | Wire Color | Circuit No. | Function |
|---|---|---|---|
1 | 0.75 BU/WH | 225 | Generator Turn On Signal |
2 | -- | -- | Not Used |
Connector Part Information
|
Terminal Part Information
|
Pin | Wire Color | Circuit No. | Function |
|---|---|---|---|
1 | BK | 1150 | Ground |
2 | BK | 711 | Left Headlamp High Beam Supply Voltage |
Connector Part Information
|
Terminal Part Information
|
Pin | Wire Color | Circuit No. | Function |
|---|---|---|---|
A | BK | 1150 | Ground |
B | BK | 712 | Left Headlamp Low Beam Supply Voltage |
Connector Part Information
|
Terminal Part Information
|
Pin | Wire Color | Circuit No. | Function |
|---|---|---|---|
1 | BK | 1050 | Ground |
2 | BK | 311 | Right Headlamp High Beam Supply Voltage |
Connector Part Information
|
Terminal Part Information
|
Pin | Wire Color | Circuit No. | Function |
|---|---|---|---|
A | BK | 1050 | Ground |
B | BK | 312 | Right Headlamp Low Beam Supply Voltage |
Connector Part Information
|
Terminal Part Information
|
Pin | Wire Color | Circuit No. | Function |
|---|---|---|---|
1 | -- | -- | Not Used |
2 | 0.5 GY/GN | 13 | Headlamp Switch Park Lamp Signal |
3 | -- | -- | Not Used |
4 | 0.5 GY/VT | 44 | Instrument Panel Lamp Dimmer Switch Signal |
5 | 0.5 YE | 1201 | Headlamp Low Beam |
6 | 0.5 BN | 1650 | Ground |
7 | 0.5 BK | 1039 | Run/Crank Ignition 1 Voltage |
8 | 0.5 GY/BU | 192 | Front Fog Lamp Switch Signal (T96) |
9-10 | -- | -- | Not Used |
11 | 0.5 BN/YE | 1651 | Low Reference |
12 | -- | -- | Not Used |
Connector Part Information
|
Terminal Part Information
|
Pin | Wire Color | Circuit No. | Function |
|---|---|---|---|
1 | 0.75 BK/BN | 676 | Heated Oxygen Sensor Heater High Control Sensor 1 |
2 | 0.5 BU | 1665 | Heated Oxygen Sensor High Signal Sensor 1 |
3 | 0.75 RD/BU | 5291 | Ignition Voltage |
4 | 0.5 BN/YE | 1664 | Heated Oxygen Sensor Low Signal Sensor 1 |
Connector Part Information
|
Terminal Part Information
|
Pin | Wire Color | Circuit No. | Function |
|---|---|---|---|
1 | 0.5 BK/BN | 1423 | Heated Oxygen Sensor Heater Low Control Sensor 2 |
2 | 0.5 BU | 1668 | Heated Oxygen Sensor High Signal Sensor 2 |
3 | 0.75 RD/BU | 5291 | Ignition Voltage |
4 | 0.5 BN/YE | 1669 | Heated Oxygen Sensor Low Signal Sensor 2 |
Connector Part Information
|
Terminal Part Information
|
Pin | Wire Color | Circuit No. | Function |
|---|---|---|---|
1 | 1 WH | 2432 | Driver Heated Seat Cushion Element Supply Voltage |
2 | 1 BN | 2150 | Ground |
1 BN | 2150 | Ground |
Connector Part Information
|
Terminal Part Information
|
Pin | Wire Color | Circuit No. | Function |
|---|---|---|---|
1 | 1 WH | 2436 | Passenger Heated Seat Cushion Element Supply Voltage |
2 | 1 BN | 2150 | Ground |
1 BN | 2150 | Ground |
Connector Part Information
|
Terminal Part Information
|
Pin | Wire Color | Circuit No. | Function |
|---|---|---|---|
1 | 0.5 BN/GN | 109 | Hood Ajar Switch Signal |
2 | 0.5 BN | 1350 | Ground |
Connector Part Information
|
Terminal Part Information
|
Pin | Wire Color | Circuit No. | Function |
|---|---|---|---|
1 | 1.5 BN/WH | 2026 | Low Note Horn Enable Signal |
2 | 1.5 BN | 1050 | Ground |
Connector Part Information
|
Terminal Part Information
|
Pin | Wire Color | Circuit No. | Function |
|---|---|---|---|
1 | WH | -- | Air Temperature Door Control A |
2 | PU | -- | Mode Door Control A |
3 | -- | -- | Not Used |
4 | BN | -- | Recirculation Door Control A |
5 | OG | 1542 | Battery Positive Voltage |
6 | YE/GN | 839 | Run/Crank Ignition 1 Voltage |
7 | BK | -- | Low Reference |
8 | GY | -- | Air Temperature Actuator Sensor Signal |
9 | YE | -- | Mode Actuator Sensor Signal |
10 | -- | -- | Not Used |
11 | BK/WH | 66 | A/C Request Signal |
12 | BN/WH | 193 | Rear Defog Relay Control |
13 | BU | 292 | Rear Defog Switch Signal |
14-16 | -- | -- | Not Used |
17 | RD | -- | Air Temperature Door Control B |
18 | BU/RD | -- | Mode Door Control B |
19 | -- | -- | Not Used |
20 | OG/YE | -- | Recirculation Door Control B |
21 | GN | 1382 | LED Dimming Signal |
22 | BN/BK | -- | 8-Volt Reference |
23 | YE/BK | 1650 | Ground |
24-32 | -- | -- | Not Used |
Connector Part Information
|
Terminal Part Information
|
Pin | Wire Color | Circuit No. | Function |
|---|---|---|---|
1 | GN | -- | High Blower Motor Control |
2 | BU | -- | Medium 2 Blower Motor Control |
3 | PU | -- | Medium 1 Blower Motor Control |
4 | OG | -- | Low Blower Motor Control |
5 | RD | 1241 | Run Ignition 3 Voltage |
Connector Part Information
|
Terminal Part Information
|
Pin | Wire Color | Circuit No. | Function |
|---|---|---|---|
1 | 0.5 BN | 1650 | Ground |
2 | 0.5 BK/YE | 1733 | Inadvertant Power Courtesy Lamp |
Connector Part Information
|
Terminal Part Information
|
Pin | Wire Color | Circuit No. | Function |
|---|---|---|---|
1 | 2.5 BN | 650 | Ground |
2 | 1.5 BK | 39 | Run/Crank Ignition 1 Voltage |
3 | 1 BU/YE | 2124 | Ignition Control 4 |
4 | 1 BU/GN | 2123 | Ignition Control 3 |
5 | 1 BU/WH | 2122 | Ignition Control 2 |
6 | 1 BU/RD | 2121 | Ignition Control 1 |
Connector Part Information
|
Terminal Part Information
|
Pin | Wire Color | Circuit No. | Function |
|---|---|---|---|
1 | 0.5 BK/WH | 6168 | Middle Front Impact Sensing Module Supply Voltage |
2 | 0.5 OG/BK | 6169 | Middle Front Impact Sensing Module Signal |
Connector Part Information
|
Terminal Part Information
|
Pin | Wire Color | Circuit No. | Function |
|---|---|---|---|
1 | 0.5 YE/GY | 6776 | Middle Front Impact Sensing Module 2 Supply Voltage |
2 | 0.5 GN/WH | 6777 | Middle Front Impact Sensing Module 2 Signal |
Connector Part Information
|
Terminal Part Information
|
Pin | Wire Color | Circuit No. | Function |
|---|---|---|---|
A | 0.5 BK | 1539 | Run/Crank Ignition 1 Voltage |
B | 0.5 OG/WH | 5018 | Occupant Sensor Serial Data |
C | 0.5 OG/VT | 353 | Passenger IP Module Suppression Indicator Control |
D | 0.5 OG/BN | 2450 | Ground |
E | 0.5 OG/BK | 371 | Passenger IP Module Disable Switch Signal |
F | -- | -- | Not Used |
Connector Part Information
|
Terminal Part Information
|
Pin | Wire Color | Circuit No. | Function |
|---|---|---|---|
1 | 0.5 OG/WH | 3024 | Passenger IP Module Stage 1 Low Control |
2 | 0.5 WH | 3025 | Passenger IP Module Stage 1 High Control |
Connector Part Information
|
Terminal Part Information
|
Pin | Wire Color | Circuit No. | Function |
|---|---|---|---|
1 | 0.5 VT | 3026 | Passenger IP Module Stage 2 Low Control |
2 | 0.5 OG/BK | 3027 | Passenger IP Module Stage 2 High Control |
Connector Part Information
|
Terminal Part Information
|
Pin | Wire Color | Circuit No. | Function |
|---|---|---|---|
1 | BU | 3020 | Steering Wheel Module Stage 1 Low Control |
2 | WH | 3021 | Steering Wheel Module Stage 1 High Control |
Connector Part Information
|
Terminal Part Information
|
Pin | Wire Color | Circuit No. | Function |
|---|---|---|---|
1 | GN | 3022 | Steering Wheel Module Stage 2 Low Control |
2 | YE | 3023 | Steering Wheel Module Stage 2 High Control |
Connector Part Information
|
Terminal Part Information
|
Pin | Wire Color | Circuit No. | Function |
|---|---|---|---|
1 | 0.5 GN | 5020 | Left Front Head Curtain Module Low Control |
2 | 0.5 OG/GN | 5019 | Left Front Head Curtain Module High Control |
Connector Part Information
|
Terminal Part Information
|
Pin | Wire Color | Circuit No. | Function |
|---|---|---|---|
1 | 0.5 GY | 5022 | Right Front Head Curtain Module Low Control |
2 | 0.5 OG/GY | 5021 | Right Front Head Curtain Module High Control |
Connector Part Information
|
Terminal Part Information
|
Pin | Wire Color | Circuit No. | Function |
|---|---|---|---|
1-14 | -- | -- | Not Used |
15 | 0.5 WH | 3025 | Passenger IP Module Stage 1 High Control |
16 | 0.5 OG/WH | 3024 | Passenger IP Module Stage 1 Low Control |
17 | 0.5 VT | 3026 | Passenger IP Module Stage 2 Low Control |
18 | 0.5 OG/BK | 3027 | Passenger IP Module Stage 2 High Control |
19-22 | -- | -- | Not Used |
23 | 0.5 OG/BK | 3023 | Steering Wheel Module Stage 2 High Control |
24 | 0.5 BK | 3022 | Steering Wheel Module Stage 2 Low Control |
25 | 0.5 VT | 3020 | Steering Wheel Module Stage 1 Low Control |
26 | 0.5 OG/VT | 3021 | Steering Wheel Module Stage 1 High Control |
27-28 | -- | -- | Not Used |
29 | 0.5 OG/WH | 5018 | Occupant Sensor Serial Data |
30 | 0.5 OG/GY | 5246 | SIR Deployed Signal |
31-33 | -- | -- | Not Used |
34 | 0.5 BU/BK | 234 | Seat Belt Indicator Control |
35 | 0.5 GN | 5060 | Low Speed GMLAN Serial Data |
36 | -- | -- | Not Used |
37 | 0.5 GN | 5060 | Low Speed GMLAN Serial Data |
38 | 0.5 GN | 5060 | Low Speed GMLAN Serial Data |
39-56 | -- | -- | Not Used |
Connector Part Information
|
Terminal Part Information
|
Pin | Wire Color | Circuit No. | Function |
|---|---|---|---|
1-15 | -- | -- | Not Used |
16 | 0.75 OG/BN | 2450 | Ground |
17 | 0.5 OG/GY | 5021 | Right Front Head Curtain Module High Control |
18 | 0.5 GY | 5022 | Right Front Head Curtain Module Low Control |
19 | 0.5 BU | 2117 | Passenger Seat Belt Pretensioner Low Control |
20 | 0.5 OG/GY | 2116 | Passenger Seat Belt Pretensioner High Control |
21 | 0.5 OG/GN | 5019 | Left Front Head Curtain Module High Control |
22 | 0.5 GN | 5020 | Left Front Head Curtain Module Low Control |
23 | 0.5 BK/WH | 2104 | Right Side Impact Module Low Control |
24 | 0.5 OG/BK | 2103 | Right Side Impact Module High Control |
25 | 0.5 OG/BN | 2118 | Driver Seat Belt Pretensioner High Control |
26 | 0.5 BN | 2119 | Driver Seat Belt Pretensioner Low Control |
27 | 0.5 BU | 2138 | Left Front Side Impact Module Low Control |
28 | 0.5 OG/BU | 2137 | Left Front Side Impact Module High Control |
29 | 0.75 BK | 3 | Run/Crank Ignition 1 Voltage |
30 | 0.5 BK/WH | 6168 | Middle Front Impact Sensing Module Supply Voltage |
31 | 0.5 OG/BK | 6169 | Middle Front Impact Sensing Module Signal |
32 | 0.5 YE/GY | 6776 | Middle Front Impact Sensing Module 2 Supply Voltage |
33 | 0.5 GN/WH | 6777 | Middle Front Impact Sensing Module 2 Signal |
34 | 0.5 BN/WH | 238 | Driver Seat Belt Switch Signal |
35 | 0.5 VT/BK | 1363 | Low Reference |
36 | 0.5 BU | 1362 | Passenger Seat Belt Switch Signal |
37 | 0.5 BU/BK | 1361 | Low Reference |
38 | 0.5 BU/YE | 5056 | Passenger Seat Position Switch Signal |
39 | 0.5 GN/WH | 2131 | Left Front Side Impact Sensing Module Supply Voltage |
40 | 0.5 OG/GN | 2132 | Left Front Side Impact Sensing Module Signal |
41 | 0.5 BN/WH | 2133 | Right Front Side Impact Sensing Module Supply Voltage |
42 | 0.5 OG/BN | 2134 | Right Front Side Impact Sensing Module Signal |
43-56 | -- | -- | Not Used |
Connector Part Information
|
Terminal Part Information
|
Pin | Wire Color | Circuit No. | Function |
|---|---|---|---|
1 | 0.5 GN/WH | 2131 | Left Front Side Impact Sensing Module Supply Voltage |
2 | 0.5 OG/GN | 2132 | Left Front Side Impact Sensing Module Signal |
Connector Part Information
|
Terminal Part Information
|
Pin | Wire Color | Circuit No. | Function |
|---|---|---|---|
1 | 0.5 BN/WH | 2133 | Right Front Side Impact Sensing Module Supply Voltage |
2 | 0.5 OG/BN | 2134 | Right Front Side Impact Sensing Module Signal |
Connector Part Information
|
Terminal Part Information
|
Pin | Wire Color | Circuit No. | Function |
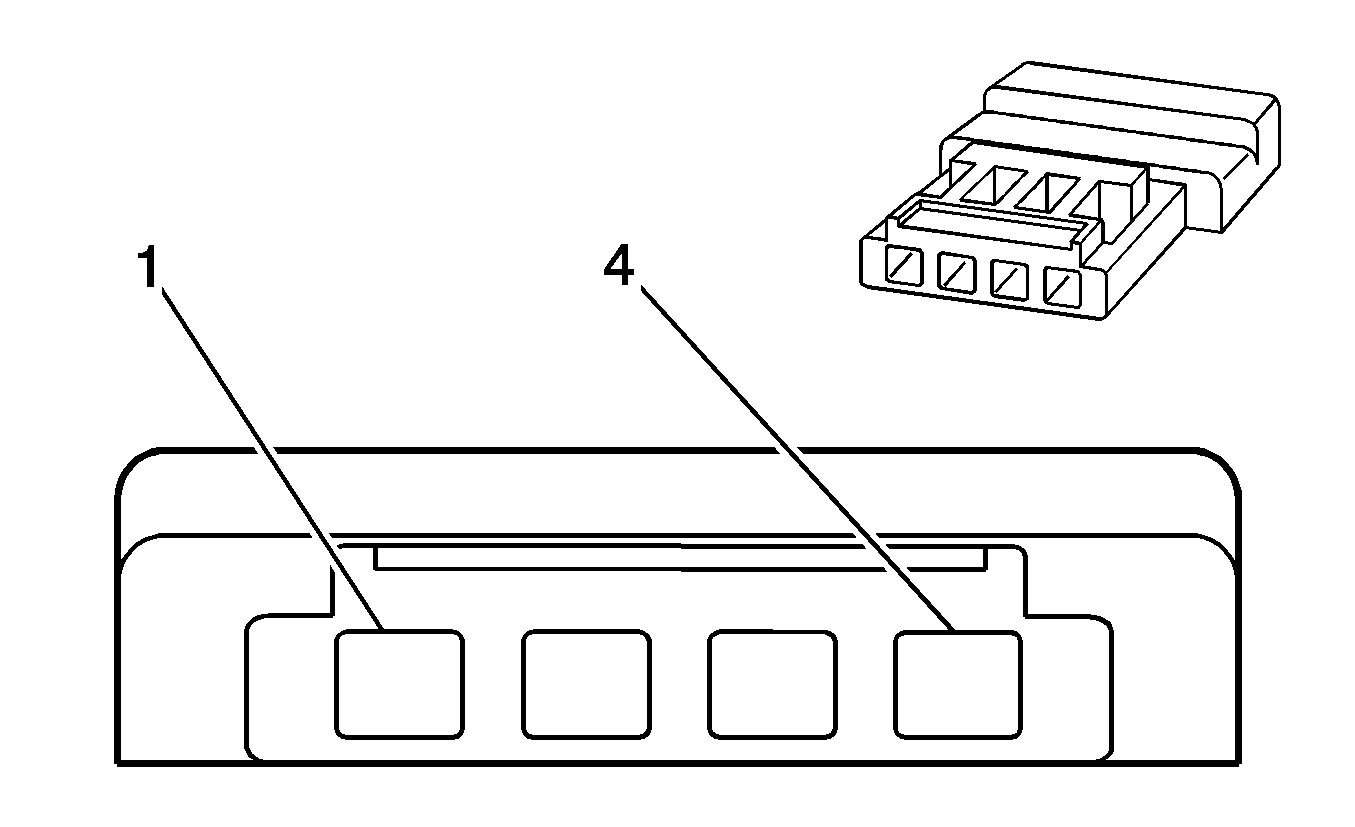
|---|---|---|---|
1-2 | -- | -- | Not Used |
3 | 0.5 YE | -- | -- |
4 | 0.5 GN | -- | -- |
5 | 0.5 BU | -- | -- |
6 | 0.5 PU | -- | -- |
Connector Part Information
|
Terminal Part Information
|
Pin | Wire Color | Circuit No. | Function |
|---|---|---|---|
1-2 | -- | -- | Not Used |
3 | 0.5 OG/VT | 353 | Passenger IP Module Suppression Indicator Control |
4 | 0.5 OG/BK | 371 | Passenger IP Module Disable Switch Signal |
5-7 | -- | -- | Not Used |
8 | 0.5 BN | 1550 | Ground |
9-10 | -- | -- | Not Used |
11 | 0.5 GN/WH | 2514 | Keypad Signal |
12 | 0.5 OG/BK | 2518 | 10-Volt Reference |
13 | 0.5 BK | 139 | Run/Crank Ignition 1 Voltage |
14 | 0.5 YE/BK | 2516 | Keypad Green LED |
15 | 0.5 BN/WH | 2517 | Keypad Red LED |
16 | -- | -- | Not Used |
Connector Part Information
|
Terminal Part Information
|
Pin | Wire Color | Circuit No. | Function |
|---|---|---|---|
1-5 | -- | -- | Not Used |
6 | 0.5 BK/WH | 292 | Rear Defog Switch Signal |
7-9 | -- | -- | Not Used |
10 | 0.5 BK/VT | 66 | A/C Request Signal (C60) |
11 | 0.5 YE/RD | 1591 | Auto LED Control |
12-13 | -- | -- | Not Used |
14 | 0.5 BN/YE | 998 | MIL Control |
15 | -- | -- | Not Used |
16 | 0.75 RD | 1742 | Battery Positive Voltage |
17 | 0.5 BK/VT | 1717 | Hazard Switch Indicator Control |
18 | -- | -- | Not Used |
19 | 0.5 GY/YE | 1382 | LED Dimming Signal |
20 | 0.5 BN | 1650 | Ground |
21 | 0.5 BN | 1650 | Ground |
22-26 | -- | -- | Not Used |
27 | 0.5 BK | 1039 | Run/Crank Ignition 1 Voltage |
28 | 0.5 GY/BU | 192 | Front Fog Lamp Switch Signal (T96) |
29 | 0.5 GY/VT | 44 | Instrument Panel Lamp Dimmer Switch Signal |
30-32 | -- | -- | Not Used |
33 | 0.5 YE | 1201 | Headlamp Low Beam |
34 | 0.5 GN | 5060 | Low Speed GMLAN Serial Data |
35 | 0.5 GN | 5060 | Low Speed GMLAN Serial Data |
36 | 0.5 BN/YE | 1651 | Low Reference |
37 | 0.5 GY/GN | 13 | Headlamp Switch Park Lamp Signal |
38 | 0.5 BN/WH | 682 | Door Lock Lock/Unlock Signal |
39 | 0.5 BK/BN | 1145 | Tire Inflation Monitor Reset Switch Signal |
40 | 0.5 GN/WH | 111 | Hazard Switch Signal |
41 | 0.5 YE/BK | 1436 | Auto Switch Signal |
42 | 0.5 BN/WH | 193 | Rear Defog Relay Control |
Connector Part Information
|
Terminal Part Information
|
Pin | Wire Color | Circuit No. | Function |
|---|---|---|---|
1 | 0.5 YE/VT | 5041 | Intake Manifold Control 1 |
2 | 0.5 RD/BU | 5291 | Ignition Voltage |
Connector Part Information
|
Terminal Part Information
|
Pin | Wire Color | Circuit No. | Function |
|---|---|---|---|
1 | 0.5 BU | 5042 | Intake Manifold Tuning Valve Sensor Signal |
2 | 0.5 BN/YE | 5041 | Low Reference |
3 | 0.5 BK/WH | 474 | 5 Volt Reference 1 |
Connector Part Information
|
Terminal Part Information
|
Pin | Wire Color | Circuit No. | Function |
|---|---|---|---|
1 | 0.5 GN/WH | 129 | Sunroof Motor Close Control |
2 | 0.75 BK | 1039 | Run/Crank Ignition 1 Voltage |
3 | 0.75 BN | 1650 | Ground |
4 | 0.5 BU/WH | 110 | Sunroof Switch Close Signal |
Connector Part Information
|
Terminal Part Information
|
Pin | Wire Color | Circuit No. | Function |
|---|---|---|---|
1 | 0.75 BK | 539 | Run/Crank Ignition 1 Voltage |
2 | 0.5 BN | 2150 | Ground |
3 | 0.5 BN/GY | 17 | Stop Lamp Switch Signal |
4 | -- | -- | Not Used |
5 | 0.5 BN/GY | 17 | Stop Lamp Switch Signal |
Connector Part Information
|
Terminal Part Information
|
Pin | Wire Color | Circuit No. | Function |
|---|---|---|---|
1 | 0.5 GY/BK | 496 | KS Signal |
2 | 0.5 GY/RD | 1716 | KS Signal |
Connector Part Information
|
Terminal Part Information
|
Pin | Wire Color | Circuit No. | Function |
|---|---|---|---|
1 | 0.5 BN | 2550 | Ground |
2 | 0.5 GY/GN | 1255 | License Supply Voltage Signal |
Connector Part Information
|
Terminal Part Information
|
Pin | Wire Color | Circuit No. | Function |
|---|---|---|---|
1 | 0.5 BN | 2550 | Ground |
2 | 0.5 GY/GN | 1255 | License Supply Voltage Signal |
Connector Part Information
|
Terminal Part Information
|
Pin | Wire Color | Circuit No. | Function |
|---|---|---|---|
1 | 0.75 BN/WH | 5799 | Lift Gate Open/Close Motor Close Control |
2 | 0.75 BN | 2550 | Ground |
3 | 0.5 BK/BU | 1303 | Liftgate Ajar Switch Signal |
4 | -- | -- | Not Used |
Connector Part Information
|
Terminal Part Information
|
Pin | Wire Color | Circuit No. | Function |
|---|---|---|---|
1 | 0.5 BU/YE | 5797 | Rear Closure Handle Switch Open Signal |
2 | -- | -- | Not Used |
3 | 0.5 BN | 2550 | Ground |
4 | -- | -- | Not Used |
Connector Part Information
|
Terminal Part Information
|
Pin | Wire Color | Circuit No. | Function |
|---|---|---|---|
1 | 0.5 BK/VT | 469 | Low Reference |
2 | 0.5 BN/GN | 472 | Intake Air Temperature Sensor Signal |
3 | 0.5 GN/WH | 492 | Mass Air Flow Sensor Signal |
4 | 0.5 RD/BU | 5291 | Ignition Voltage |
Connector Part Information
|
Terminal Part Information
|
Pin | Wire Color | Circuit No. | Function |
|---|---|---|---|
1 | BK | -- | Low Reference |
2 | YE | -- | Mode Actuator Sensor Signal |
3 | BN/BK | -- | 8V Reference |
4 | -- | -- | Not Used |
5 | PU | -- | Mode Door Control A |
6 | BU/RD | -- | Mode Door Control B |
Connector Part Information
|
Terminal Part Information
|
Pin | Wire Color | Circuit No. | Function |
|---|---|---|---|
1 | -- | -- | Not Used |
2 | 0.5 BN | 1650 | Ground |
3 | 0.5 BN/GY | 1462 | Driver Heated Seat Switch Control |
4 | 0.5 BK/BN | 1145 | Tire Inflation Monitor Reset Switch Signal |
5 | 0.5 BN/WH | 682 | Door Lock Lock/Unlock Signal |
6 | 0.5 GN/WH | 111 | Hazard Switch Signal |
7 | -- | -- | Not Used |
8 | 0.5 YE/BK | 1436 | Auto Switch Signal |
9 | 0.5 BK/YE | 1505 | Front Passenger Heated Seat Switch Control |
10 | -- | -- | Not Used |
11 | 0.5 BU/BK | 234 | Seat Belt Indicator Control |
12 | 0.5 BK | 1139 | Run/Crank Ignition 1 Voltage |
13 | 0.5 BK | 1039 | Run/Crank Ignition 1 Voltage |
14 | 0.5 VT/BN | 5968 | Driver Door Lock Status Indicator Signal |
15 | 0.5 BK/VT | 1717 | Hazard Switch Indicator Control |
16 | -- | -- | Not Used |
17 | 0.5 YE/RD | 1591 | Auto LED Control |
18 | 0.5 GY/YE | 1382 | LED Dimming Signal |
Connector Part Information
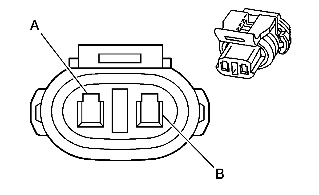
|
Terminal Part Information
|
Pin | Wire Color | Circuit No. | Function |
|---|---|---|---|
A | -- | -- | Low Reference |
B | RD | 1527 | Shift Solenoid Supply Voltage 3 |
Connector Part Information
|
Terminal Part Information
|
Pin | Wire Color | Circuit No. | Function |
|---|---|---|---|
1 | 0.5 BU/WH | 6160 | Outside Left Mirror Vertical Position Control |
2 | 0.5 GN/WH | 6159 | Outside Left Mirror Horizontal Position Control |
3 | 0.5 BN | 6163 | Outside Mirror Position Motor Drain Wire |
4-7 | -- | -- | Not Used |
8 | 0.75 WH/BK | 2267 | Mirror Heating Element Supply Voltage |
9 | 0.75 BN | 1550 | Ground |
10-18 | -- | -- | Not Used |
Connector Part Information
|
Terminal Part Information
|
Pin | Wire Color | Circuit No. | Function |
|---|---|---|---|
1 | 0.5 BU/BK | 6162 | Outside Right Mirror Vertical Position Control |
2 | 0.5 GN/BK | 6161 | Outside Right Mirror Horizontal Position Control |
3 | 0.5 BN | 6163 | Outside Mirror Position Motor Drain Wire |
4-7 | -- | -- | Not Used |
8 | 0.75 WH/BK | 2267 | Mirror Heating Element Supply Voltage |
9 | 0.75 BN | 1550 | Ground |
10-18 | -- | -- | Not Used |
Connector Part Information
|
Terminal Part Information
|
Pin | Wire Color | Circuit No. | Function |
|---|---|---|---|
1 | 0.5 BN/RD | 1134 | Park Brake Switch Signal |
Connector Part Information
|
Terminal Part Information
|
Pin | Wire Color | Circuit No. | Function |
|---|---|---|---|
1 | 0.75 WH | 771 | Transmission Position Switch Bit 1 Signal |
2 | 0.75 GN/WH | 772 | Transmission Position Switch Bit 2 Signal |
3 | 0.75 GY | 773 | Transmission Position Switch Bit 3 Signal |
4 | 0.75 WH/YE | 1371 | Transmission Position Switch Bit 4 Signal |
5 | -- | -- | Not Used |
6 | 2.5 BK/RD | 6 | Starter Solenoid Crank Voltage |
7 | 0.75 BK/WH | 5007 | Reverse Switch Signal |
8 | 0.75 BK | 539 | Run/Crank Ignition 1 Voltage |
9 | 0.75 BN | 650 | Ground |
10 | 2.5 BK/RD | 6 | Starter Solenoid Crank Voltage |
Connector Part Information
|
Terminal Part Information
|
Pin | Wire Color | Circuit No. | Function |
|---|---|---|---|
-- | BK | 709 | Left Park Lamp Supply Voltage |
-- | BK | 1150 | Ground |
Connector Part Information
|
Terminal Part Information
|
Pin | Wire Color | Circuit No. | Function |
|---|---|---|---|
-- | BK | 309 | Right Park Lamp Supply Voltage |
-- | BK | 1050 | Ground |
Connector Part Information
|
Terminal Part Information
|
Pin | Wire Color | Circuit No. | Function |
|---|---|---|---|
1 | 0.5 BK | 639 | Run/Crank Ignition 1 Voltage |
2 | 0.75 GN | 2500 | High Speed GMLAN Serial Data (+) |
3 | 0.75 WH | 2501 | High Speed GMLAN Serial Data (-) |
Connector Part Information
|
Terminal Part Information
|
Pin | Wire Color | Circuit No. | Function |
|---|---|---|---|
1 | 10 RD | 702 | Battery Positive Voltage |
2 | 10 BN | 150 | Ground |
Connector Part Information
|
Terminal Part Information
|
Pin | Wire Color | Circuit No. | Function |
|---|---|---|---|
A | GN | 5503 | Low Reference |
B | OG | 1530 | Transmission Mainline Pressure Solenoid Control |
Connector Part Information
|
Terminal Part Information
|
Pin | Wire Color | Circuit No. | Function |
|---|---|---|---|
1 | 0.75 WH | 46 | Right Rear Speaker (+) |
2 | 0.75 YE | 200 | Right Front Speaker (+) |
3 | 0.75 BU | 201 | Left Front Speaker (+) |
4 | 0.75 GN | 199 | Left Rear Speaker (+) |
5 | 0.75 BN/WH | 115 | Right Rear Speaker Signal (-) |
6 | 0.75 BN/YE | 117 | Right Front Speaker Signal (-) |
7 | 0.75 BN/BU | 118 | Left Front Speaker Signal (-) |
8 | 0.75 BN/GN | 116 | Left Rear Speaker Signal (-) |
9 | 0.5 GN | 5169 | Mid Speed GMLAN Serial Data (+) |
10 | 0.5 WH | 5170 | Mid Speed GMLAN Serial Data (-) |
11 | 0.5 BK | 693 | Cellular Telephone Mute Signal |
12 | 2.5 BN | 1750 | Ground |
13 | -- | -- | Not Used |
14 | 0.5 WH/BN | 1960 | Front Center Speaker (-) |
15 | 2.5 RD | 3040 | Battery Positive Voltage |
16 | 0.5 YE/WH | 1860 | Front Center Speaker (+) |
17-30 | -- | -- | Not Used |
31 | 0.35 VT/WH | 5839 | Left Auxiliary Audio Signal 2 |
32 | 0.35 VT/RD | 5841 | Right Auxiliary Audio Signal 2 |
33 | -- | -- | Not Used |
34 | 0.5 YE | 658 | Cellular Telephone Voice Signal |
35-37 | -- | -- | Not Used |
38 | 0.35 BK | 5842 | Auxiliary Audio Screen 2 |
39 | -- | -- | Not Used |
40 | 0.5 YE/BN | 659 | Low Reference |
Connector Part Information
|
Terminal Part Information
|
Pin | Wire Color | Circuit No. | Function |
|---|---|---|---|
1 | 2.5 BK | 293 | Rear Defog Element Supply Voltage |
Connector Part Information
|
Terminal Part Information
|
Pin | Wire Color | Circuit No. | Function |
|---|---|---|---|
1 | 2.5 BN | 2550 | Ground |
Connector Part Information
|
Terminal Part Information
|
Pin | Wire Color | Circuit No. | Function |
|---|---|---|---|
A | 1.5 BU | 393 | Rear Window Wiper Motor Control |
B | 1.5 BN | 2550 | Ground |
C | 1.5 BK | 1939 | Run/Crank Ignition 1 Voltage |
Connector Part Information
|
Terminal Part Information
|
Pin | Wire Color | Circuit No. | Function |
|---|---|---|---|
A | BN | -- | Recirculation Door Control A |
B | OG/YE | -- | Recirculation Door Control B |
Connector Part Information
|
Terminal Part Information
|
Pin | Wire Color | Circuit No. | Function |
|---|---|---|---|
A | 0.5 GY/BK | 2114 | Left Turn Signal Lamp Supply Voltage |
B | 0.5 BN | 1150 | Ground |
Connector Part Information
|
Terminal Part Information
|
Pin | Wire Color | Circuit No. | Function |
|---|---|---|---|
A | 0.5 GY/GN | 2115 | Right Turn Signal Lamp Supply Voltage |
B | 0.5 BN | 1050 | Ground |
Connector Part Information
|
Terminal Part Information
|
Pin | Wire Color | Circuit No. | Function |
|---|---|---|---|
1 | 0.5 BN | 1361 | Low Reference |
2 | 0.35 BK | 5056 | Passenger Seat Position Switch Signal |
Connector Part Information
|
Terminal Part Information
|
Pin | Wire Color | Circuit No. | Function |
|---|---|---|---|
1 | 0.5 BK/WH | 1414 | Left Front Turn Signal Switch Signal |
2 | 0.5 BN | 1150 | Ground |
Connector Part Information
|
Terminal Part Information
|
Pin | Wire Color | Circuit No. | Function |
|---|---|---|---|
1 | 0.5 BN | 2550 | Ground |
2 | 0.5 GY/GN | 1255 | Side Marker/License Supply Voltage Signal |
Connector Part Information
|
Terminal Part Information
|
Pin | Wire Color | Circuit No. | Function |
|---|---|---|---|
1 | 0.5 BK/GN | 1415 | Right Front Turn Signal Switch Signal |
2 | 0.5 BN | 1050 | Ground |
Connector Part Information
|
Terminal Part Information
|
Pin | Wire Color | Circuit No. | Function |
|---|---|---|---|
1 | 0.5 BN | 2550 | Ground |
2 | 0.5 GY/GN | 1255 | Side Marker/License Supply Voltage Signal |
Connector Part Information
|
Terminal Part Information
|
Pin | Wire Color | Circuit No. | Function |
|---|---|---|---|
1 | 0.5 YE/WH | 1860 | Front Center Speaker (+) |
2-3 | -- | -- | Not Used |
4 | 0.5 WH/BN | 1960 | Front Center Speaker (-) |
Connector Part Information
|
Terminal Part Information
|
Pin | Wire Color | Circuit No. | Function |
|---|---|---|---|
1 | 0.75 BN/BU | 118 | Left Front Speaker Signal (-) |
2 | 0.75 BU | 201 | Left Front Speaker (+) |
Connector Part Information
|
Terminal Part Information
|
Pin | Wire Color | Circuit No. | Function |
|---|---|---|---|
1 | 0.75 BU | 201 | Left Front Speaker (+) |
2 | 0.75 BN/BU | 118 | Left Front Speaker Signal (-) |
Connector Part Information
|
Terminal Part Information
|
Pin | Wire Color | Circuit No. | Function |
|---|---|---|---|
1 | 0.75 GN | 199 | Left Rear Speaker (+) |
2 | 0.75 BN/GN | 116 | Left Rear Speaker Signal (-) |
Connector Part Information
|
Terminal Part Information
|
Pin | Wire Color | Circuit No. | Function |
|---|---|---|---|
1 | 0.75 YE | 200 | Right Front Speaker (+) |
2 | 0.75 BN/YE | 117 | Right Front Speaker Signal (-) |
Connector Part Information
|
Terminal Part Information
|
Pin | Wire Color | Circuit No. | Function |
|---|---|---|---|
1 | 0.75 BN/YE | 117 | Right Front Speaker Signal (-) |
2 | 0.75 YE | 200 | Right Front Speaker (+) |
Connector Part Information
|
Terminal Part Information
|
Pin | Wire Color | Circuit No. | Function |
|---|---|---|---|
1 | 0.75 WH | 46 | Right Rear Speaker (+) (3 Door) |
0.75 GN | 199 | Right Rear Speaker (+) (5 Door) | |
2 | 0.75 BN/WH | 115 | Right Rear Speaker Signal (-) (3 Door) |
0.75 BN/GN | 116 | Right Rear Speaker Signal (-) (5 Door) |
Connector Part Information
|
Pin | Wire Color | Circuit No. | Function |
|---|---|---|---|
-- | 25 RD | 1B | Battery Positive Voltage |
-- | 16 RD | 1 | Battery Positive Voltage |
Connector Part Information
|
Pin | Wire Color | Circuit No. | Function |
|---|---|---|---|
-- | 2.5 BK/RD | 6 | Starter Solenoid Crank Voltage |
Connector Part Information
|
Terminal Part Information
|
Pin | Wire Color | Circuit No. | Function |
|---|---|---|---|
1 | GN | -- | -- |
2 | PU | -- | -- |
3 | RD | -- | -- |
4 | GY | -- | -- |
Connector Part Information
|
Terminal Part Information
|
Pin | Wire Color | Circuit No. | Function |
|---|---|---|---|
1 | BN/WH | -- | Low Reference |
2 | BN | -- | Horn Switch Signal |
3 | RD | -- | -- |
4 | YE | -- | -- |
5 | GY | -- | -- |
6 | BU | -- | -- |
Connector Part Information
|
Terminal Part Information
|
Pin | Wire Color | Circuit No. | Function |
|---|---|---|---|
1 | 0.75 RD | 1540 | Battery Positive Voltage |
2 | 0.75 BK | 3 | Run/Crank Ignition 1 Voltage |
3 | -- | -- | Not Used |
4 | 0.5 GN | 5060 | Low Speed GMLAN Serial Data |
5 | 0.5 GN | 2500 | High Speed GMLAN Serial Data (+) |
6 | 0.5 WH | 2501 | High Speed GMLAN Serial Data (-) |
7 | 0.75 BN | 1650 | Ground |
8-10 | -- | -- | Not Used |
11 | 0.5 VT | 3020 | Steering Wheel Module Stage 1 Low Control |
12 | 0.5 OG/VT | 3021 | Steering Wheel Module Stage 1 High Control |
13 | -- | -- | Not Used |
14 | 0.5 BK | 3022 | Steering Wheel Module Stage 2 Low Control |
15 | 0.5 OG/BK | 3023 | Steering Wheel Module Stage 2 High Control |
16 | -- | -- | Not Used |
17 | 0.5 BN/GN | 1884 | Ignition Voltage |
18 | -- | -- | Not Used |
19 | 0.5 GN | 5060 | Low Speed GMLAN Serial Data |
20 | 0.5 GN | 5060 | Low Speed GMLAN Serial Data |
21 | 0.5 GN | 2500 | High Speed GMLAN Serial Data (+) |
22 | 0.5 WH | 2501 | High Speed GMLAN Serial Data (-) |
23-32 | -- | -- | Not Used |
Connector Part Information
|
Terminal Part Information
|
Pin | Wire Color | Circuit No. | Function |
|---|---|---|---|
1 | 0.5 RD | 302 | Battery Positive Voltage |
2 | 0.5 BN/GY | 17 | Stop Lamp Switch Signal |
3 | 0.5 RD/BU | 5293 | Ignition Voltage |
4 | 0.5 BK/BN | 848 | Brake Switch Signal |
Connector Part Information
|
Terminal Part Information
|
Pin | Wire Color | Circuit No. | Function |
|---|---|---|---|
1 | 0.5 OG | 110 | Sunroof Switch Close Signal |
2 | 0.5 BN | -- | Sunroof Motor Close Control |
3 | 0.5 PK | -- | Sunroof Open/Closed Signal |
4 | 0.5 BU | 4 | Accessory Voltage |
5 | 2.5 RD | 140 | Battery Positive Voltage |
6 | 2.5 BK | 1550 | Ground |
7 | 0.5 GY | -- | Not Used |
8-12 | -- | -- | Not Used |
Connector Part Information
|
Terminal Part Information
|
Pin | Wire Color | Circuit No. | Function |
|---|---|---|---|
1 | 0.5 OG | -- | Sunroof Shade Switch Close Signal |
2 | 0.5 BN | -- | Sunroof Shade Switch Open Signal |
3 | 0.5 PK | -- | Sunroof Open/Closed Signal |
4 | -- | -- | Not Used |
5 | 2.5 RD | 142 | Battery Positive Voltage |
6 | 2.5 BK | 1550 | Ground |
7-12 | -- | -- | Not Used |
Connector Part Information
|
Terminal Part Information
|
Pin | Wire Color | Circuit No. | Function |
|---|---|---|---|
1 | -- | -- | Not Used |
2 | 0.5 OG | -- | Sunroof Shade Switch Close Signal |
3 | 0.5 RD | 1382 | LED Dimming Signal |
4 | 0.5 BK | 1550 | Ground |
5 | 0.5 BN | -- | Sunroof Shade Switch Open Signal |
6 | 0.5 BK | 1550 | Ground |
Connector Part Information
|
Terminal Part Information
|
Pin | Wire Color | Circuit No. | Function |
|---|---|---|---|
1 | -- | -- | Not Used |
2 | 0.5 OG | 129 | Sunroof Motor Close Control |
3 | 0.5 RD | 1382 | LED Dimming Signal |
4 | 0.5 BK | 1550 | Ground |
5 | 0.5 BN | -- | Sunroof Motor Close Control |
6 | 0.5 BK | 1550 | Ground |
Connector Part Information
|
Terminal Part Information
|
Pin | Wire Color | Circuit No. | Function |
|---|---|---|---|
A | 0.5 RD/BU | 1732 | Inadvertant Power Courtesy Lamp |
B | 0.5 BN | 1550 | Ground |
Connector Part Information
|
Terminal Part Information
|
Pin | Wire Color | Circuit No. | Function |
|---|---|---|---|
A | 0.5 RD/BU | 1732 | Inadvertant Power Courtesy Lamp |
B | 0.5 BN | 1550 | Ground |
Connector Part Information
|
Terminal Part Information
|
Pin | Wire Color | Circuit No. | Function |
|---|---|---|---|
1 | 1.5 BN | 2550 | Ground (3 Door) |
0.5 WH/BK | 5219 | Left Backup Lamp Supply Voltage (5 Door) | |
2 | 0.5 WH/BK | 5219 | Left Backup Lamp Supply Voltage (3 Door) |
3 | -- | -- | Not Used |
4 | 0.5 BK/YE | 5221 | Left Brake Lamp Supply Voltage (5 Door) |
5 | 0.5 BK/WH | 1334 | Left Rear Turn Signal Lamp Supply Voltage |
6 | 0.5 BK/YE | 5221 | Left Brake Lamp Supply Voltage (3 Door) |
1.5 BN | 2550 | Ground (5 Door) |
Connector Part Information
|
Terminal Part Information
|
Pin | Wire Color | Circuit No. | Function |
|---|---|---|---|
1 | 0.5 BK/YE | 5222 | Right Brake Lamp Supply Voltage (3 Door) |
1.5 BN | 2550 | Ground (5 Door) | |
2 | 0.5 BK/GN | 1335 | Right Rear Turn Signal Lamp Supply Voltage |
3 | 0.5 BK/YE | 5222 | Right Brake Lamp Supply Voltage (5 Door) |
4 | -- | -- | Not Used |
5 | 0.5 WH/BK | 5220 | Right Backup Lamp Supply Voltage (3 Door) |
6 | 1.5 BN | 2550 | Ground (3 Door) |
0.5 WH/BK | 5220 | Right Backup Lamp Supply Voltage (5 Door) |
Connector Part Information
|
Terminal Part Information
|
Pin | Wire Color | Circuit No. | Function |
|---|---|---|---|
1 | 0.5 BU | 485 | Throttle Position Sensor Signal 1 |
2 | 0.5 BK/WH | 2701 | 5 Volt Reference 2 |
3 | 1 BK/WH | 581 | Throttle Actuator Control Open |
4 | 0.5 BU | 486 | Throttle Position Sensor Signal 2 |
5 | 1 BN/WH | 582 | Throttle Actuator Control Close |
6 | 0.5 BN/WH | 2752 | Low Reference |
Connector Part Information
|
Terminal Part Information
|
Pin | Wire Color | Circuit No. | Function |
|---|---|---|---|
1 | 0.5 GN | 5060 | Low Speed GMLAN Serial Data |
2 | -- | -- | Not Used |
3 | 0.5 BK | 239 | Run/Crank Ignition 1 Voltage |
4 | 0.5 BN | 1650 | Ground |
5-12 | -- | -- | Not Used |
Connector Part Information
|
Terminal Part Information
|
Pin | Wire Color | Circuit No. | Function |
|---|---|---|---|
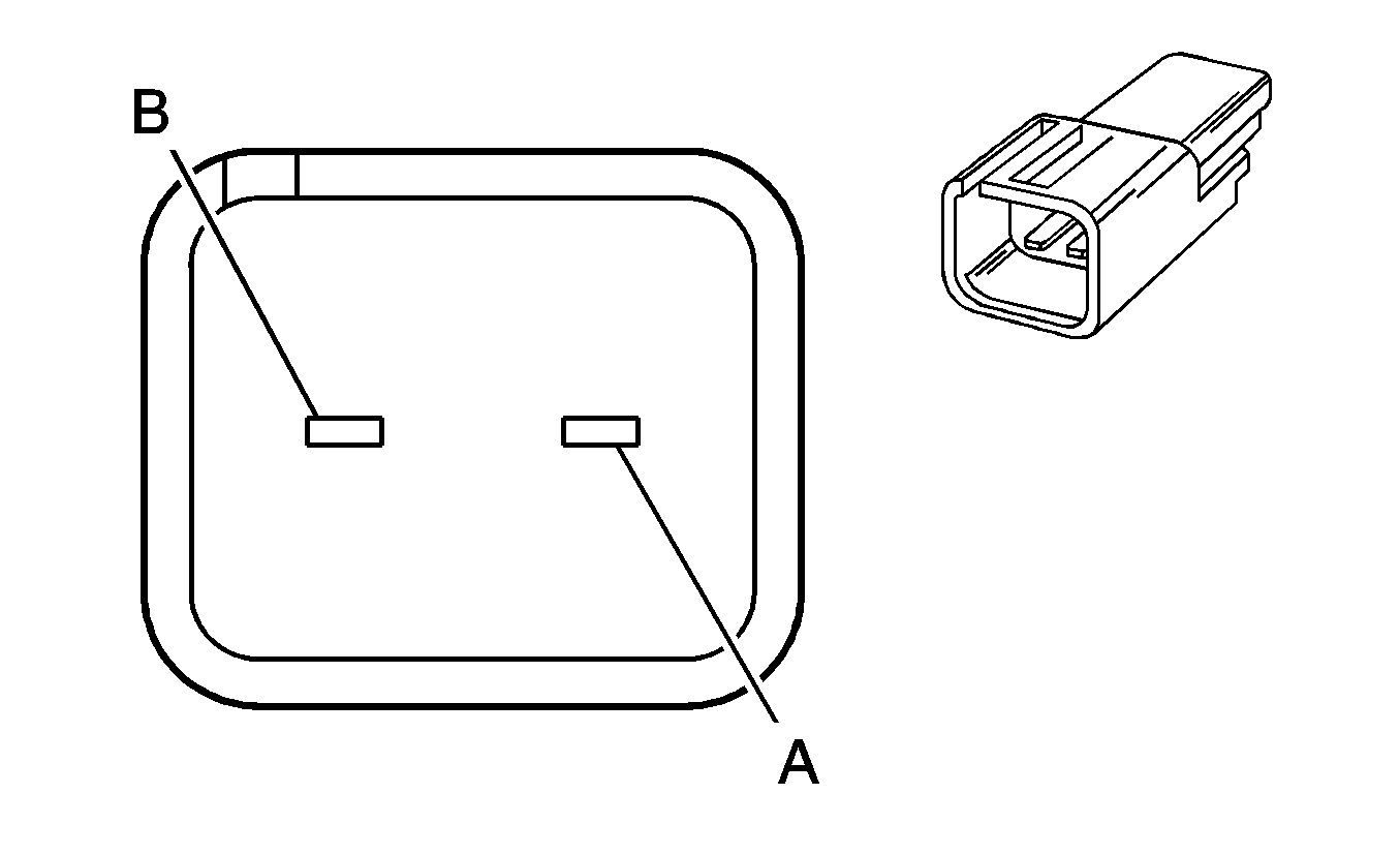
A | TN | 2879 | Low Reference |
B | YE | 1994 | TCC PWM Solenoid Valve Control |
Connector Part Information
|
Terminal Part Information
|
Pin | Wire Color | Circuit No. | Function |
|---|---|---|---|
1 | 0.5 YE/RD | 1230 | Transmission Speed Sensor Signal |
2 | 0.5 YE/BN | 401 | Low Reference |
3 | 0.5 GN | 772 | Transmission Position Switch Bit 2 Signal |
4 | 0.5 WH | 771 | Transmission Position Switch Bit 1 Signal |
5 | 0.5 GN | 1078 | Ignition Key/Shifter Interlock Solenoid Lock Signal |
6-9 | -- | -- | Not Used |
10 | 0.5 GN | 2500 | High Speed GMLAN Serial Data (+) |
11 | 0.5 GN | 2500 | High Speed GMLAN Serial Data (+) |
12-13 | -- | -- | Not Used |
14 | 0.5 BU/WH | 5503 | Low Reference |
15 | 0.5 BN/GN | 2879 | Low Reference |
16 | 0.5 WH/GN | 1530 | Transmission Mainline Pressure Solenoid Control |
17 | 0.5 WH/BK | 1994 | TCC PWM Solenoid Valve Control |
18 | 0.5 BK/WH | 1527 | Shift Solenoid Supply Voltage 3 |
19 | 0.5 BK/VT | 1526 | Shift Solenoid Supply Voltage 2 |
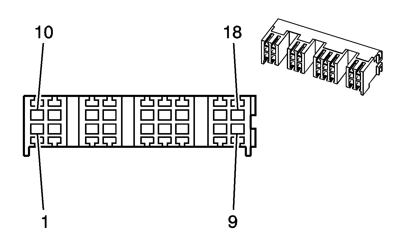
20 | 0.5 BK/GN | 1525 | Shift Solenoid Supply Voltage 1 |
21 | 0.75 BK | 539 | Run/Crank Ignition 1 Voltage |
22 | 0.5 YE/BK | 1231 | Low Reference |
23 | 0.5 YE/VT | 400 | Vehicle Speed Sensor Signal |
24 | 0.5 WH/YE | 1371 | Transmission Position Switch Bit 4 Signal |
25 | 0.5 GY | 773 | Transmission Position Switch Bit 3 Signal |
26-30 | -- | -- | Not Used |
31 | 0.5 WH | 2501 | High Speed GMLAN Serial Data (-) |
32 | 0.5 WH | 2501 | High Speed GMLAN Serial Data (-) |
33-34 | -- | -- | Not Used |
35 | 0.5 BU/YE | 488 | Winter Mode Switch Signal |
36 | -- | -- | Not Used |
37 | 0.5 BK/BU | 585 | Transmission Oil Temperature Sensor Signal |
38 | 0.5 BN/BK | 586 | Low Reference |
39 | 0.5 BN | 2150 | Ground |
40 | 0.5 BN | 2150 | Ground |
41 | 0.75 RD | 3740 | Battery Positive Voltage |
42 | 0.75 BK | 539 | Run/Crank Ignition 1 Voltage |
Connector Part Information
|
Terminal Part Information
|
Pin | Wire Color | Circuit No. | Function |
|---|---|---|---|
A | 0.5 RD/WH | 5235 | Battery Backup Supply Voltage |
B | 0.5 GY/BK | 5167 | Low Reference |
Connector Part Information
|
Terminal Part Information
|
Pin | Wire Color | Circuit No. | Function |
|---|---|---|---|
1 | -- | -- | Not Used |
2 | 0.5 BN/WH | 2517 | Keypad Red LED |
3 | 0.5 YE/BK | 2516 | Keypad Green LED |
4-5 | -- | -- | Not Used |
6 | 0.5 OG/BK | 2518 | 10-Volt Reference |
7 | -- | -- | Not Used |
8 | 0.75 BN | 1750 | Ground |
9-10 | -- | -- | Not Used |
11 | 0.5 GN/WH | 2514 | Keypad Signal |
12 | -- | -- | Not Used |
13 | 0.5 GY/BK | 5167 | Low Reference |
14 | 0.5 RD/WH | 5235 | Battery Backup Supply Voltage |
15 | 0.75 RD | 3140 | Battery Positive Voltage |
16 | -- | -- | Not Used |
Connector Part Information
|
Terminal Part Information
|
Pin | Wire Color | Circuit No. | Function |
|---|---|---|---|
1 | 0.5 YE | 658 | Cellular Telephone Voice Signal |
2 | 0.5 YE/BN | 659 | Low Reference |
3-4 | -- | -- | Not Used |
5 | 0.5 BN/VT | 1132 | DLC Class 2 Serial Data |
6 | 0.5 YE | 710 | Class 2 Serial Data Secondary |
7 | -- | -- | Not Used |
8 | 0.5 BK | 5842 | Auxiliary Audio Screen 2 |
9 | 0.35 BU/RD | 5191 | Cellular Telephone Microphone Signal |
10 | 0.35 BK | 5193 | Low Reference |
11 | -- | -- | Not Used |
12 | 0.5 BK | 693 | Cellular Telephone Mute Signal |
Connector Part Information
|
Terminal Part Information
|
Pin | Wire Color | Circuit No. | Function |
|---|---|---|---|
1 | -- | -- | Not Used |
2 | 0.5 GN | 2500 | High Speed GMLAN Serial Data (+) |
3 | 0.5 WH | 2501 | High Speed GMLAN Serial Data (-) |
4-7 | -- | -- | Not Used |
8 | 0.5 GN | 2500 | High Speed GMLAN Serial Data (+) |
9 | 0.5 WH | 2501 | High Speed GMLAN Serial Data (-) |
10-12 | -- | -- | Not Used |
Connector Part Information
|
Terminal Part Information
|
Pin | Wire Color | Circuit No. | Function |
|---|---|---|---|
1 | 0.35 BK | 6797 | GSM Antenna Screen |
2 | 0.35 BK | 6794 | GSM Antenna Signal |
Connector Part Information
|
Terminal Part Information
|
Pin | Wire Color | Circuit No. | Function |
|---|---|---|---|
1 | 0.35 BK | 5175 | Antenna Navigation Screen |
2 | 0.35 BK | 5174 | Antenna Navigation Signal |
Connector Part Information
|
Terminal Part Information
|
Pin | Wire Color | Circuit No. | Function |
|---|---|---|---|
1 | 0.5 YE | 710 | Class 2 Serial Data Secondary |
2 | -- | -- | Not Used |
3 | 0.5 WH | 194 | Door Unlock Control |
4 | 0.5 BN/WH | 28 | Horn Relay Control |
5-8 | -- | -- | Not Used |
9 | 0.5 BU/BN | 1903 | ABS Wheel Speed Sensor Signal Left Front |
10 | 0.5 OG/GY | 5246 | SIR Deployed Signal |
11 | -- | -- | Not Used |
12 | 0.5 BN/GN | 1884 | Ignition Voltage |
13 | 0.5 BK | 3 | Run/Crank Ignition 1 Voltage |
14 | 0.5 RD | 3140 | Battery Positive Voltage |
15 | 0.5 BN | 1750 | Ground |
16 | -- | -- | Not Used |
Connector Part Information
|
Terminal Part Information
|
Pin | Wire Color | Circuit No. | Function |
|---|---|---|---|
1 | 0.5 BU/WH | 830 | Wheel Speed Sensor Signal Left Front |
2 | 0.5 BN/WH | 873 | Low Reference |
Connector Part Information
|
Terminal Part Information
|
Pin | Wire Color | Circuit No. | Function |
|---|---|---|---|
1 | 0.5 BU | 884 | Wheel Speed Sensor Signal Left Rear |
2 | 0.5 BN/BU | 885 | Low Reference |
Connector Part Information
|
Terminal Part Information
|
Pin | Wire Color | Circuit No. | Function |
|---|---|---|---|
1 | 0.5 BU/RD | 872 | Wheel Speed Sensor Signal Right Front |
2 | 0.5 BN/RD | 833 | Low Reference |
Connector Part Information
|
Terminal Part Information
|
Pin | Wire Color | Circuit No. | Function |
|---|---|---|---|
1 | 0.5 BU/RD | 882 | Wheel Speed Sensor Signal Right Rear |
2 | 0.5 BN/RD | 883 | Low Reference |
Connector Part Information
|
Terminal Part Information
|
Pin | Wire Color | Circuit No. | Function |
|---|---|---|---|
1 | 2.5 RD | 2040 | Battery Positive Voltage |
2 | 0.5 WH/GN | 1300 | Power Window Master Switch Left Front Up Signal |
3 | 0.5 GY | 1136 | Power Window Master Switch Left Front Down Signal |
4 | 2.5 BN | 1550 | Ground |
5 | -- | -- | Not Used |
6 | 0.5 BN/BK | 5200 | Power Window Comfort Close Signal |
Connector Part Information
|
Terminal Part Information
|
Pin | Wire Color | Circuit No. | Function |
|---|---|---|---|
1 | 2.5 RD | 2240 | Battery Positive Voltage |
2 | 0.5 VT/GN | 168 | Power Window Master Switch Left Rear Up Signal |
3 | 0.5 VT/BN | 169 | Power Window Master Switch Left Rear Down Signal |
4 | 2.5 BN | 2350 | Ground |
5 | -- | -- | Not Used |
6 | 0.5 BN/BK | 5200 | Power Window Comfort Close Signal |
Connector Part Information
|
Terminal Part Information
|
Pin | Wire Color | Circuit No. | Function |
|---|---|---|---|
1 | 2.5 RD | 2140 | Battery Positive Voltage |
2 | 0.5 YE/GN | 166 | Power Window Master Switch Right Front Up Signal |
3 | 0.5 YE/BN | 167 | Power Window Master Switch Right Front Down Signal |
4 | 2.5 BN | 1550 | Ground |
5 | -- | -- | Not Used |
6 | 0.5 BN/BK | 5200 | Power Window Comfort Close Signal |
Connector Part Information
|
Terminal Part Information
|
Pin | Wire Color | Circuit No. | Function |
|---|---|---|---|
1 | 2.5 RD | 2240 | Battery Positive Voltage |
2 | 0.5 VT/GN | 168 | Power Window Master Switch Right Rear Up Signal |
3 | 0.5 VT/BN | 169 | Power Window Master Switch Right Rear Down Signal |
4 | 2.5 BN | 2350 | Ground |
5 | -- | -- | Not Used |
6 | 0.5 BN/BK | 5200 | Power Window Comfort Close Signal |
Connector Part Information
|
Terminal Part Information
|
Pin | Wire Color | Circuit No. | Function |
|---|---|---|---|
1-7 | -- | -- | Not Used |
8 | 0.5 BU/BN | 171 | Power Window Master Switch Right Rear Down Signal (5 Door) |
9 | 0.5 BU/GN | 170 | Power Window Master Switch Right Rear Up Signal (5 Door) |
10 | 0.5 WH/BU | 1307 | Power Window Master Switch Lockout Signal (5 Door) |
11 | 0.5 YE/BN | 167 | Power Window Master Switch Right Front Down Signal |
12 | 0.5 YE/GN | 166 | Power Window Master Switch Right Front Up Signal |
13 | -- | -- | Not Used |
14 | 0.5 BU/BK | 6162 | Outside Right Mirror Vertical Position Control |
15 | 0.5 GN/BK | 6161 | Outside Right Mirror Horizontal Position Control |
16-23 | -- | -- | Not Used |
24 | 0.5 VT/BN | 169 | Power Window Master Switch Left Rear Down Signal (5 Door) |
25 | 0.5 VT/GN | 168 | Power Window Master Switch Left Rear Up Signal (5 Door) |
26 | 0.5 BK | 4 | Accessory Voltage |
27 | 0.5 GY | 1136 | Power Window Master Switch Left Front Down Signal |
28 | 0.5 WH/GN | 1300 | Power Window Master Switch Left Front Up Signal |
29 | 0.5 BN | 6163 | Outside Mirror Position Motor Drain Wire |
30 | 0.5 BU/WH | 6160 | Outside Left Mirror Vertical Position Control |
31 | 0.5 GN/WH | 6159 | Outside Left Mirror Horizontal Position Control |
32 | 0.75 BN | 1550 | Ground |
Connector Part Information
|
Terminal Part Information
|
Pin | Wire Color | Circuit No. | Function |
|---|---|---|---|
1 | 0.5 WH/BU | 1307 | Power Window Master Switch Lockout Signal |
2 | 0.5 VT/BN | 169 | Power Window Master Switch Left Rear Down Signal |
3 | 0.5 VT/BN | 169 | Power Window Master Switch Left Rear Down Signal |
4 | 0.5 BN | 2350 | Ground |
5 | 0.5 VT/GN | 168 | Power Window Master Switch Left Rear Up Signal |
6 | 0.5 VT/GN | 168 | Power Window Master Switch Left Rear Up Signal |
Connector Part Information
|
Terminal Part Information
|
Pin | Wire Color | Circuit No. | Function |
|---|---|---|---|
1 | 0.5 BK | 4 | Accessory Voltage |
2 | 0.5 YE/BN | 167 | Power Window Master Switch Right Front Down Signal |
3 | 0.5 YE/BN | 167 | Power Window Master Switch Right Front Down Signal |
4 | 0.5 BN | 2050 | Ground |
5 | 0.5 YE/GN | 166 | Power Window Master Switch Right Front Up Signal |
6 | 0.5 YE/GN | 166 | Power Window Master Switch Right Front Up Signal |
Connector Part Information
|
Terminal Part Information
|
Pin | Wire Color | Circuit No. | Function |
|---|---|---|---|
1 | 0.5 WH/BU | 1307 | Power Window Master Switch Lockout Signal |
2 | 0.5 VT/BN | 169 | Power Window Master Switch Right Rear Down Signal |
3 | 0.5 VT/BN | 169 | Power Window Master Switch Right Rear Down Signal |
4 | 0.5 BN | 2350 | Ground |
5 | 0.5 VT/GN | 168 | Power Window Master Switch Right Rear Up Signal |
6 | 0.5 VT/GN | 168 | Power Window Master Switch Right Rear Up Signal |
Connector Part Information
|
Terminal Part Information
|
Pin | Wire Color | Circuit No. | Function |
|---|---|---|---|
1 | 0.5 BK | 139 | Run/Crank Ignition 1 Voltage |
2 | 0.5 BK | 1550 | Ground |
3 | 0.5 GN | 481 | Rain Sense Signal 1 |
Connector Part Information
|
Terminal Part Information
|
Pin | Wire Color | Circuit No. | Function |
|---|---|---|---|
1 | 0.5 BN | 1150 | Ground |
2 | 0.5 GN/WH | 99 | Windshield Washer Fluid Level Sensor Signal |
Connector Part Information
|
Terminal Part Information
|
Pin | Wire Color | Circuit No. | Function |
|---|---|---|---|
1 | 1 BK/RD | 228 | Windshield Washer Pump Control |
2 | 1 BK/VT | 392 | Rear Window Washer Pump Control |
Connector Part Information
|
Terminal Part Information
|
Pin | Wire Color | Circuit No. | Function |
|---|---|---|---|
1 | 2.5 WH | 92 | Windshield Wiper Motor High Speed Control |
2 | 2.5 YE | 95 | Windshield Wiper Motor Low Speed Control |
3 | 0.5 BN/GN | 196 | Windshield Wiper Motor Park Switch Signal |
4 | 2.5 BN | 1350 | Ground |
Connector Part Information
|
Terminal Part Information
|
Pin | Wire Color | Circuit No. | Function |
|---|---|---|---|
A | 0.5 BU/YE | 488 | Winter Mode Switch Signal |
B | 0.5 BN | 2150 | Ground |
C | -- | -- | Not Used |
D | 0.75 BK | 539 | Run/Crank Ignition 1 Voltage |
Connector Part Information
|
Terminal Part Information
|
Pin | Wire Color | Circuit No. | Function |
|---|---|---|---|
1 | 0.5 WH | 2501 | High Speed GMLAN Serial Data (-) |
2 | 0.5 GN | 2500 | High Speed GMLAN Serial Data (+) |
3 | 0.5 GN/BK | 1338 | Yaw Rate Sensor Signal 2 |
4 | -- | -- | Not Used |
5 | 0.5 GY/BK | 1337 | Yaw Rate Sensor Volt Reference |
6 | -- | -- | Not Used |