GM Service Manual Online
For 1990-2009 cars only

Liftgate Wiper Motor Replacement Sedan

Special Tools

J 39637 /KM-6626 Wiper Arm Puller

Removal Procedure


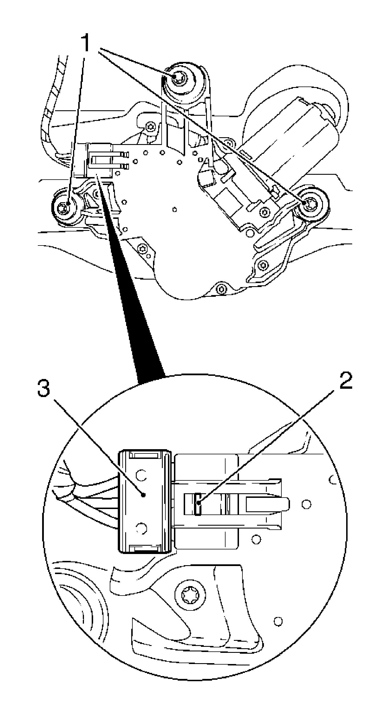
    Object Number: 1936850  Size: LH
  1. Remove the fastening cover for the liftgate window wiper arm (1).
  2. Remove the rear wiper arm.
  3. • Remove the nut and remove the wiper arm.
    • Apply the J 39637 /KM-6626 (2) and remove the rear wiper arm by tightening the removal screw (3) (arrow).
  4. Remove liftgate trim panel. Refer to Liftgate Trim Panel Replacement.

  5. Object Number: 1936852  Size: SH
  6. Disconnect the wiring harness plug (1) for the liftgate wiper motor and disconnect.
  7. • Disconnect the wiring harness plug.
    • Release the wiring harness plug and disconnect.
  8. Remove the wiper motor.
  9. Remove the 3 bolts (2).

Installation Procedure

    Caution: Refer to Fastener Caution in the Preface section.

  1. Install the liftgate wiper motor.
  2. Tighten
    Tighten the 3 bolts to 3.5 N·m (31 lb in).

  3. Connect the wiper motor wiring harness plug.
  4. Connect the wiring harness plug.

  5. Install the liftgate trim panel. Refer to Liftgate Trim Panel Replacement.
  6. Install the rear wiper arm.
  7. Tighten
    Tighten the nut to 9 N·m (80 lb in).

  8. Install the fastening cover for the liftgate window wiper arm.

Liftgate Wiper Motor Replacement Coupe

Removal Procedure

  1. Remove the rear wiper arm.
  2. • Remove the cover cap.
    • Remove the nut.
    • Remove the washer.
    • Take out the rear wiper arm.
  3. Remove the liftgate trim panel. Refer to Liftgate Trim Panel Replacement.

  4. Object Number: 1942018  Size: LH
  5. Remove the motor, liftgate wiper.
  6. • Disconnect the wiring harness plug (3).
    • Release the wiring harness plug (2).
    • Remove the 3 bolts (1).
    • Remove the motor, liftgate wiper.

Installation Procedure

    Caution: Refer to Fastener Caution in the Preface section.

  1. Install the motor, liftgate wiper.
  2. Tighten
    Tighten the 3 bolts to 3.5 N·m (31 lb in).

  3. Connect and lock the wiring harness plug.
  4. Install the liftgate trim panel. Refer to Liftgate Trim Panel Replacement.
  5. Install the rear wiper arm.
  6. • Insert the wiper arm.
    • Install the washer.

    Tighten
    Tighten the nut to 9 N·m (80 lb in).

    • Install the cover cap.