GM Service Manual Online
For 1990-2009 cars only
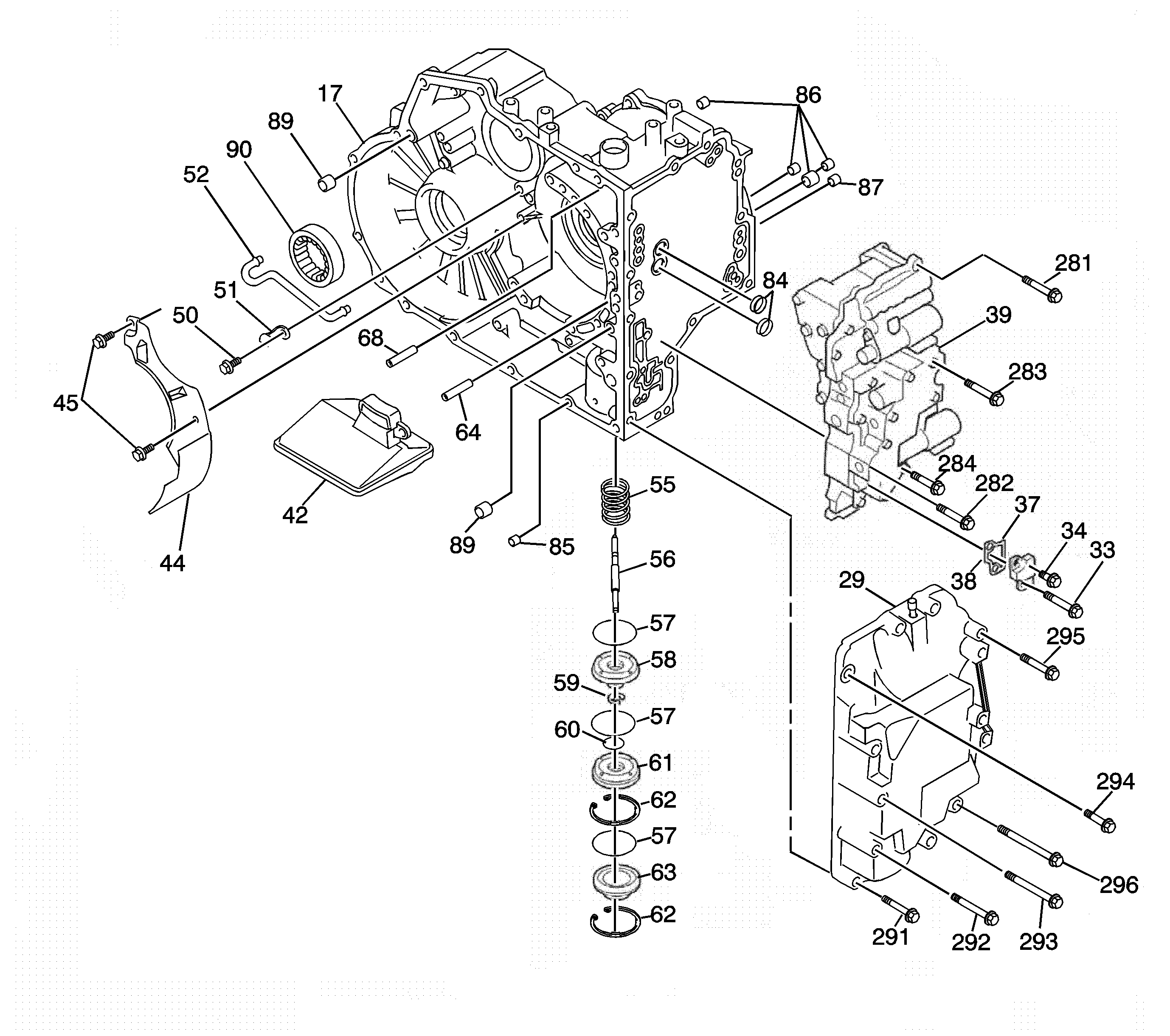
Figure 1:

Case and Associated Parts (1 of 3)


Object Number: 1999524  Size: LF
(1)Torque Converter Assembly
(2)Transmission Fluid Pump Assembly
(10)Torque Converter Housing
(12)Output Gear Assembly
(13)Front Differential Assembly
(14)Front Differential Transfer Drive Gear Assembly
(15)Overdrive and Coast Clutch Assembly
(16)2nd and 4th Gear Band Assembly
(17)Transmission Case Assembly
(18)Forward Clutch Assembly
(19)Transmission Case Cover
(20)Transmission Case Cover Bolts M8x1.0x25 (Qty: 10)
(21)Transmission Case Cover Fluid Seal Rings (Qty: 5)
(23)Reverse Clutch Assembly with Input Shaft Assembly
(25)Rear Ring Gear Assembly
(27)Front Planetary Ring Gear Assembly
(29)Control Valve Body Cover
(39)Transmission Control Valve Body Assembly
(542)Carrier Assembly
(544)Sun Gear
Figure 2:

Case and Associated Parts (2 of 3)


Object Number: 1999525  Size: LF
(17)Transmission Case Assembly
(29)Control Valve Body Cover
(34)Control Valve Body Fluid Passage Bolt M6 x 1.0 x 20 (Qty: 1)
(37)Control Valve Body Fluid Passage Cover
(38)Control Valve Body Fluid Passage Cover Gasket
(39)Transmission Control Valve Body Assembly
(42)Transmission Fluid Filter Assembly
(44)Transmission Fluid Baffle
(45)Transmission Fluid Baffle Bolt M6 x 1.0 x 12 (Qty: 2)
(50)Apply Tube Retainer Bolt M6 x 1.0 x 12 (Qty: 1)
(51)Apply Tube Retainer
(52)Apply Tube
(55)2nd and 4th Gear Band Servo Piston Spring
(56)2nd and 4th Gear Band Servo Piston Pin - Selective
(57)2nd and 4th Gear Band Servo Piston and Cover O-Ring Seal (Qty: 3)
(58)2nd and 4th Gear Band Servo Piston
(59)2nd and 4th Gear Band Servo Piston Pin Retainer
(60)2nd and 4th Gear Band Servo Piston Inner Seal
(61)2nd and 4th Gear Band Servo Piston Cover
(62)2nd and 4th Gear Band Servo Cover Retaining Ring
(63)2nd and 4th Gear Band Servo Cover
(64)2-4 Gear Band Anchor Pin
(68)Transmission Case Locating Pin (Qty: 2)
(84)Transmission Case Fluid Passage Seal to Valve Body (Qty: 2)
(85)Transmission Fluid Passage Seal
(86)Transmission Case Fluid Passage Seal (Qty: 4)
(87)Transmission Case Fluid Passage Seal
(89)Transmission Fluid Passage Seal (Qty: 2)
(90)Front Differential Transfer Drive Gear Assembly Bearing
(281)Control Valve Body Bolt M6 x 1.0 x 20 (Qty: 5)
(282)Control Valve Body Bolt M6 x 1.0 x 76 (Qty: 1)
(283)Control Valve Body Bolt M6 x 1.0 x 55 (Qty: 1)
(284)Control Valve Body Bolt M6 x 1.0 x 12 ((Qty: 1)
(291)Control Valve Body Cover Bolt M8 x 1.0 x 38 (Qty: 4)
(292)Control Valve Body Cover Bolt M8 x 1.0 x 72 (Qty: 2)
(293)Control Valve Body Cover Bolt M8 x 1.0 x 90 (Qty: 2)
(294)Control Valve Body Cover Bolt M8 x 1.0 x 25 (Qty: 1)
(295)Control Valve Body Cover Bolt M8 x 1.0 x 60 (Qty: 3)
(296)Control Valve Body Cover Bolt M8 x 1.0 x 106.5 (Qty: 1)
(713)Manual Shift Shaft Seal Assembly
Figure 3:

Case and Associated Parts (3 of 3)


Object Number: 1999527  Size: LF
(69)Manual Shift Shaft Retaining Nut
(70)Manual Shift Shaft Retaining Nut Lock Washer
(71)Park/Neutral Position Switch Bolt M8 x 1.0 x 26 (Qty: 2)
(72)Park/Neutral Position Switch
(74)Transmission Output Speed Sensor Assembly
(75)Transmission Speed Sensor Bolt M6 x 1.0 x 17 (Qty: 2)
(76)Transmission Input Speed Sensor Assembly
(77)Transmission Wiring Harness Bolt M6 x 1.0 x 17 (Qty: 1)
(78)Automatic Transmission Wiring Harness Assembly
Figure 4:

Fluid Pump Assembly


Object Number: 1999529  Size: LF
(5)Transmission Fluid Pump to Case Bolt M8 x 1.0 x 20 (Qty: 6)
(185)Transmission Fluid Pump Body O-Ring Seal
(186)Transmission Fluid Pump Body Seal Assembly
(187)Fluid Pump Body
(188)Fluid Pump Body to Fluid Pump Stator Shaft Assembly Alignment Pin (Qty: 2)
(189)Fluid Pump Body Driven Gear
(190)Fluid Pump Body Drive Gear
(191)Fluid Pump Cover and Stator Shaft Assembly
(192)Transmission Fluid Pump Cover Bolt M6 x 1.0 x 18 (Qty: 8)
(193)Fluid Pump Cover O-Ring Seals (Qty: 2)
Figure 5:

Overdrive (C0) and Coast (C3) Clutch Assembly


Object Number: 1999531  Size: LF
(209)Overdrive Clutch Backing Plate Retaining Ring
(210)Overdrive Clutch Backing Plate
(211)Overdrive Clutch Plate Assembly - Fiber
(212)Overdrive Clutch Plate Assembly - Steel
(213)Coast Clutch Backing Plate
(214)Coast Clutch Backing Plate Retaining Ring
(215)Coast Clutch Plate Assembly - Fiber
(216)Coast Clutch Plate Assembly - Steel
(217)Overdrive and Coast Clutch Spring Retaining Ring
(218)Overdrive and Coast Clutch Spring
(219)Coast Clutch Piston Inner Seal
(220)Coast Clutch Piston Outer Seal
(221)Coast Clutch Piston
(222)Overdrive Clutch Piston Inner Seal
(223)Overdrive Clutch Piston Outer Seal
(224)Overdrive Clutch Piston
(225)Overdrive and Coast Clutch Housing
(226)Overdrive and Coast Clutch Housing Thrust Washer
Figure 6:

Output Gear Assembly


Object Number: 1999534  Size: LF
(236)Output Gear
(237)Output Gear Bearing Assembly
(238)Output Gear Bearing Assembly Lock Nut
(239)Output Gear Retaining Ring
Figure 7:

Front Differential Transfer Drive Gear Assembly


Object Number: 1999536  Size: LF
(263)Front Differential Transfer Drive Gear Front Thrust Bearing Race
(264)Front Differential Transfer Drive Gear Drive Pinion Bearing Inner Race
(265)Front Differential Transfer Drive Gear Drive Pinion
(266)Front Differential Transfer Drive Gear Counter Driven Gear
(267)Front Differential Transfer Drive Gear Bearing Inner Race
(268)Front Differential Transfer Drive Gear Lock Nut
(269)Front Differential Transfer Drive Gear Rear Thrust Bearing Race
(270)Front Differential Transfer Drive Gear Rear Thrust Bearing Assembly
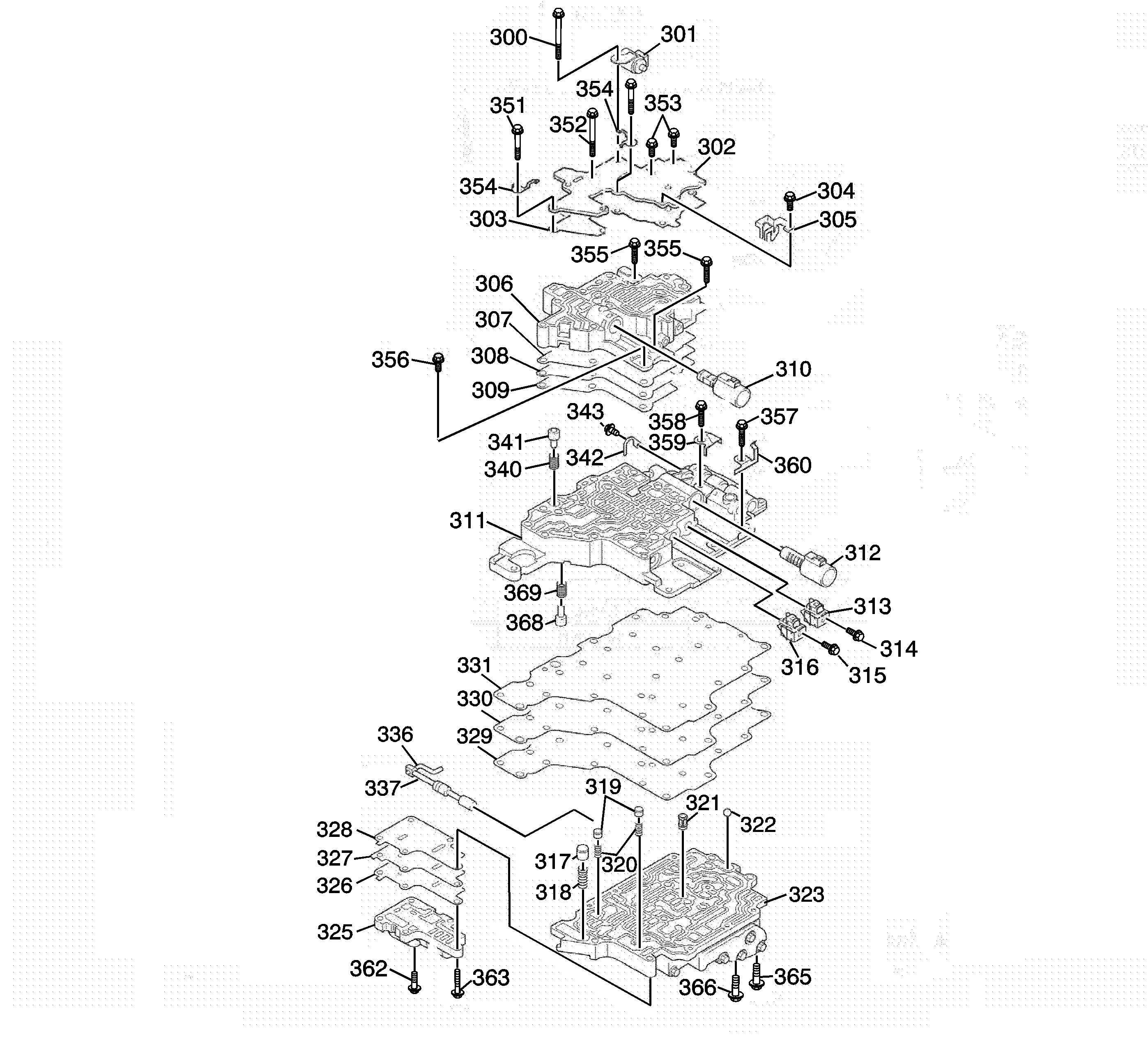
Figure 8:

Valve Body Assemblies


Object Number: 2003487  Size: LF
(300)Control Valve Body Bolt
(301)Neutral Switching Solenoid Valve
(302)Front Control Valve Body Cover
(303)Front Control Valve Body Cover Gasket
(304)Lock Up Solenoid Clamp Bolt
(305)Lock Up Solenoid Clamp
(306)Front Control Valve Body
(307)Front Control Valve Body to Front Control Valve Body Spacer Plate Gasket
(308)Front Control Valve Body Spacer Plate
(309)Front Control Valve Body Spacer Plate to Middle Control Valve Body Gasket
(310)Lock Up Control Solenoid (SLU)
(311)Middle Control Valve Body Assembly
(312)Line Pressure Control Solenoid Valve Assembly (SLT)
(313)2-3 Shift Solenoid Valve Assembly (S1)
(314)2-3 Shift Solenoid Valve Assembly Bolt
(315)Shift Solenoid Valve Assembly Bolt
(316)1-2/3-4 Shift Solenoid Valve Assembly (S2)
(317)Check Valve B
(318)Check Valve Spring B
(319)Check Valve A
(320)Check Valve A Spring
(321)Fluid Strainer
(322)Check Ball
(323)Rear Control Valve Body Assembly
(325)No. 2 Rear Control Valve Body Assembly
(326)No. 2 Rear Control Valve Body Assembly Spacer Plate Gasket
(327)No. 2 Rear Control Valve Body Assembly Spacer Plate
(328)No. 2 Rear Control Valve Body Gasket
(329)Rear No. 1 Control Valve Body Spacer Plate Gasket
(330)Rear No. 1 Control Valve Body Spacer Plate
(331)Rear No. 1 Control Valve Body Gasket
(336)Manual Valve Link
(337)Manual Valve
(340)Pressure Relief Valve Spring
(341)Pressure Relief Valve
(342)Line Pressure Control Solenoid Valve Retainer
(343)Line Pressure Control Solenoid Valve Retainer Bolt
(351)Front Control Valve Body Cover Bolt (Qty: 4)
(352)Front Control Valve Body Cover Bolt (Qty: 2)
(353)Front Control Valve Body Cover Bolt (Qty: 2)
(354)Automatic Transmission Wiring Harness Assembly Retainer (Qty: 2)
(355)Front Valve Body Bolt (Qty: 2)
(356)Front Valve Body Bolt (Qty: 1)
(357)Rear Valve Body to No. 2 Rear Valve Body Bolts (Qty: 4)
(358)Rear Valve Body to No. 2 Rear Valve Body Bolt (Qty: 1)
(359)No. 2 Rear Valve Body Fluid Baffle (Qty: 1)
(360)No. 2 Rear Valve Body Wiring Harness Assembly Retianer (Qty: 1)
(362)No. 2 Rear Control Valve Body Bolts (Qty: 3)
(363)No. 2 Rear Control Valve Body Bolts (Qty: 2)
(365)Middle Control Valve Body Bolt (Qty: 1)
(366)Middle Control Valve Body Bolts (Qty: 2)
(368)Middle Control Valve Body Fluid Cooler By-pass Valve
(369)Middle Control Valve Body Fluid Cooler By-pass Valve Spring
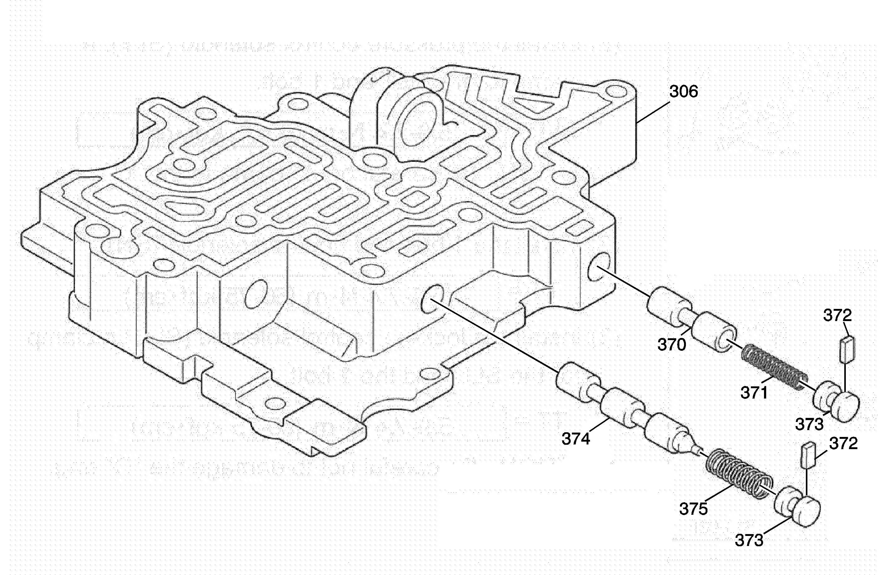
Figure 9:

Front Valve Body Assembly


Object Number: 2003490  Size: MF
(306)Front Control Valve Body
(370)Solenoid B-1 Modulator No. 2
(371)Solenoid B-1 Modulator Valve No. 2 Spring
(372)Sleeve/Bore Plug Retainer
(373)Solenoid Modulator Valve Bore Plug
(374)Neutral Relay Valve
(375)Neutral Relay Valve Spring
Figure 10:

Middle Valve Body Assembly


Object Number: 2003494  Size: LF
(311)Middle Control Valve Body Assembly
(376)Primary Regulator Valve Sleeve
(377)Primary Regulator Valve Plunger
(378)Primary Regulator Valve Spring
(379)Primary Regulator Valve
(380)Lock Up Control Solenoid (SLU) Valve
(381)Lock Up Control Solenoid (SLU) Spring
(382)Sleeve/Bore Plug Retainer
(383)Solenoid Modulator Valve Bore Plug
(384)Solenoid Modulator Valve Bore Plug
(385)3-4 Shift Valve Sleeve
(386)3-4 Shift Valve Spring
(387)3-4 Shift Valve
(388)2-3 Shift Valve Spring
(389)2-3 Shift Valve
(390)1-2 Shift Valve
(391)1-2 Shift Valve Spring
(392)Solenoid B-1 Modulator Valve No. 1 Plunger
(393)Solenoid B-1 Modulator Valve No. 1 Spring
(394)Solenoid B-1 Modulator Valve No. 1
(395)Solenoid B-1 Modulator Valve No. 1 Sleeve
(396)Accumulator Regulator Valve Sleeve
(397)Accumulator Regulator Valve Plunger
(398)Accumulator Regulator Valve Spring
(399)Accumulator Regulator Valve
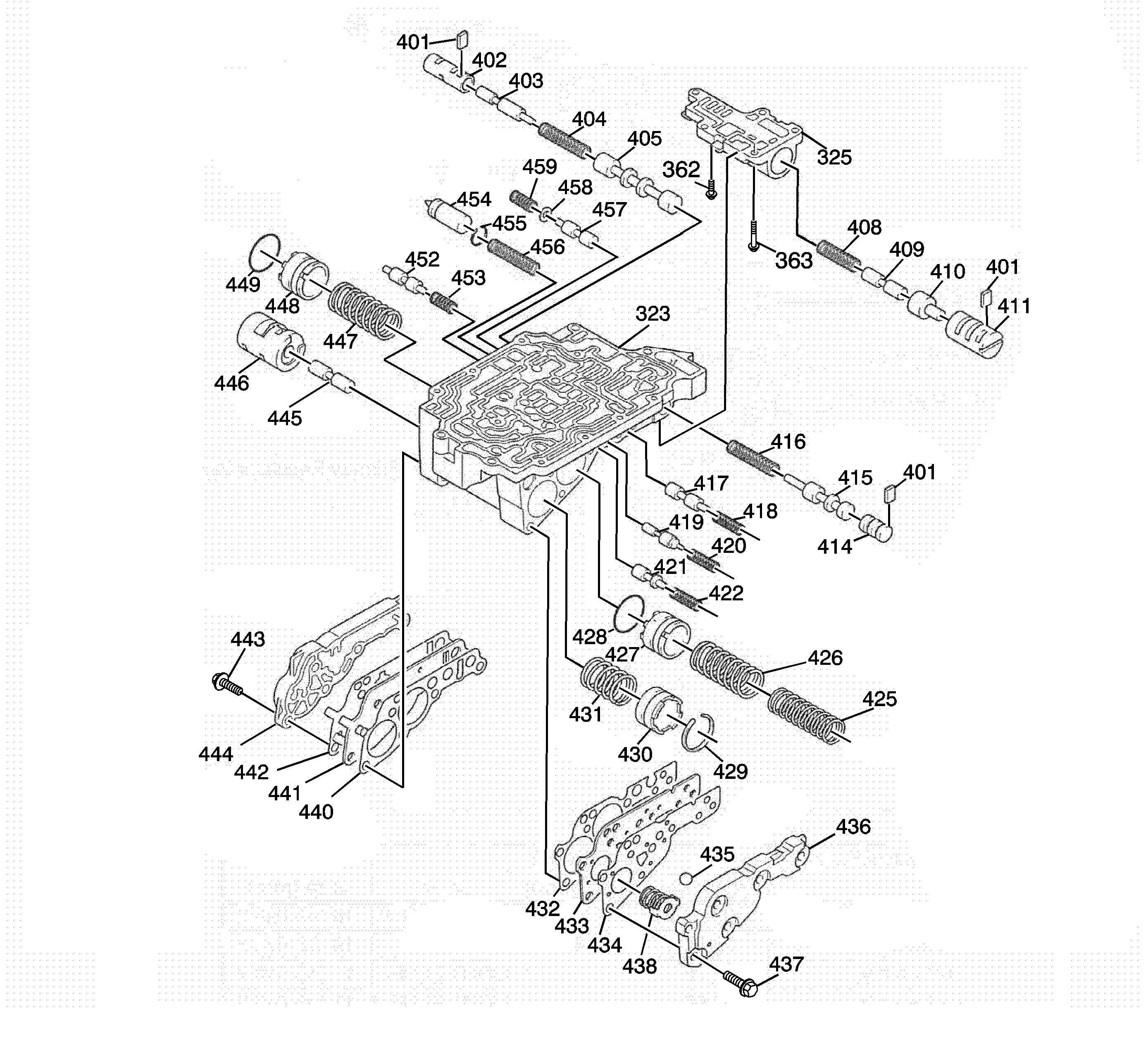
Figure 11:

Rear Valve Body and No. 2 Rear Valve Body Assemblies


Object Number: 2003496  Size: LF
(323)Rear Control Valve Body Assembly
(325)No. 2 Rear Control Valve Body Assembly
(362)No. 2 Rear Control Valve Body Bolts (Qty: 3)
(363)No. 2 Rear Control Valve Body Bolts (Qty: 2)
(401)Sleeve/Bore Plug Retainer
(402)Lock Up Relay Control Valve Sleeve
(403)Lock Up Relay Control Valve Plunger
(404)Lock Up Relay Control Valve Spring
(405)Lock Up Relay Control Valve
(408)Lock Up Control Valve Spring
(409)Lock Up Control Valve
(410)Lock Up Control Valve Plunger
(411)Solenoid Modulator Valve Bore Plug
(414)Solenoid Modulator Valve Bore Plug
(415)Secondary Regulator Valve
(416)Secondary Regulator Valve Spring
(417)B-1 Modulator Control Valve
(418)B-1 Modulator Control Valve Spring
(419)Low Modulator Valve
(420)Low Modulator Valve Spring
(421)Solenoid Modulator Valve
(422)Solenoid Modulator Valve Spring
(425)C-2 Accumulator Inner Spring
(426)C-2 Accumulator Outer Spring
(427)C-2 Accumulator Piston
(428)C-2 Accumulator O-Ring Seal
(429)B-1 Accumulator Snap Ring
(430)B-1 Accumulator Piston
(431)B-1 Accumulator Split Seal Ring
(432)Rear Valve Body Cover No. 1 Gasket
(433)Rear Valve Body Cover No. 1 Plate
(434)Rear Valve Body Cover No. 1 Gasket
(435)Rear Valve Body Cover No. 1 Check Ball
(436)Rear Valve Body Cover No. 1
(437)Rear Valve Body Cover No. 1 Bolt
(438)B-1 Accumulator Counter Spring
(440)Rear Valve Body Cover No. 2 Gasket
(441)Rear Valve Body Cover No. 2 Plate
(442)Rear Valve Body Cover No. 2 Gasket
(443)Rear Valve Body Cover No. 2 Bolt
(444)Rear Valve Body Cover No. 2
(445)C-1 Control Valve
(446)C-1 Control Valve Sleeve
(447)C-0 Accumulator Spring
(448)C-0 Accumulator Piston
(449)C-0 Accumulator O-Ring Seal
(452)2-3 Timing Valve
(453)2-3 Timing Valve Spring
(454)C-1 Damper Piston
(455)C-1 Damper Piston Split Seal Ring
(456)C-1 Damper Spring
(457)C-3 Modulator Valve
(458)C-3 Modulator Valve Spring Seat
(459)C-3 Modulator Valve Spring
Figure 12:

1st and Reverse Clutch Assembly


Object Number: 1999539  Size: LF
(17)Transmission Case Assembly
(510)1st and Reverse Clutch Piston Inner Seal
(511)1st and Reverse Clutch Piston
(512)1st and Reverse Clutch Piston Outer Seal
(513)1st and Reverse Clutch Spring Assembly
(514)1st and Reverse Clutch Spring Retaining Ring
(516)1st and Reverse Clutch Plate Assembly -  Fiber
(517)1st and Reverse Clutch Plate - Steel
(518)1st and Reverse Clutch Backing Plate Retaining Ring
(519)1st and Reverse Clutch Backing Plate
Figure 13:

Front Planetary Ring Gear Assembly


Object Number: 1999541  Size: LF
(520)Overrun Clutch Inner Race
(521)Overrun Clutch Inner Race Thrust Washer
(522)Overrun Clutch Inner Race Thrust Bearing Race
(523)Overrun Clutch Inner Race Thrust Bearing with Race
(524)Overrun Clutch Retaining Ring
(525)Overrun Clutch End Bearing
(526)Overrun One-Way Clutch
(527)Overrun Clutch Thrust Washer
(528)Front Planetary Ring Gear
(529)Front Planetary Ring Gear O-Ring Seal
(530)Front Planetary Ring Gear Flange
(531)Front Planetary Ring Gear Flange Retaining Ring
(532)Front Planetary Ring Gear Flange Thrust Washer
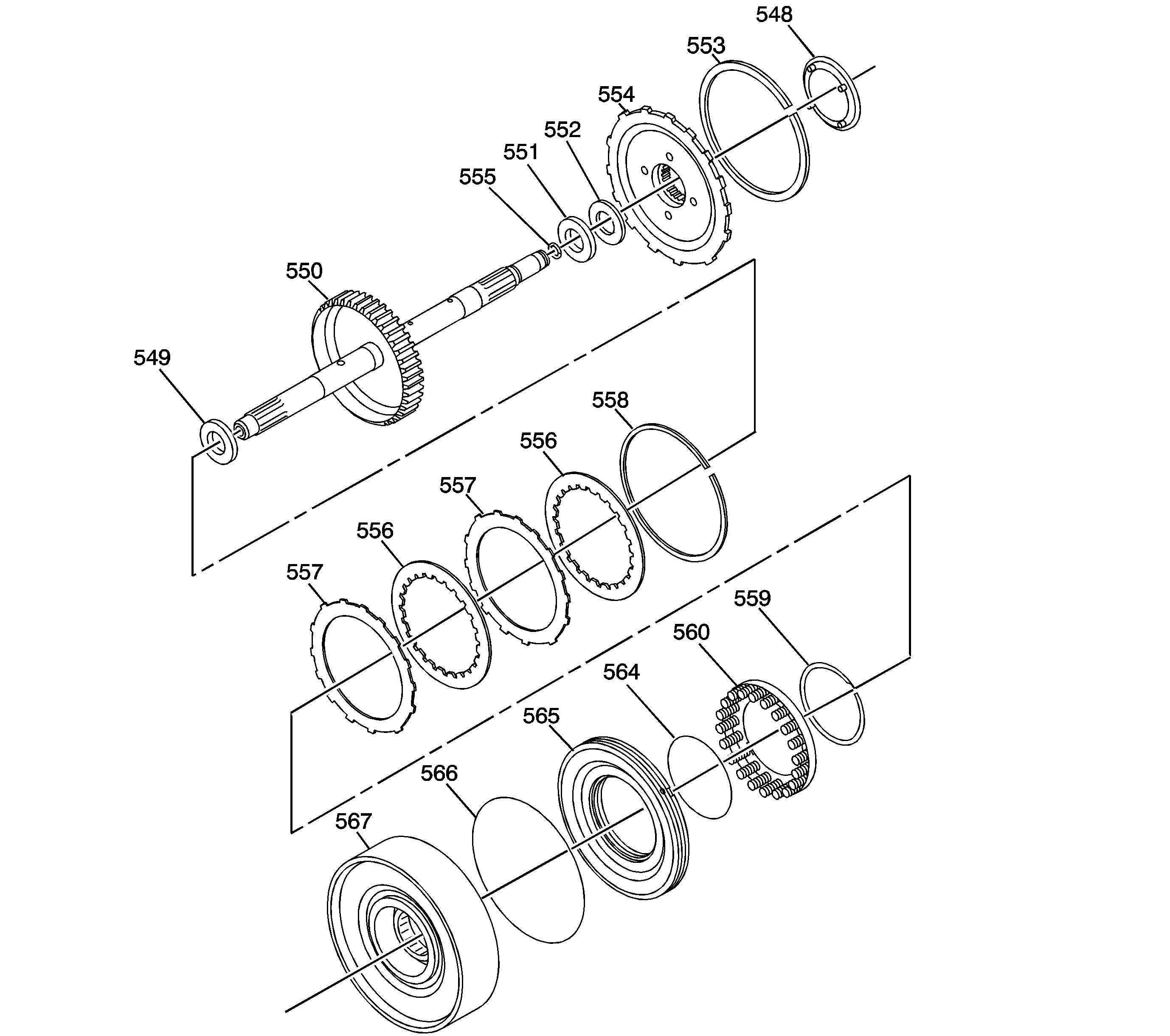
Figure 14:

Reverse Gear Clutch (C2) and Input Shaft Assembly


Object Number: 1999543  Size: LF
(548)Sun Gear Input Flange Thrust Washer
(549)Input Shaft Front Thrust Washer
(550)Input Shaft
(551)Input Shaft Thrust Bearing
(552)Input Shaft Thrust Bearing Race
(553)Sun Gear Input Flange Retaining Ring
(554)Sun Gear Input Flange
(555)Input Shaft Seal Ring - Slotted
(556)Reverse Gear Clutch Plate Assembly - Fiber
(557)Reverse Gear Clutch Plate Assembly - Steel
(558)Reverse Gear Clutch Plate Retaining Ring
(559)Reverse Gear Clutch Spring Retaining Ring
(560)Reverse Gear Clutch Spring
(564)Reverse Gear Clutch Piston Inner Seal
(565)Reverse Gear Clutch Piston
(566)Reverse Gear Clutch Piston Outer Seal
(567)Reverse Gear Clutch Drum
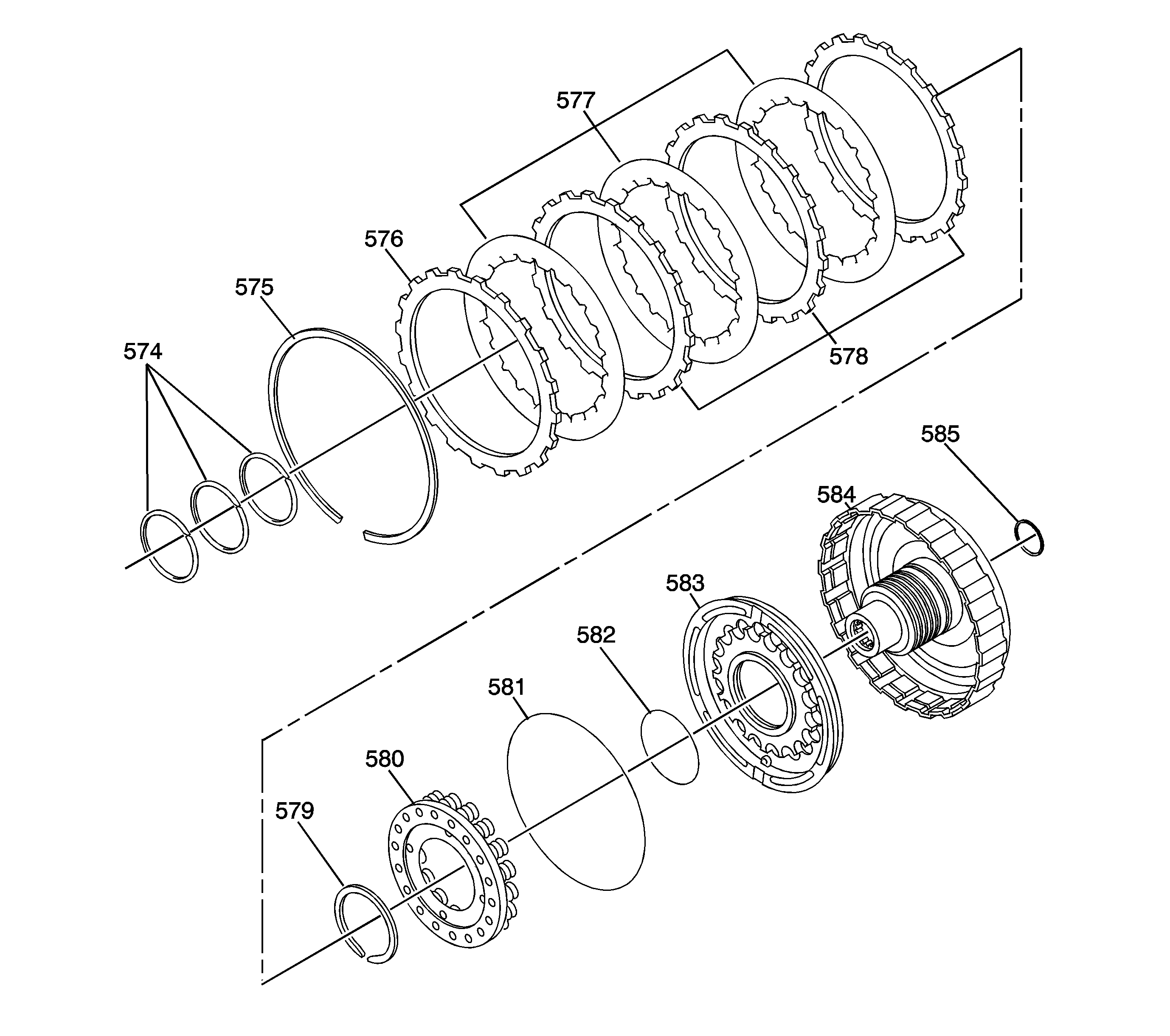
Figure 15:

Forward Clutch (C1) Assembly


Object Number: 1999544  Size: LF
(574)Forward Clutch Housing Seal - Slotted
(575)Forward Clutch Backing Plate Retaining Ring
(576)Forward Clutch Backing Plate
(577)Forward Clutch Plate Assembly - Fiber
(578)Forward Clutch Plate Assembly - Steel
(579)Forward Clutch Piston Return Spring Retaining Ring
(580)Forward Clutch Piston Return Spring Assembly
(581)Forward Clutch Piston Outer Seal
(582)Forward Clutch Piston Inner Seal
(583)Forward Clutch Piston
(584)Forward Clutch Housing
(585)Forward Clutch Housing Thrust Bearing Assembly
Figure 16:

Rear Planetary Ring Gear and Carrier Assembly


Object Number: 1999547  Size: LF
(541)Carrier Thrust Washer
(542)Carrier Assembly
(543)Carrier Thrust Bearing
(544)Sun Gear
(545)Sun Gear Thrust Bearing Assembly
(600)Overdrive Clutch Hub
(601)Overdrive Clutch Hub Retaining Ring
(602)Rear Planetary Ring Gear Thrust Bearing
(603)Sun Gear Thrust Bearing Race
(604)Rear Planetary Ring Gear Flange Retaining Ring
(605)Rear Planetary Ring Gear Flange
(606)Rear Planetary Ring Gear
(607)Coast Clutch Outer Race
(608)Coast Clutch End Bearing
(609)Coast One Way Clutch
(610)Coast Clutch Retainer Plate
(611)Coast Clutch Retainer Plate Retaining Ring
(612)Rear Ring Gear Rear Thrust Bearing Race
(613)Rear Ring Gear Rear Thrust Bearing
(614)Rear Planetary Ring Gear Flange Thrust Washer
Figure 17:

Differential Assembly


Object Number: 1999552  Size: LF
(10)Torque Converter Housing
(17)Transmission Case Assembly
(80)Front Wheel Drive Shift Oil Seal
(630)Front Differential Side Gear Thrust Washer
(631)Front Differential Side Gear
(632)Front Differential Pinion Shaft Thrust Washer
(633)Front Differential Pinion Gear
(634)Front Differential Ring Gear Mounting Bolt Lock
(635)Front Differential Ring Gear
(636)Front Differential Ring Gear Mounting Bolt
(637)Front Differential Tapered Outer Roller Bearing
(638)Front Differential Speed Sensor Reluctor Wheel
(639)Front Differential Pinion Shaft Retaining Pin
(640)Front Differential Carrier Assembly
(641)Front Differential Tapered Outer Roller Bearing
(642)Front Differential Pinion Shaft
(645)Front Differential Carrier Bearing Shim - Selective
(646)Front Differential Carrier Bearing Race
(647)Front Differential Carrier Bearing Race
(800)Front Differential Carrier Seal Assembly
Figure 18:

Parking System Components


Object Number: 1999550  Size: MF
(17)Transmission Case Assembly
(700)Park Pawl Shaft
(701)Park Pawl Spring - Return
(702)Park Pawl
(703)Park Pawl Locking Pin
(704)Park Pawl Pin Spring
(705)Park Pawl Pin Spring Guide Sleeve
(708)Park Pawl Lock Guide
(709)Park Pawl Actuator Rod
(710)Manual Shift Shaft Detent Assembly
(711)Manual Shift Shaft Detent Lever Spring
(712)Manual Shaft Detent Spring Bolt M6 x 1.0 x 14 (Qty: 2)
(713)Manual Shift Shaft Seal Assembly
(714)Manual Shift Shaft Spacer
(715)Manual Shift Shaft Detent Lever Bolt M6 x 1.0 x 14 (Qty: 1)
(716)Manual Shift Shaft
(717)Park Pawl Stop Pin
(718)Manual Shift Shaft Detent Lever Bolt M6 x 1.0 x 28 (Qty: 1)
(719)Manual Shift Shaft Locking Pin
Figure 19:

Torque Converter Housing Assembly


Object Number: 1999551  Size: LF
(10)Torque Converter Housing
(40)Fluid Passage Plug
(41)Fluid Passage Plug Seal
(262)Front Differentail Transfer Drive Gear Front Thrust Bearing Assembly
(800)Front Differential Carrier Seal Assembly
(801)Torque Converter Housing Bolt M8  1.0 x 39 (Qty: 2)
(802)Torque Converter Housing Bolt M8 x 1.0 x 30 (Qty: 10)
(803)Lube Fluid Pipe Retainer
(804)Lube Fluid Pipe Retainer Bolt M6 x 1.0 x 12 (Qty: 1)
(805)Lube Fluid Pipe
(806)Front Differential Transfer Drive Gear Assembly Bearing Retainer
(807)Front Differential Transfer Drive Gear Assembly Bearing Retainer Bolt M8 x 1.0 x 20 (Qty: 1)
(808)Front Differential Transfer Drive Gear Assembly Bearing
(810)Transmission Fluid Baffle Bolt M6 x 1.0 x 12 (Qty: 3)
(811)Transmission Fluid Baffle
(812)Chip Collector Magnet
(813)Torque Converter Housing Bolt M8 x 1.0 x 25 (Qty: 2)
(815)Automatic Transmission Fluid Pressure Test Hole Plug O-Ring Seal
(816)Automatic Transmission Fluid Pressure Test Hole Plug
(819)Transmission Fluid Drain Plug
(820)Transmission Fluid Drain Plug Washer