GM Service Manual Online
For 1990-2009 cars only

Transmission Replacement Engine and Transmission

Special Tools

    • DT-47648 /DT-47648-2/DT-47648-3/DT-47648-5 Left/DT-47648-5 Right Transmission Holder
    • KM-904 Base Frame
    • KM-911
    • KM-924 Blanking Plugs
    • KM-6001-A Engine Mount
    • KM-6388 Bracket
    • Graphic/Decal/Emblem Location Specifications Engine Bridge

Removal Procedure

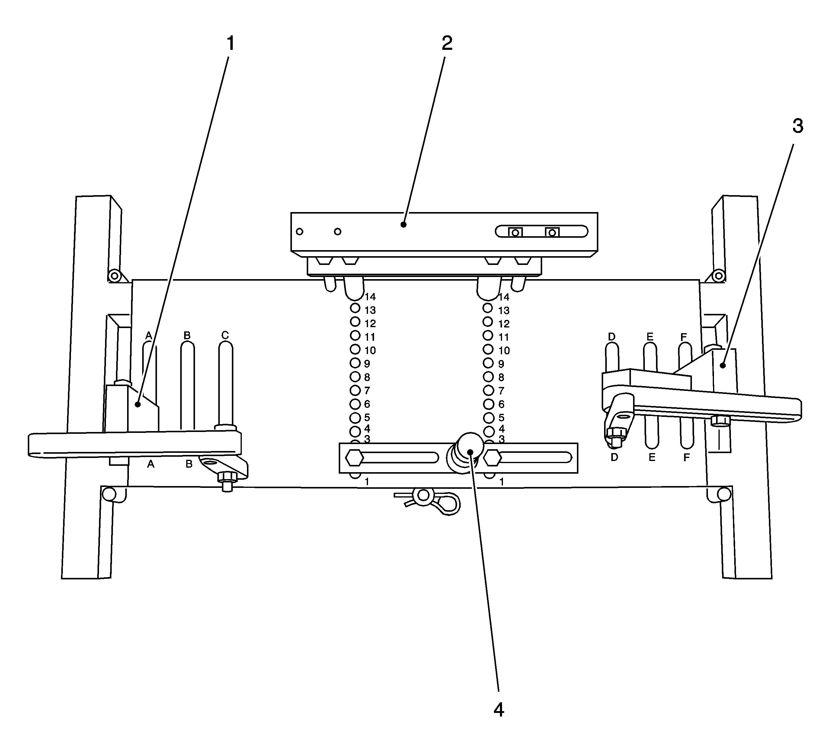
Note: In order to ensure that the drive unit is correctly aligned when the bolts for the left engine damping block are slackened, the drive unit must be aligned with the front axle body using KM-6001-A . Instructions for attaching KM-6001-A are given in the following.

  1. Remove the battery and the battery tray. Refer to Battery Tray Replacement.
  2. Remove the front exhaust pipe, catalytic converter and center silencer. Refer to Exhaust System Replacement.

  3. Object Number: 1948649  Size: LF
  4. Install KM-6001-A to the front axle body.
  5. • Release the 2 bolts (arrows) for the adjusting rails on KM-6001-A  (1).

       Note: Two pins (2 and 5) must sit in the guide holes of the front axle body.

    • Insert the KM-6001-A as shown.

    Tighten
    Tighten the 2 bolts for the adjustment rails.

       Note: The guide pins must sit in the support bearings free of play.

    • Twist the front support bearing (4) as far up the stop on the guide pin of the front engine mount.

       Note: The guide pins must sit in the support bearings free of play.

    • Twist up the rear support bearing (3) as far as the stop on the guide pin of the rear engine damping block bracket.
  6. Release and disconnect the wiring harness plug for the selector lever position switch (2).
  7. Open the lock in the direction of the arrow.

  8. Release and disconnect the wiring harness plug (3) for the transmission wiring harness.
  9. Open the lock in the direction of the arrow.

  10. Disconnect the selector cable from the counterhold.
  11. • Open the retaining clamp (1).
    • Remove the selector cable (4) from the selector lever.

    Object Number: 1947912  Size: SH
  12. Remove the selector cable bracket.
  13. Remove the 2 bolts (1).

  14. Remove the fluid filler tube (2) with the dipstick.
  15. Remove the nut.


    Object Number: 1947908  Size: SH
  16. Release the transmission at the top.
  17. Remove the 3 bolts (1).

    Note: KM-6001-A remains on the front axle body and may not be moved.

  18. Remove the front frame. Refer to Front Frame Replacement.
  19. Note: Place a drain pan underneath - transmission fluid escapes. Axle shafts remain in the wheel hubs. Install the axle shafts to the underbody.

  20. Remove the 2 axle shafts from the transmission. Refer to Wheel Drive Shaft Replacement.
  21. Seal the 2 apertures in the transmission with the plugs.


    Object Number: 1947856  Size: SH
  22. Remove the converter from the drive disc.
  23. • Remove the 2 sealing plugs.
    • Lock the drive disc with KM-911  (2).

       Note: Turn the drive disc by a further 120 degrees each time.

    • Remove the 3 bolts (1).

    Object Number: 1937832  Size: LH

    Note: Place a drain pan underneath - transmission fluid escapes. Note the allocation of the fluid cooler lines.

  24. Remove the 2 fluid cooler lines (1) from the transmission.
  25. • Remove the 2 retaining clamps (2).
    • Seal the apertures in the transmission with KM-924 .
  26. Remove the front engine damping block.
  27. Remove 2 bolts (3).


    Object Number: 1947924  Size: SH
  28. Remove the wiring harness bracket.
  29. Remove the bolt (1).

  30. Remove the rear engine mount.
  31. Remove the 3 bolts (2).

  32. Remove the transmission venting hose from the transmission.

  33. Object Number: 1947910  Size: SH
  34. Remove the left engine mount from the engine mount bracket.
  35. Remove the 3 bolts (1).

    Note: Do not damage the wiring harnesses and attaching parts.

  36. Lower the engine and the transmission with MKM-883-1 approximately 5 cm.

  37. Object Number: 1947933  Size: SH
  38. Remove the transmission from the oil pan.
  39. • Remove the 3 M10 bolts (1).
    • Remove the M10 bolt connection (2).

    Object Number: 1947841  Size: LF
  40. Position the transmission holder DT-47648 on KM-904 and pre-install as shown in the illustration.
  41. • Converter housing support.
       - Position on the base plate: 2
       - Component: DT-47648 DT-47648-2 (4)
    • Transmission housing support
       - Position on base plate: 14
       - Component: DT-47648 DT-47648-3 (2)
    • Support with rear the transmission swivel arm.
       - Position on base plate: A
       - Component: DT-47648 DT-47648-5 Left (1)
    • Support with the front transmission swivel arm
       - Position on base plate: F
       - Component: DT-47648 DT-47648-5 Right (3)

    Object Number: 1947871  Size: SH

    Note: 

       • It is important that the manufacturer instructions for transmission holder DT-47648 are followed.
       • Before placing in position slacken all bolt connections of the swivel arms and supports as far as the base plate. Adjust the supports for the converter housing and transmission housing using the spindles until they are as low as possible.

  42. Install the transmission holder DT-47648 to the transmission.
  43. • Align the transmission holder DT-47648 under the transmission.
    • Install the 2 swivel arms (1) to the transmission.

       Note: Align the swivel arms so that as little leverage as possible is created.

    • Tighten the bolt connections of the swivel arms, starting from the transmission and going as far as the base plate.
    • Position the supports for the converter housing and the transmission housing on the transmission.
    • Twist up the spindles (2).
    • Tighten the bolt connections for the supports.

    Object Number: 1947887  Size: LF
  44. Remove the transmission.
  45. • Remove the 2 M12 bolts (1).
    • Press the transmission off the engine and slowly lower the hydraulic jack.
    • Install KM-6388  (1).

    Object Number: 1936195  Size: SH
  46. Secure the torque converter so it does not fall out.
  47. Note: Do not damage the attaching parts when putting the transmission down.

  48. If required, remove the transmission from the transmission holder DT-47648 .
  49. When replacing the transmission:
  50. • Drain the oil cooler as much as possible.
    • Blow the low-pressure compressed air through the oil cooler.
    • Blow the low-pressure compressed air in both directions through the fluid cooler lines from the connections.
    • Transfer the attaching parts.

Installation Procedure


    Object Number: 1936390  Size: LH

    Note: It is important that the manufacturer instructions for DT-47648 are followed. Before installing the transmission, thinly coat the centering seat (arrow) for the converter in the crankshaft with grease. When replacing the transmission, ensure that the two guide bushings (1) sit in the engine flange.

  1. If required, install the transmission to the transmission holder DT-47648 .
  2. Inspect the converter centering journal (3) for fretting.
  3. Clean if necessary.

  4. Measure the distance between the converter connecting threads and the mating surface of the transmission housing with a caliper gage (2).
  5. Distance
    approximately 12 mm


    Object Number: 1937835  Size: SH
  6. Recut the thread (arrows) in the converter.
  7. Remove KM-6388 .

  8. Object Number: 1947887  Size: LF
  9. Raise the transmission with the hydraulic jack and the transmission holder DT-47648 and align it.
  10. Note: Ensure it is perfectly seated. Do not damage wiring harnesses and attaching parts.

  11. Position the transmission evenly on the engine.
  12. Caution: Refer to Fastener Caution in the Preface section.

  13. Fasten the transmission to the engine with 2 bolts.
  14. Tighten
    Tighten the 2 M12 bolts (1) to 60 N·m (44 lb ft).

  15. Remove the transmission holder DT-47648 from the transmission.
  16. • Remove the 2 bolts.
    • Lower the hydraulic jack with the transmission holder DT-47648 and pull out.

    Object Number: 1947933  Size: SH
  17. Fasten the transmission at the bottom.
  18. • Install the transmission on fluid sump.
    • Tighten 3 M10 bolts (1).

    Tighten
    Tighten the 3 M10 bolts to 40 N·m (30 lb ft).

    • Tighten the bolt connection (2).

    Tighten
    Tighten bolt connection to 40 N·m (30 lb ft).


    Object Number: 1947856  Size: SH
  19. Install the converter to the drive disc.
  20. • Lock the drive disc with KM-911  (2).

       Note: Insert the bolts with locking compound. Turn drive disc by a further 120 degrees each time.

    • Tighten 3 bolts (1).

    Tighten

       • 

    Stage 1: Tighten 3 bolts evenly to 20 N·m (15 lb ft).

       • 

    Stage 2: Tighten 3 bolts to 45 N·m (33 lb ft) plus 20 degrees, plus 25 degrees.

    • Remove KM-911 .
  21. Install the 2 covers to the transmission.

  22. Object Number: 1938517  Size: SH
  23. Install the engine mount to the transmission at the front.
  24. Tighten
    Tighten the 2 bolts (1) 80 N·m (59 lb ft).


    Object Number: 1947924  Size: SH
  25. Install the rear engine damping block to the transmission.
  26. Tighten
    Tighten the 3 bolts (2) 80 N·m (59 lb ft).

  27. Install the wiring harness bracket.
  28. Tighten the bolt (1).

  29. Install the axle shafts in the transmission. Refer to Wheel Drive Shaft Replacement.

  30. Object Number: 1937823  Size: SH

    Note: Note the allocations.

  31. Install the oil cooler lines to the transmission.
  32. Note: Fluid cooler lines must be heard to engage.

  33. Use 2 NEW O-rings (1).
  34. Raise the engine and the transmission with MKM-883-1 and align.

  35. Object Number: 1947910  Size: SH
  36. Install the left engine mount to the engine mount bracket.
  37. Note: Do not tighten the 3 bolts yet.

  38. Install the 3 bolts (1).
  39. Note: When installing the front axle body, ensure that the support bearings with KM-6001-A sit properly in the guide pin of the front engine damping block and the rear engine damping block bracket. If necessary: correct installation position of engine and transmission using MKM-883-1 .

    Note: Do not yet install front exhaust pipe, catalytic converter, center muffler, battery support and battery.

  40. Install front frame. Refer to Front Frame Replacement.
  41. Fasten the left engine mount.
  42. Tighten
    Tighten the 3 bolts (1) to 55 N·m (40 lb ft).


    Object Number: 1947908  Size: SH
  43. Secure the transmission at the top.
  44. Tighten
    Tighten the 3 bolts (1) to 60 N·m (44 lb ft).


    Object Number: 1947912  Size: SH
  45. Install the selector cable bracket.
  46. Tighten
    Tighten the 2 bolts (1) to 20 N·m (15 lb ft).

    Note: Use new seal ring.

  47. Install the fluid filler tube (2) with dipstick.
  48. Tighten the nut.

  49. Connect the transmission venting hose to the transmission.
  50. Install the selector actuation cable.
  51. • Install to the selector actuation cable bracket.
    • Install to the actuation lever.
  52. Connect and lock the wiring harness plug for the transmission wiring harness.
  53. Connect and lock the selector lever position switch wiring harness plug.
  54. Adjust the range selector cable. Refer to Range Selector Lever Cable Adjustment.
  55. Install the battery tray and battery. Refer to Battery Tray Replacement.
  56. Remove KM-6001-A .
  57. Install the front exhaust pipe, catalytic converter and center silencer. Refer to Exhaust System Replacement.
  58. Inspect the transmission fluid level. Refer to Transmission Fluid Check.
  59. For programming procedures, refer to Control Module References.

Transmission Replacement Transmission Only

Special Tools

    • KM-313 Sliding Hammer
    • OTC 1726 /KM-412-31-2/KM-412-A Engine Overhaul Stand
    • KM-460-B Axle Shaft Remover
    • KM-6003 Remover
    • KM-6349 Fixing Rod

Removal Procedure


    Object Number: 1945833  Size: SH

    Note: Engine with the automatic transmission removed.

  1. Remove the coolant return hose and the throttle valve pre-heating (1) from the coolant expansion tank.
  2. • Release the clamp.
    • Remove from the bracket.

    Object Number: 1945831  Size: SH
  3. Remove the upper radiator hose (1) from the thermostat (2).
  4. Release the clamp.

  5. Remove the lower radiator hose from the coolant pump.
  6. • Release the clamp.
    • Remove from the bracket.

    Object Number: 1945832  Size: SH
  7. Remove the refrigerant lines (1) from the compressor.
  8. Remove the bolt (2).


    Object Number: 1945830  Size: SH
  9. Disconnect the 3 wiring harness plugs.
  10. • Compressor (1)
    • Manometric switch, condenser (2)
      Remove the wiring harness.
    • Temperature sensor, radiator (3)

    Object Number: 1939095  Size: SH
  11. Remove the 2 transmission fluid lines (1) from the automatic transmission.
  12. Lever off the 2 retaining clamps (2) from the quick coupling.


    Object Number: 1936684  Size: LF
  13. Remove the cooling module (1).
  14. Remove from the lower radiator brackets.

  15. Place a drain pan underneath.

  16. Object Number: 1948685  Size: SH
  17. Remove the right-hand frame.
  18. • Remove the frame with KM-460-B  (1) from the differential gear.
    • Seal the opening in the differential with a sealing plug.

    Object Number: 1948718  Size: LH
  19. Remove the left-hand frame.
  20. • Remove the frame with KM-313 and KM-6003  (1) from the differential gear.
    • Seal the opening in the differential with sealing plug.

    Object Number: 1944397  Size: SH
  21. Remove the oil dipstick guide tube (2).
  22. • Remove the bolt (1).
    • Remove the oil dipstick guide tube upward.
  23. Remove the wiring harness plug of the catalytic converter control oxygen sensor.
  24. • Disconnect the wiring harness connector.
    • Remove from the bracket.

    Object Number: 1944913  Size: SH
  25. Remove the drive belt.
  26. • Apply tension to the drive belt tensioner in the direction of the arrow at the projection (1) and lock with KM-6349  (2).
    • Remove the drive belt.
  27. Remove the exhaust manifold heat shield.
  28. Remove the 3 bolts.


    Object Number: 1945835  Size: MF
  29. Remove the bracket for the catalytic converter (1) from the cylinder block.
  30. Remove the 2 bolts (2, 3).


    Object Number: 1945773  Size: SH
  31. Remove the exhaust manifold.
  32. Remove the 9 nuts (1).


    Object Number: 1945764  Size: SH
  33. Remove the compressor.
  34. Remove the 3 bolts (1).


    Object Number: 1945800  Size: SH
  35. Remove the coolant pipe (1) between the thermostat housing and the oil filter housing.
  36. • Remove the 2 bolts (2).
    • Draw out of the oil filter housing.

    Object Number: 1945808  Size: SH
  37. Remove the coolant pipe (1) from the coolant pump.
  38. • Remove the 2 bolts (2).
    • Push the coolant pipe into the oil filter housing.

    Object Number: 1945810  Size: SH
  39. Remove the oil filter housing (3).
  40. • Release the coolant pipe (1) and push into the oil filter housing.
      Remove the bolt (2).
    • Remove the 4 bolts (4).

    Object Number: 1945774  Size: SH
  41. Remove the intake manifold support (2).
  42. • Disconnect the wiring harness plug of the catalytic converter control oxygen sensor.
    • Remove the wiring harness plug (1) from the bracket.
    • Remove the 2 bolts (3).

    Object Number: 1936908  Size: LH
  43. Disconnect the alternator from the power supply.
  44. Remove the 2 nuts (1, 2).

  45. Remove the alternator.
  46. Remove the 2 bolts (3, 4).


    Object Number: 1945790  Size: SH
  47. Remove the negative cable (1) from the starter.
  48. Remove the nut.

  49. Remove the 2 positive cables (2) from the starter.
  50. Remove the 2 nuts.


    Object Number: 1945791  Size: SH
  51. Remove the starter.
  52. • Remove the wiring harness plug for the oxygen sensor of the catalytic converter control from the bracket.
    • Remove the 2 bolts (1) and (2).

    Object Number: 1945836  Size: SH
  53. Install OTC 1726 KM-412-31-1 (1).
  54. Tighten
    Tighten the 3 bolts (2) to 5 N·m (44 lb in).


    Object Number: 1937131  Size: SH
  55. Install OTC 1726  (1).
  56. Tighten
    Tighten the 3 bolts to 5 N·m (44 lb in).

  57. Attach the engine up to the workshop crane.
  58. Install the holding ropes to the engine transport shackles.


    Object Number: 1948720  Size: LH
  59. Remove the front engine mount.
  60. Remove the screw connection (1).

  61. Remove the rear engine mount.
  62. Remove the screw connection (2).

  63. Lift the motor away from the front axle body.
  64. With the aid of an assistant, install the engine on the engine overhaul stand OTC 1726 KM-412-A.
  65. Remove the holding ropes from the engine transport shackles.


    Object Number: 1947813  Size: SH
  66. Remove the gearshift cable bracket (1) from the transmission.
  67. Remove the 2 bolts (2).


    Object Number: 1947814  Size: SH

    Note: Lock the torque converter with the appropriate counterstay (1).

  68. Remove the torque converter from the drive disc.
  69. • Remove the 2 sealing plugs.
    • Turn the engine towards the torsional vibration damper until the relevant screw is accessible.
    • Remove the 3 bolts.

    Object Number: 1948673  Size: SH

    Note: One bolt remains as a retaining device.

  70. Remove the transmission (1) from the engine.
  71. Remove the 7 bolts.

    Note: Torque converter must remain in the transmission.

  72. Remove the gearbox.
  73. • Attach the holding ropes.
    • Hitch the gearbox up to the workshop crane.

       Note: Ensure that installed parts and the wiring harnesses are undamaged.

    • Remove the bolt.

Installation Procedure


    Object Number: 1937646  Size: SH
  1. Measure the resistance, torque converter in the transmission.
  2. • Measure with measuring device (1).
    • Distance: approximately 12 mm

    Object Number: 1938516  Size: SH
  3. Coat the centering seat (arrow) for the torque converter in the crankshaft with grease.
  4. Check the correct seating of the 2 guide bushes (1) in the engine flange.

  5. Object Number: 1937835  Size: SH
  6. Cut thread (arrows) in the torque converter.
  7. Install the gearbox.
  8. • Install the gearbox up to the workshop crane.
    • Install the transmission to the engine.
    • Screw in the bolt.
    • Remove the workshop crane.
    • Remove the holding ropes.

    Caution: Refer to Fastener Caution in the Preface section.

  9. Install the transmission to the engine.
  10. • Install the transmission to the cylinder block.

    Tighten
    Tighten the 4 bolts to 60 N·m (44 lb ft).

    • Install the transmission to the oil pan.

    Tighten
    Tighten the 3 bolts to 40 N·m (29 lb ft).

    Note: Insert bolts with the locking compound. Insert the bolts in two stages.

  11. Install the torque converter to the drive disc.
  12. • Tighten the 3 bolts.

    Tighten

       • 

    Tighten the 3 bolts to 20 N·m (15 lb ft).

       • 

    Tighten the 3 bolts to 45 N·m (33 lb ft) plus 30 degrees.

    • Install the covers.
  13. Attach the engine up to the workshop crane.
  14. Install the holding ropes to the engine transport shackles.

  15. With the aid of an assistant, remove the engine from the engine overhaul stand OTC 1726 KM-412-A.
  16. Raise the engine carefully.

  17. Install the rear engine mount, front frame.
  18. Tighten
    Tighten the screwed joint to 55 N·m (40 lb ft).

  19. Use NEW nuts.
  20. Install the front engine mount to the front frame.
  21. Tighten
    Tighten the screwed joint to 55 N·m (40 lb ft).

  22. Use new nuts.
  23. Remove OTC 1726 KM-412-31-1 and OTC 1726 KM-412-31-2 from the cylinder block.
  24. Remove the 6 bolts.

  25. Install the alternator.
  26. Tighten
    Tighten the 2 bolts to 35 N·m (25 lb ft).

  27. Install the starter.
  28. Tighten
    Tighten the 2 bolts to 25 N·m (18 lb ft).

  29. Connect the wiring harness plug for the oxygen sensor of the catalytic converter control to bracket.
  30. Install the starter wiring harness.
  31. Tighten
    Tighten the 2 nuts to 12.5 N·m (110 lb in).

  32. Install the negative cable.
  33. Tighten
    Tighten the nut to 5 N·m (44 lb in).

  34. Connect the generator wiring harness.
  35. Tighten
    Tighten the 2 nuts to 7 N·m (62 lb in).

  36. Install the intake manifold bracket.
  37. Tighten
    Tighten the 2 bolts to 8 N·m (71 lb in).

    • Connect the wiring harness plug to the bracket.
    • Connect the wiring harness plug for the catalytic converter control oxygen sensor.
  38. Clean the sealing surface.
  39. Replace the 4 coolant pipe seal rings.
  40. • Remove the 2 coolant pipes from the oil filter housing.
    • Insert the 2 coolant pipes in the oil filter housing.
  41. Install the oil filter housing.
  42. Tighten
    Tighten the 4 bolts to 25 N·m (18 lb ft).

    • Install the 3 new gaskets.
    • O-rings with white silicone grease
  43. Install the coolant pipe to the coolant module.
  44. • Remove the coolant pipe out from the oil filter housing.
    • Install the coolant pipe to the oil filter housing.

    Tighten
    Tighten the bolt to 25 N·m (18 lb ft).

  45. Install the module to the coolant pipe manifold.
  46. Remove the coolant pipe out from the oil pump housing.

    Tighten
    Tighten the 2 bolts to 8 N·m (71 lb in).

  47. Remove the coolant pipe, oil filter housing to the thermostat housing.
  48. • Replace the 2 gaskets.
    • Push into the oil filter housing.
    • Install the thermostat housing.

    Tighten
    Tighten the 2 bolts to 8 N·m (71 lb in).

  49. Install the compressor.
  50. Tighten
    Tighten the 3 bolts to 22 N·m (16 lb ft).

  51. Clean the sealing surface.
  52. Install the exhaust manifold with the catalytic converter.
  53. • Use a new gasket.

    Tighten
    Tighten the 9 new nuts to 20 N·m (15 lb ft).

    • Install the bracket to the cylinder block.

    Tighten
    Tighten the 2 bolts to 20 N·m (15 lb ft).

  54. Install the heat shield.
  55. Tighten
    Tighten the 3 bolts to 8 N·m (71 lb in).

    Note: Be careful of the wiring harness bracket.

  56. Install the wiring harness plug of the catalytic converter control oxygen sensor.
  57. • Connect the wiring harness plug.
    • Install the wiring harness plug.
  58. Install the dipstick guide tube.
  59. • Use a NEW gasket.
    • Insert the guide tube into the oil pan.

    Tighten
    Tighten the bolt to 8 N·m (71 lb in).


    Object Number: 1948721  Size: SH
  60. Install the left-hand mount.
  61. • Install the new circlip (1) to the mount.
    • Lubricate the teeth and the bearing points with engine oil.
    • Push the mount into the gearbox until the circlip engages.
  62. Install the right-hand mount.
  63. • Install the new circlip to the mount.
    • Lubricate the teeth and the bearing points with engine oil.
    • Push the mount into the gearbox until the circlip engages.
  64. Place the cooling module in position.

  65. Object Number: 1937823  Size: SH

    Note: Observe the correct assignment.

  66. Install the oil cooling lines to the transmission.
  67. Use the 2 NEW O-rings (1).

  68. Connect the 3 wiring harness plugs.
  69. • Temperature sensor, radiator
    • Compressor
    • Manometric switch, condenser
      Install the wiring harness.
  70. Attach the refrigerant line to the compressor.
  71. Use a new gasket.

    Tighten
    Tighten the bolt to 20 N·m (15 lb ft).

  72. Attach the lower radiator hose to the radiator.
  73. Install the bracket.

    Tighten
    Tighten the clamp

  74. Attach the upper radiator hose to the thermostat.
  75. Tighten the clamp.

  76. Attach the coolant return hose, throttle valve pre-heating to the coolant expansion tank.
  77. Install the bracket.

    Tighten
    Tighten the clamp.

  78. Inspect and correct the transmission fluid level. Refer to Fluid Capacity Specifications.