GM Service Manual Online
For 1990-2009 cars only

Cleaning and Inspection Procedure


    Object Number: 2008841  Size: SH
  1. Inspect the rear control valve body (323) for the following conditions:
  2. • Porosity
    • Cracks
    • Damaged machined surfaces
    • Chips or debris
  3. Clean all the valves, springs, bushings, and the rear control valve body (323) in solvent.
  4. Dry all the parts using compressed air.

Installation Procedure


    Object Number: 2008840  Size: SH
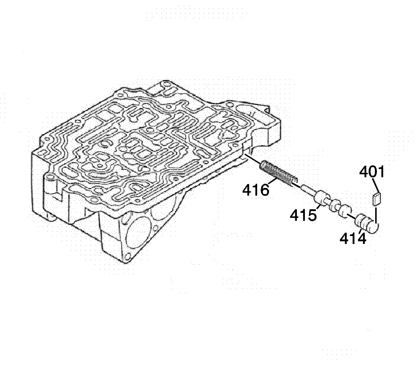
  1. Install the secondary regulator valve spring (416) and the secondary regulator valve (415).
  2. Install the solenoid modulator valve bore plug (414) and the sleeve/bore plug retainer (401).

  3. Object Number: 2008839  Size: SH
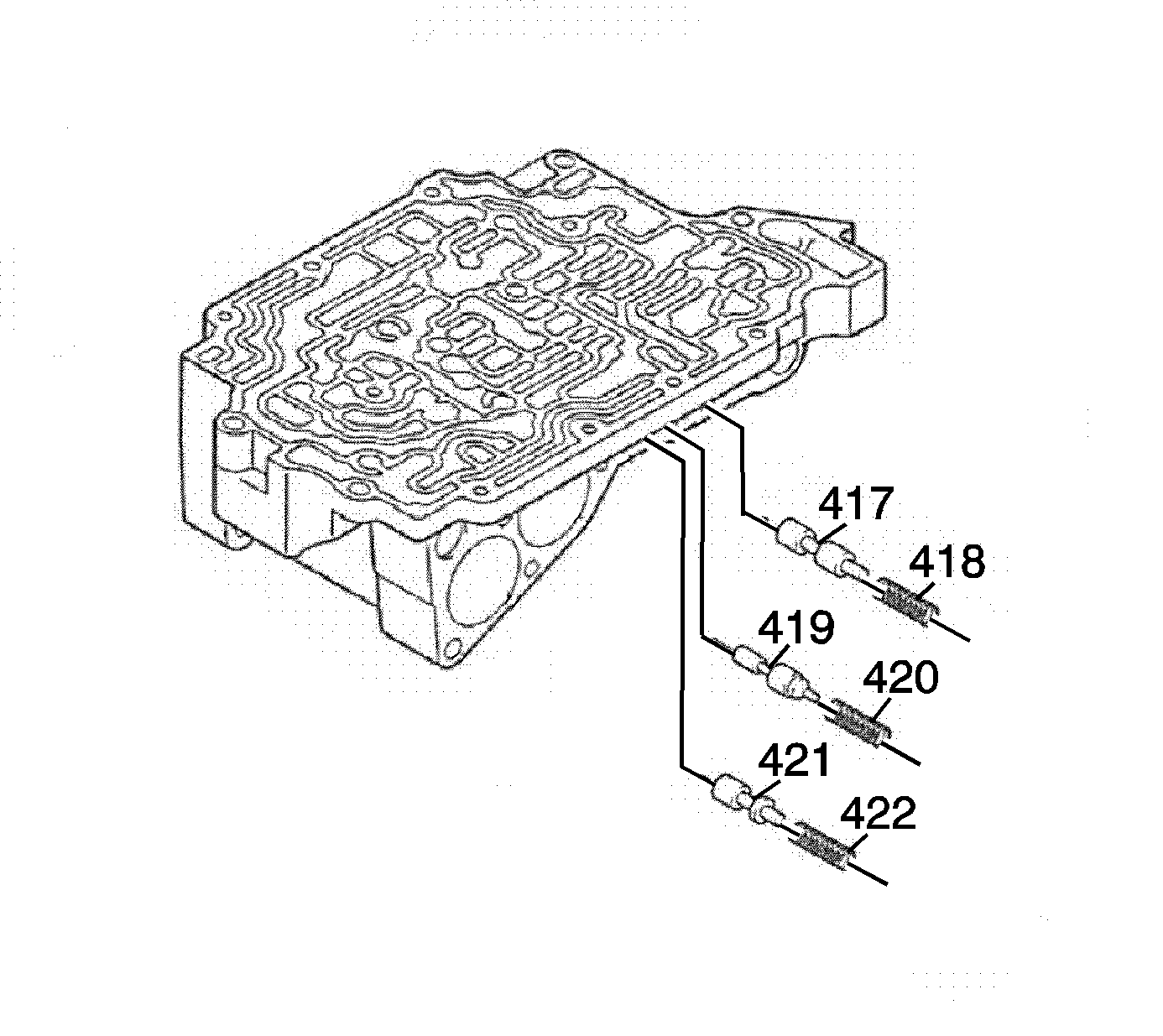
  4. Install the B-1 modulator control valve (417) and the B-1 modulator control valve spring (418).
  5. Install the low modulator valve (419) and the low modulator valve spring (420).
  6. Install the solenoid modulator valve (421) and the solenoid modulator valve spring (422).

  7. Object Number: 2008838  Size: SH
  8. Install the C-2 accumulator O-ring seal (428) and the C-2 accumulator piston (427).
  9. Install the C-2 accumulator outer spring (426) and the C-2 accumulator inner spring (425).

  10. Object Number: 2008837  Size: SH
  11. Install the B-1 accumulator spring (431) and the B-1 accumulator piston (430).
  12. Install the B-1 accumulator split seal ring (429).

  13. Object Number: 2008805  Size: SH
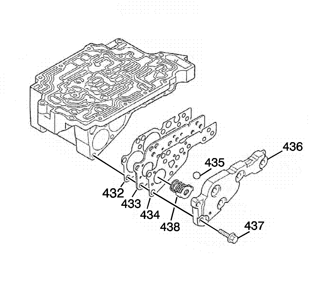
  14. Install the rear valve body cover No.1 gasket (432), plate (433) and plate gasket (434).
  15. Install the rear valve body cover No.1 check ball (435) and the B-1 accumulator counter spring (438).
  16. Install the rear valve body cover No.1 (436).
  17. Install the rear valve body cover No.1 bolts (437).

  18. Object Number: 2008804  Size: SH
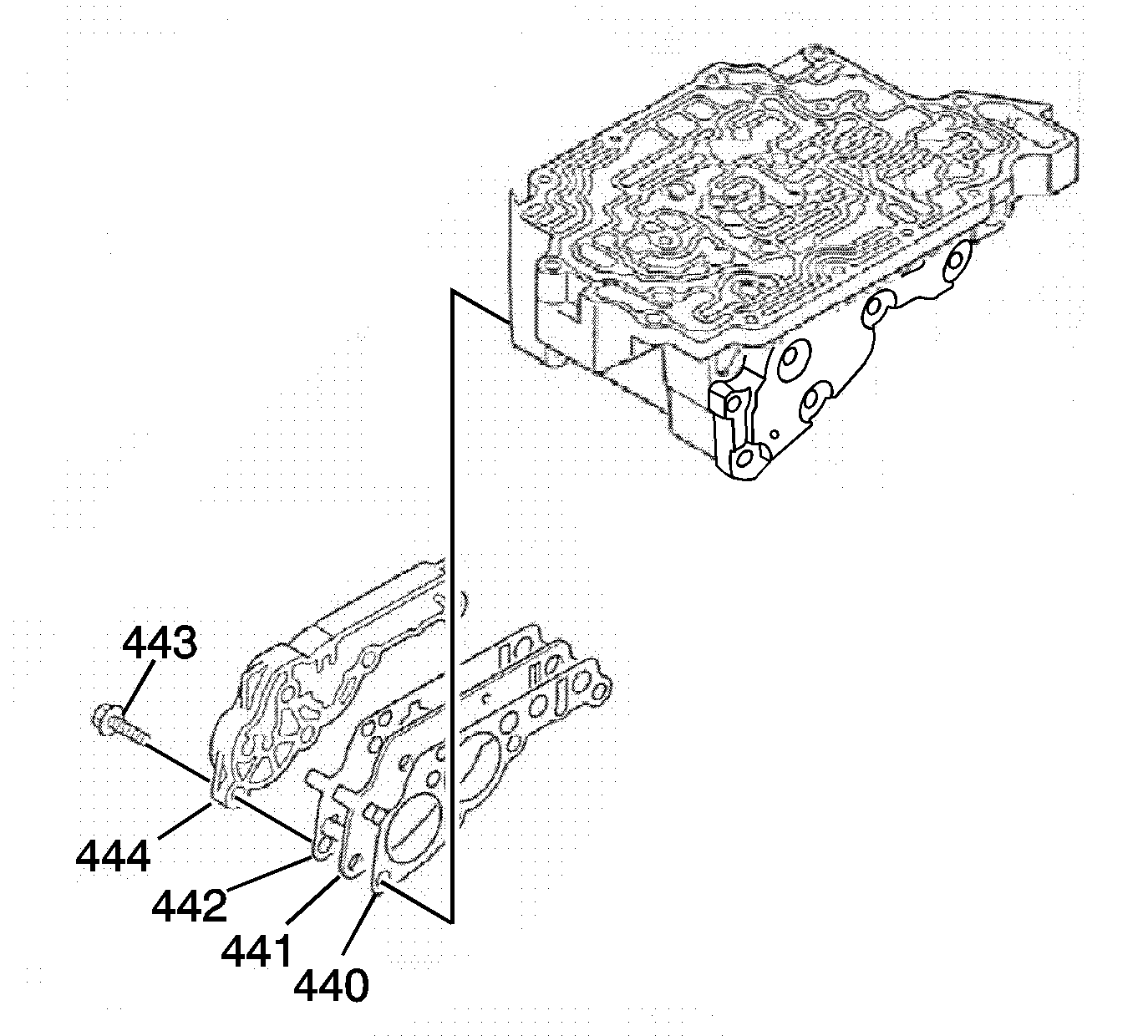
  19. Install the rear valve body cover No.2 gasket (440), plate (441) and plate gasket (442).
  20. Install the rear valve body cover No.2 (444).
  21. Install the rear valve body cover No.2 bolts (443).

  22. Object Number: 2008803  Size: SH
  23. Install the C-1 control valve (445).
  24. Install the C-1 control valve sleeve (446).

  25. Object Number: 2008802  Size: SH
  26. Install the C-0 accumulator spring (447).
  27. Install the C-0 accumulator piston (448).
  28. Install the C-0 accumulator O-ring seal (449).

  29. Object Number: 2008801  Size: SH
  30. Install the 2-3 timing valve spring (453).
  31. Install the 2-3 timing valve (452).

  32. Object Number: 2008800  Size: SH
  33. Install the C-1 damper spring (456).
  34. Install the C-1 damper piston split seal ring (455).
  35. Install the C-1 damper piston (454).

  36. Object Number: 2008799  Size: SH
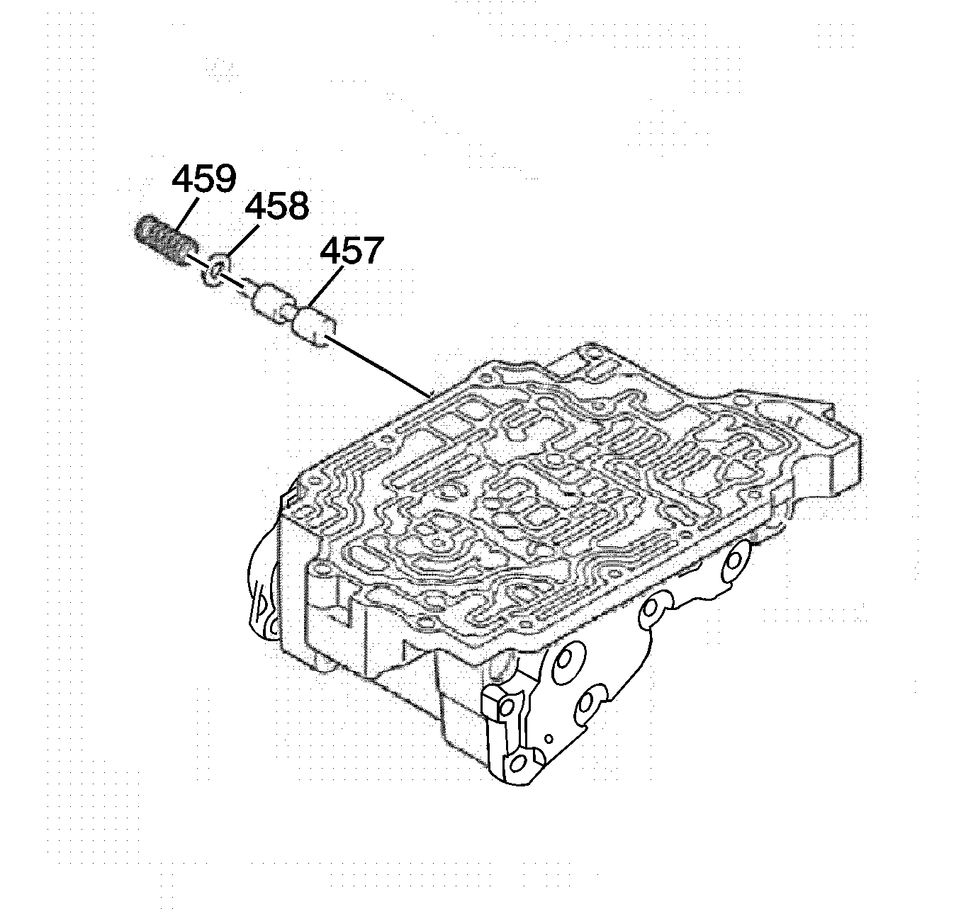
  37. Install the C-3 modulator valve (457).
  38. Install the C-3 modulator valve spring seat (458) and the C-3 modulator valve spring (459).

  39. Object Number: 2008798  Size: SH
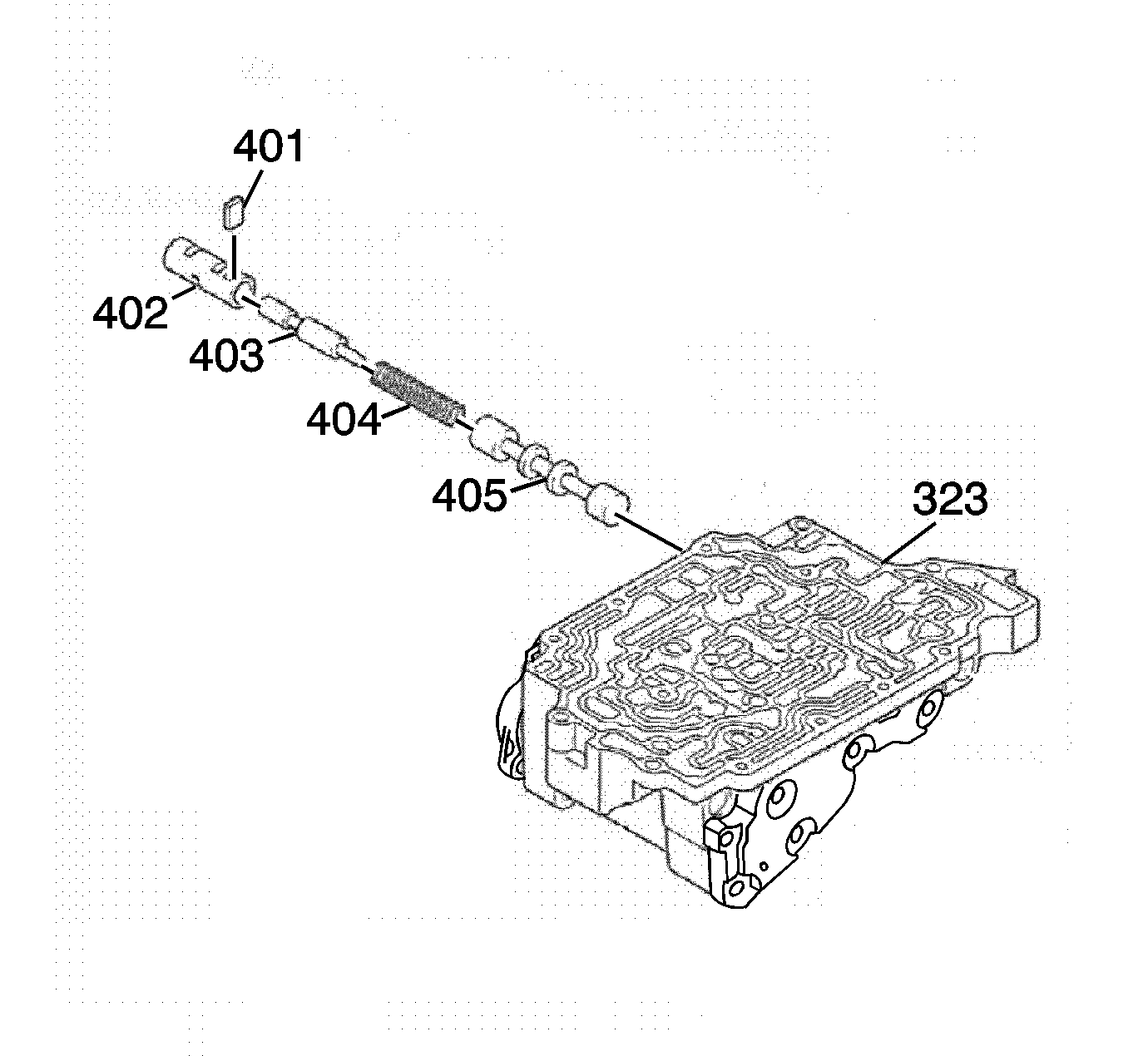
  40. Install the lock up relay control valve (405).
  41. Install the lock up relay control valve spring (404) and the lock up relay control valve plunger (403).
  42. Install the lockup relay control valve sleeve (402) and the sleeve/bore plug retainer (401).