GM Service Manual Online
For 1990-2009 cars only

Cleaning and Inspection Procedure


    Object Number: 2008776  Size: SH
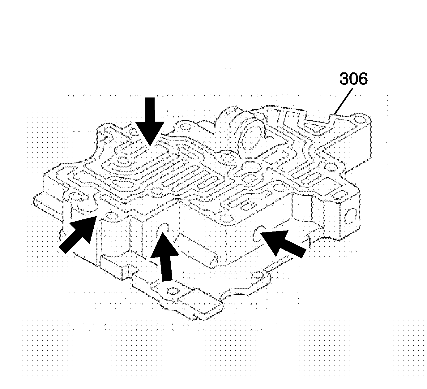
  1. Inspect the front control valve body (306), for the following conditions:
  2. • Porosity
    • Cracks
    • Damaged machined surfaces
    • Chips or debris
  3. Clean all the valves, springs, bushings, and the front control valve body (306) in solvent.
  4. Dry all the parts using compressed air.

Installation Procedure


    Object Number: 2008767  Size: SH
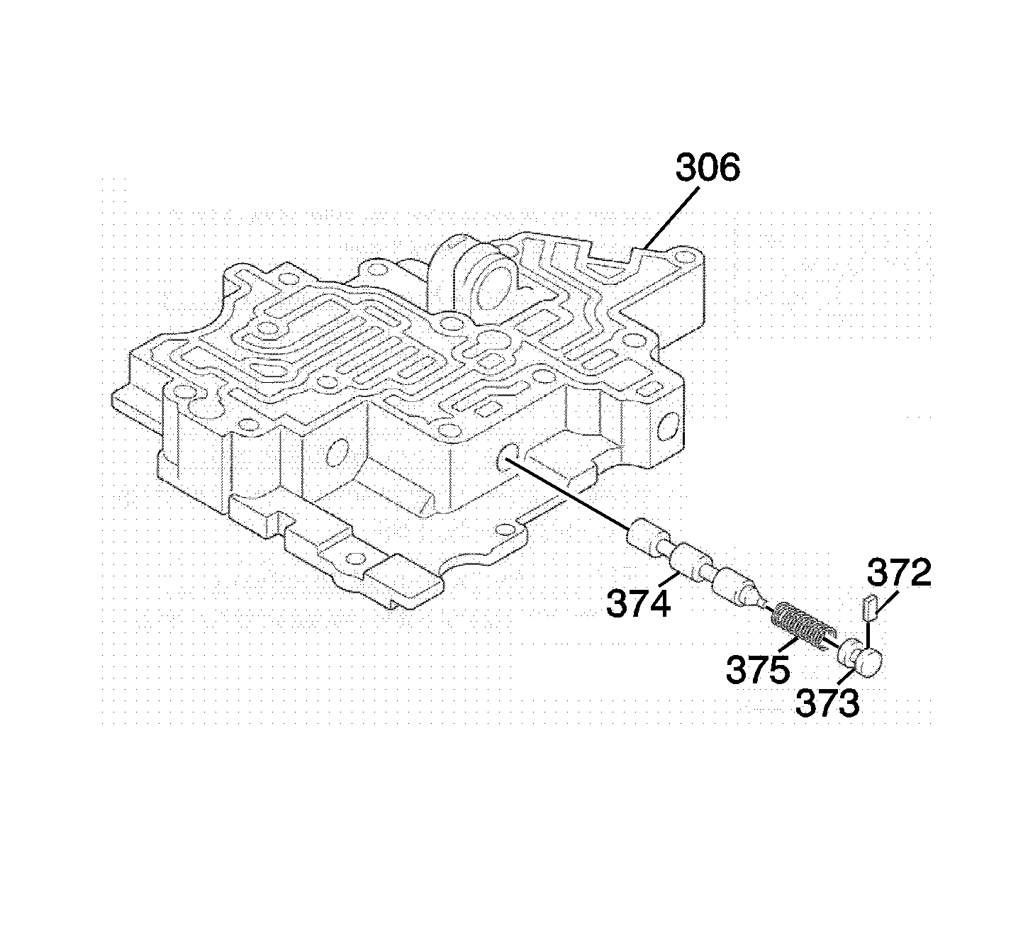
  1. Install the neutral relay valve (374) into the front control valve body (306).
  2. Install the neutral relay valve spring (375).
  3. Install the solenoid modulator valve bore plug (373) and the sleeve/bore plug retainer (372).

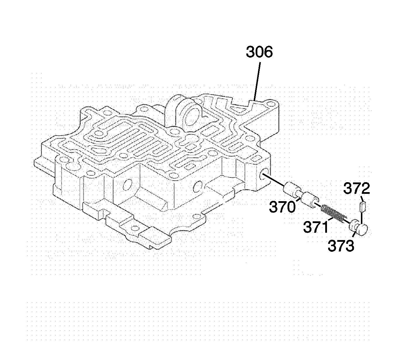
  4. Object Number: 2008766  Size: SH
  5. Install the solenoid B-1 modulator valve no. 2 (370).
  6. Install the solenoid B-1 modulator valve no. 2 spring (371).
  7. Install the solenoid modulator valve bore plug (373) and the sleeve/bore plug retainer (372).