GM Service Manual Online
For 1990-2009 cars only
Makes
🢒
Saturn
🢒
2009
🢒
Astra
🢒
Transmission
🢒
Automatic Transmission - AF17-4
🢒 2-4 Band Removal
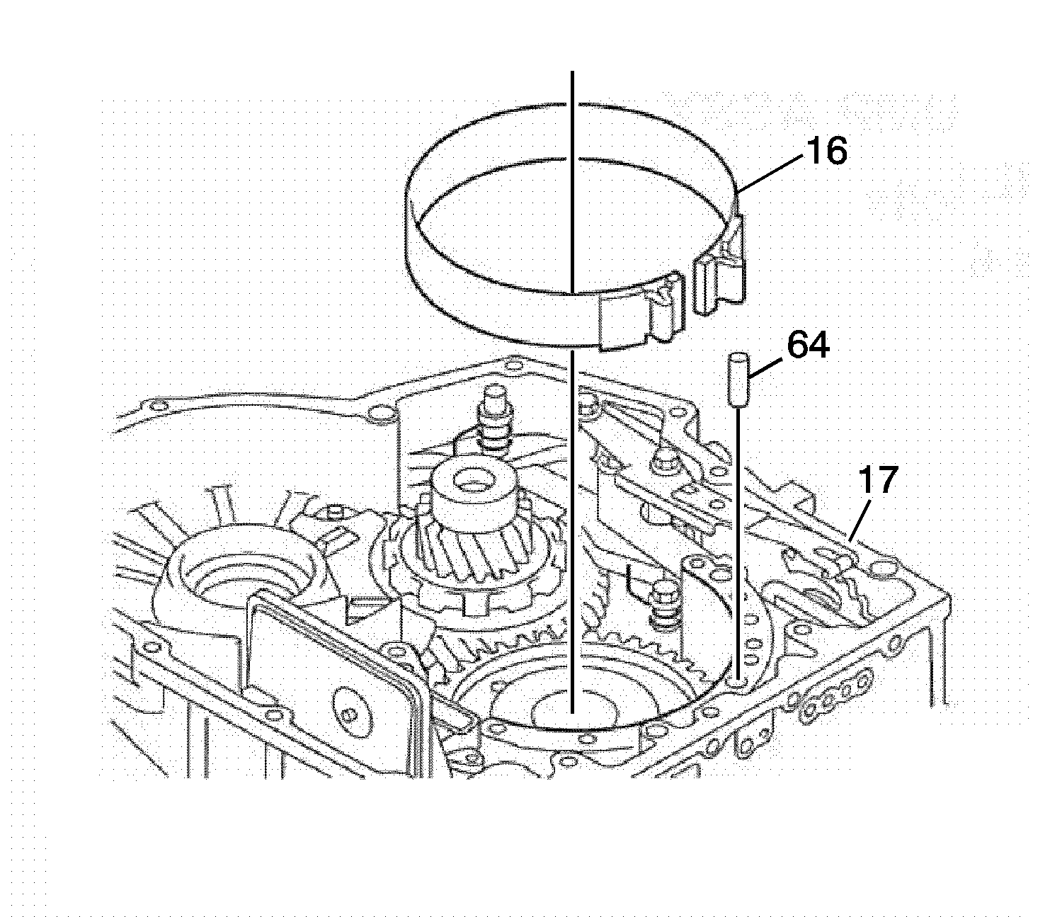
Remove the 2-4 gear band assembly (16) from the transmission case (17).
Remove the 2-4 gear band anchor pin (64) from case.