GM Service Manual Online
For 1990-2009 cars only

    Object Number: 2002718  Size: SH
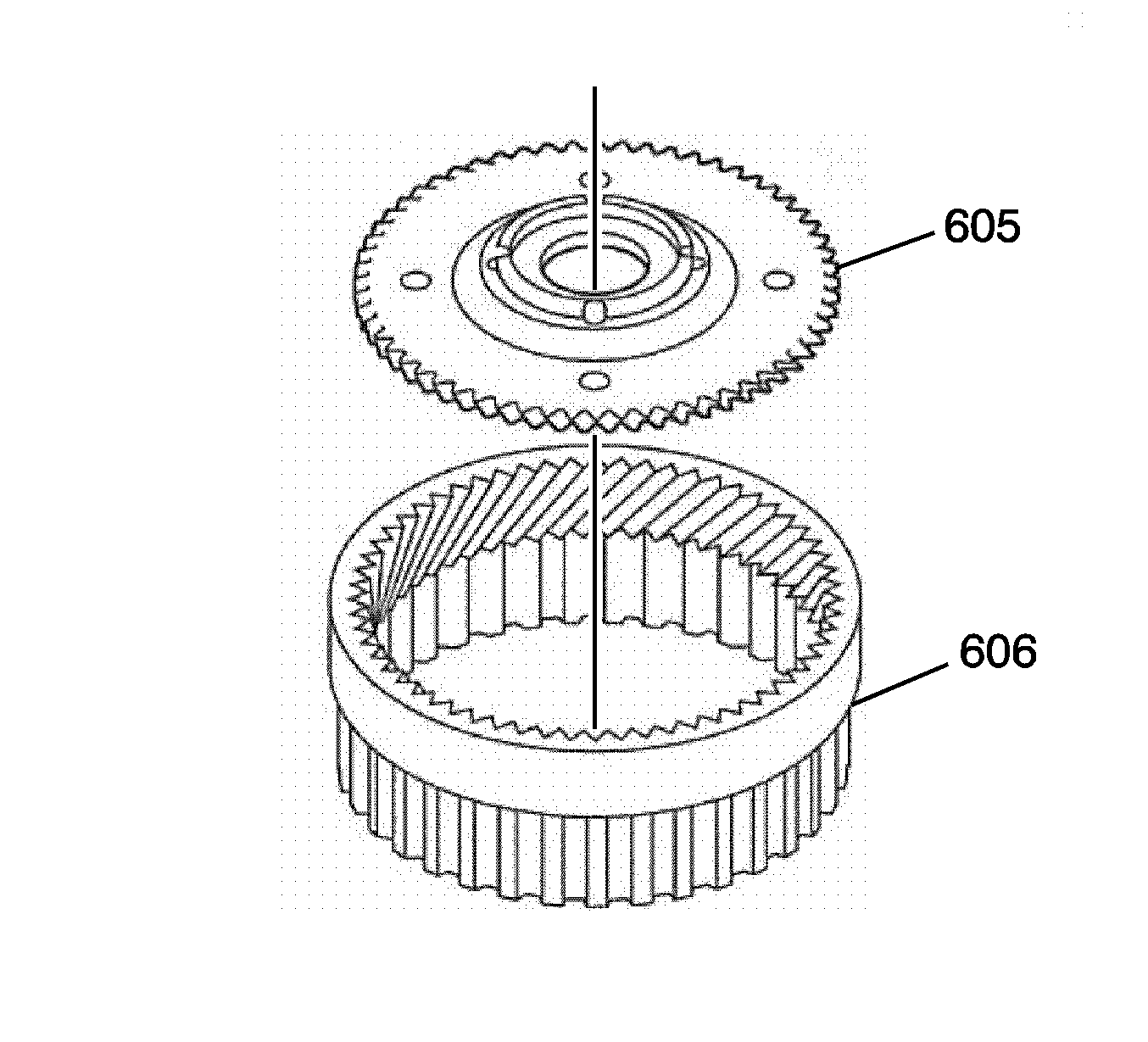
  1. Install the rear planetary ring gear flange (605) into the rear planetary ring gear (606) in the direction as shown in the figure.

  2. Object Number: 2002716  Size: SH
  3. Install the rear planetary ring gear flange retaining ring (604) in the groove of the rear planetary ring gear.

  4. Object Number: 2002714  Size: SH
  5. Install the coast clutch outer race (607).

  6. Object Number: 2002713  Size: SH

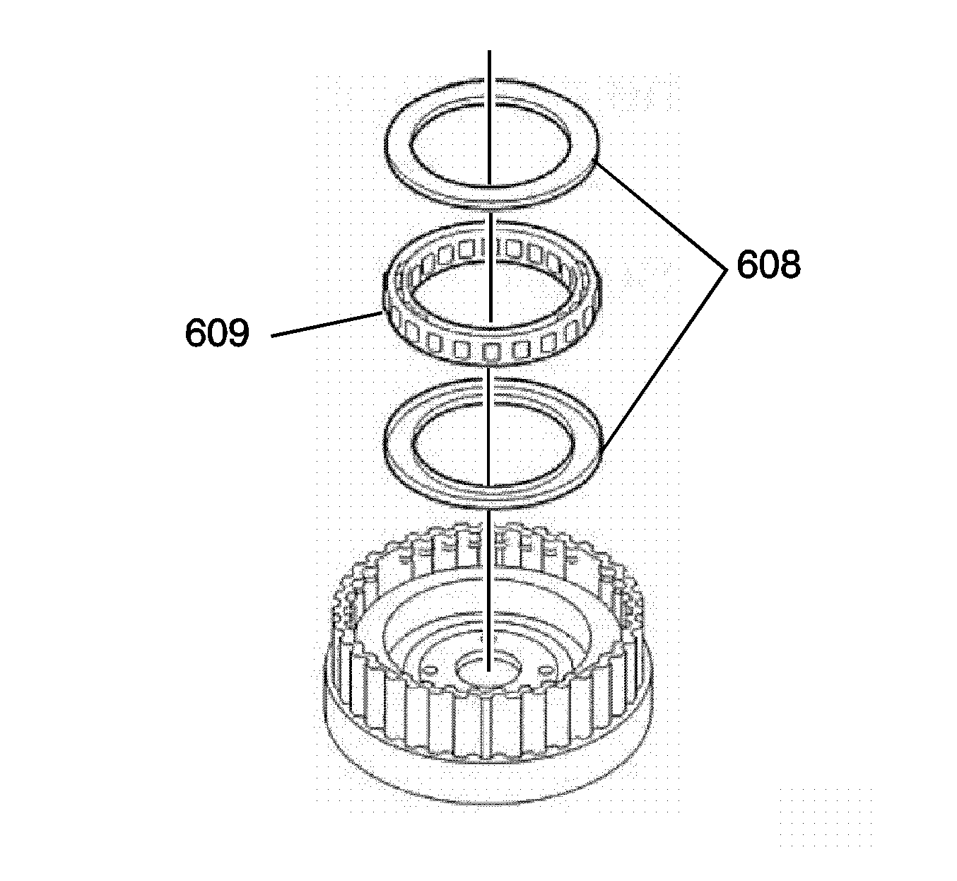
    Note: Do not mistake the direction of the one way clutch.

  7. Install the coast clutch end bearings (608) and the coast one way clutch (609).

  8. Object Number: 2002711  Size: SH
  9. Install the coast clutch retainer plate (610).

  10. Object Number: 2002710  Size: SH
  11. Install the coast clutch retainer plate retaining ring (611) with a screwdriver.

  12. Object Number: 2002721  Size: SH
  13. Install the rear planetary ring gear assembly to the overdrive clutch and coast clutch assembly.
  14. Hold the clutch assembly and turn the rear planetary ring gear assembly. The rear planetary ring gear assembly should turn freely clockwise and should lock counterclockwise.