GM Service Manual Online
For 1990-2009 cars only
Makes
🢒
Saturn
🢒
2009
🢒
Astra
🢒
Transmission
🢒
Automatic Transmission - AF17-4
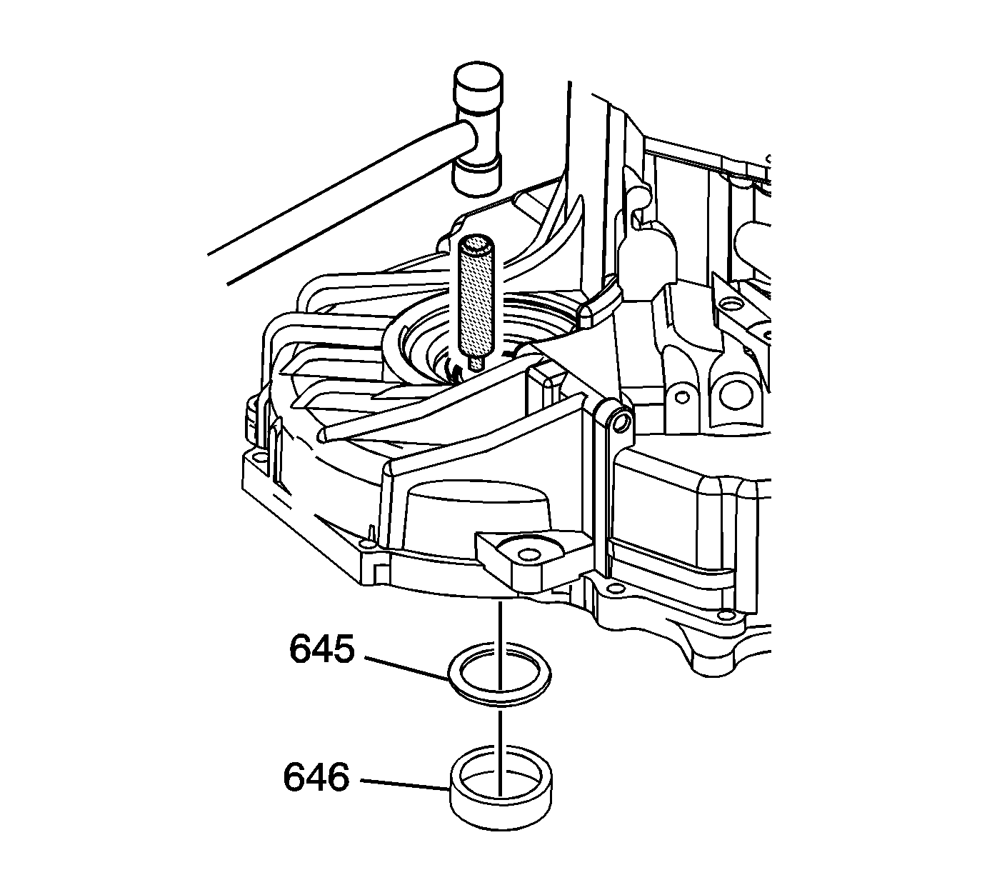
🢒 Front Differential Bearing Race and Carrier Thrust Washer Removal
Using a hammer and screwdriver, remove the front wheel drive shaft oil seal (80).
Using a brass drift pin, remove the front differential bearing race (646) and front differential carrier bearing shim (645).