GM Service Manual Online
For 1990-2009 cars only

    Object Number: 2008843  Size: SH
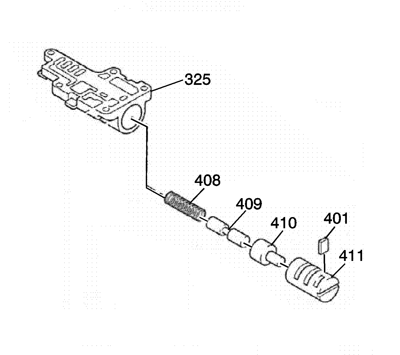
  1. Remove the sleeve/bore plug retainer (401) and the solenoid modulator valve bore plug (411) from the No.2 rear control valve body assembly (325).
  2. Remove the lock up control valve plunger (410).
  3. Remove the lock up control valve (409).
  4. Remove the lock up control valve (408).