GM Service Manual Online
For 1990-2009 cars only

Special Tools

SA9179NE Dial Indicator

For equivalent regional tools, refer to Special Tools.


    Object Number: 2002587  Size: SH
  1. Coat the 1st and reverse clutch piston inner and outer seals (510, 512) with ATF and install them on the 1st and reverse clutch piston (511).

  2. Object Number: 2002828  Size: SH

    Note: Be careful not to damage the O-ring.

  3. Press the 1st and reverse clutch piston (511) into the transmission case assembly (17).

  4. Object Number: 2002585  Size: SH
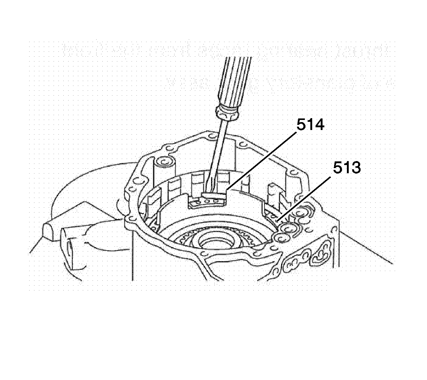
  5. Install the 1st and reverse clutch spring assembly (513) on the 1st and reverse clutch piston.

  6. Object Number: 2002584  Size: SH
  7. While pushing the 1st and reverse clutch spring assembly (513) by hand, install the 1st and reverse clutch spring retaining ring (514) in the groove of the transmission case assembly with a screwdriver.

  8. Object Number: 2002583  Size: SH
  9. Install the 5 1st and reverse clutch plates-steel (517), and the 5 1st and reverse clutch plate assembly-fiber (516).
  10. Install the 1st and reverse clutch backing plate (519).

  11. Object Number: 2002582  Size: SH

    Note: Check the end gap of the retaining ring is not aligned with one of the cut-outs.

  12. Install the 1st and reverse clutch backing plate retaining ring (518) with a screwdriver.

  13. Object Number: 2002830  Size: SH
  14. Install the SA9179NE dial indicator on the first and reverse clutch piston.
  15. When applying compressed air 392 KPa (56 psi) into the fluid passages as shown, measure the piston stroke and check that the piston moves smoothly.
  16. • Piston Stroke 1.402-2.198 mm (0.055-0.082 in).
    • Piston Stroke 1.730-2.570 mm (0.068-0.101 in).