GM Service Manual Online
For 1990-2009 cars only

Special Tools

J 45404 Transmission Indicator Alignment Tool

For equivalent regional tools, refer to Special Tools.


    Object Number: 2002507  Size: SH
  1. Install the park/neutral position switch (72) to the manual valve lever shaft.
  2. Temporarily tighten the 2 park/neutral position switch bolts (71).
  3. Caution: Refer to Fastener Caution in the Preface section.


    Object Number: 2002505  Size: SH
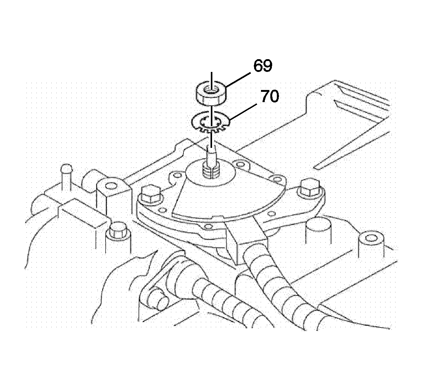
  4. Install the manual shift shaft retaining nut lock washer (70) and manual shift shaft retaining nut (69). Tighten the nut to 6.9 N·m (61 lb in).

  5. Object Number: 2002856  Size: SH
  6. Place the manual shift detent lever assembly in the Neutral (N) position.
  7. Install the J 45404 indicator alignment tool to the manual shift detent lever assembly.
  8. Rotate the park/neutral position switch until the neutral base line on the switch assembly lines up with the indicator line on J 45404 indicator alignment tool .
  9. Tighten the 2 park/neutral position switch bolts (71). Tighten the bolts to 25 N·m (18 lb ft).
  10. Remove J 45404 indicator alignment tool from the manual shift detent lever assembly.

  11. Object Number: 2002857  Size: SH
  12. If no special tool available, align the groove and neutral basic line. Lock the park/neutral position switch with the 2 park/neutral position switch bolts (71). Tighten the bolts to 25 N·m (18 lb ft).

  13. Object Number: 2002504  Size: SH
  14. Bend the tabs on the manual shift shaft retaining nut lock washer (70) with a screwdriver.