GM Service Manual Online
For 1990-2009 cars only

Removal Procedure

  1. Remove the center console. Refer to Front Floor Console Replacement .

  2. Object Number: 1939017  Size: SH
  3. Remove the vent duct (1).
  4. Important: Do not damage the wiring harness.

  5. Open the cable ties (1).
  6. Remove the cable ties (2) from the bracket.
  7. Disconnect the wiring harness plug (3).
  8. Detach the wiring harness plug (4) from the transmission control module (TCM).
  9. Release the wiring harness plug and disconnect.


    Object Number: 1939022  Size: SH
  10. Remove the TCM with bracket.
  11. • Slightly pull out the TCM with bracket.
    • Detach the wiring harness plug (1) from the bracket.
    • Release the wiring harness plug (arrow).
    • Remove the TCM with bracket.

    Object Number: 1939030  Size: SH
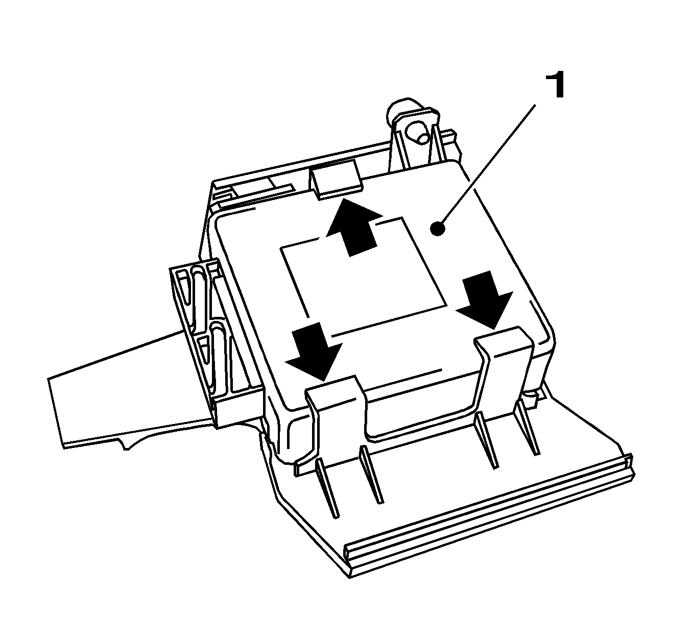
  12. Detach the TCM (1) from the bracket.
  13. Carefully push locks (arrows) outward.

Installation Procedure


    Object Number: 1939050  Size: SH

    Important: Note guides for positioning the control unit on the bracket.

  1. Attach TCM (1) to the bracket.
  2. Replace the cable ties (arrow).


    Object Number: 1939022  Size: SH
  3. Attach the wiring harness plug (1) to the bracket.
  4. Lock (arrow) must engage.

  5. Attach the wiring harness plug (4) to the TCM.
  6. Connect and lock the wiring harness plug.

  7. Connect the wiring harness plug (3).
  8. Attach the cable tie (2) to the bracket.
  9. Attach the cable tie (1).

  10. Object Number: 1939017  Size: SH

    Important: Check for proper seating.

  11. Install the vent duct (1).
  12. Install the center console. Refer to Front Floor Console Replacement .
  13. If a replacement TCM was installed, program the module. Refer to Control Module References .