GM Service Manual Online
For 1990-2009 cars only

Special Tools

KM-907 Control Arm Bushing Remover/Installer

Removal Procedure

    Important: Damping bushings in the front frame must always be replaced in pairs.

  1. Remove the front frame. Refer to Front Frame Replacement .

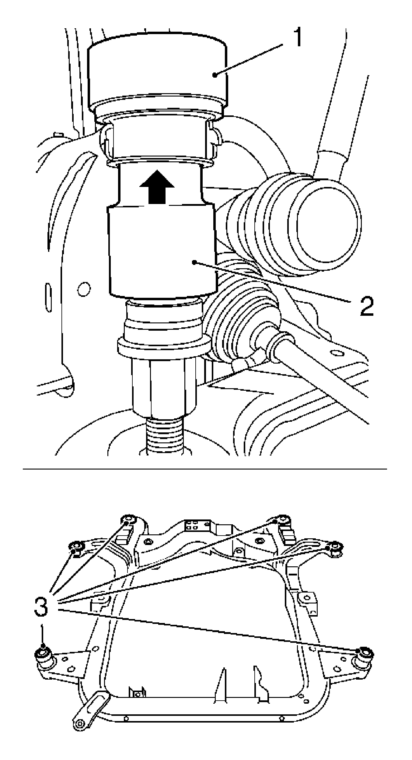
  2. Object Number: 1937797  Size: LH
  3. Press the corresponding damping bushing (4) out of the front frame with the KM-907-11 (3), KM-907-12 (1) and KM-907-30 (2).

Installation Procedure


    Object Number: 1937798  Size: LH
  1. Install the new damping bushings in the front frame.
  2. • Coat the damping bushings and guide in the front axle body with soapy solution.
    • Draw the corresponding damping bushing (3) into the front frame with the KM-907-13 (2), KM-907-14 (1) and KM-907-30.
  3. Install the front frame. Refer to Front Frame Replacement .