GM Service Manual Online
For 1990-2009 cars only

Removal Procedure


    Object Number: 1937026  Size: LH
  1. Remove the instrument panel (I/P) compartment.
  2. 1.1. Remove the 4 bolts.
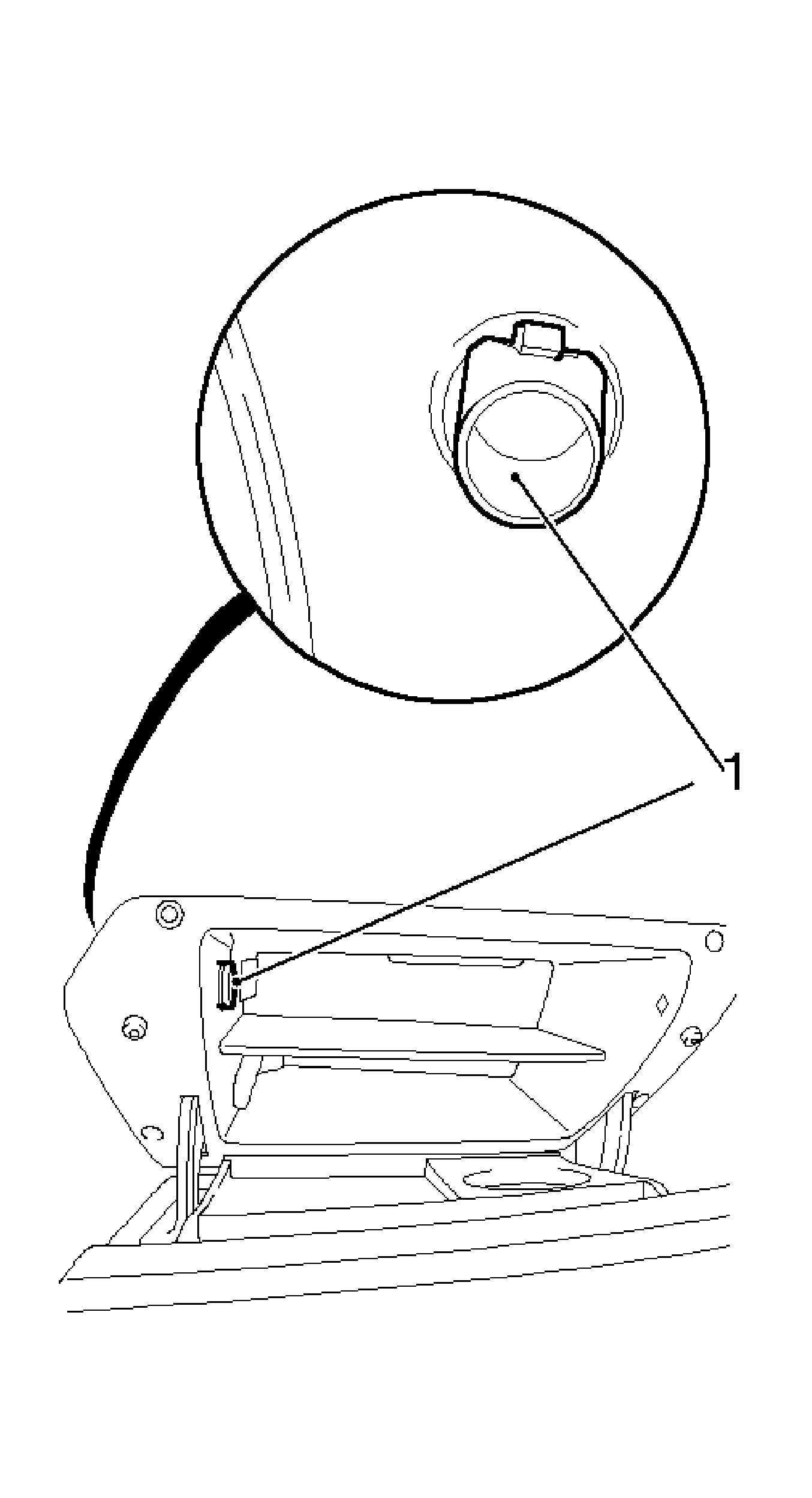
    1.2. Disconnect the wiring harness plug for the I/P compartment lighting.
  3. Remove the panel on I/P center trim panel. Refer to Instrument Panel Center Trim Panel Replacement.

  4. Object Number: 1944530  Size: LF

    Note: Remove the air and radio duct through the heater control slot.

  5. Release and remove the air and radio cooling duct.
  6. 3.1. Release the radio cooling duct (1) in the radio recess.
    3.2. Release and remove the air duct (2).
    3.3. Remove the air and radio cooling duct.

    Object Number: 1937178  Size: LH
  7. If necessary, remove I/P compartment valve.

Installation Procedure


    Object Number: 1937178  Size: LH
  1. If removed, install the I/P compartment valve.
  2. Note: Insert the air and radio cooling duct through the slot in the heater control unit.

  3. Install the air and radio cooling duct.
  4. 2.1. Insert the air duct.
    2.2. Connect the air duct.
    2.3. Install the radio cooling duct in the radio recess.
  5. Install the I/P center trim panel. Refer to Instrument Panel Center Trim Panel Replacement.
  6. Install the I/P compartment.
  7. Caution: Refer to Fastener Caution in the Preface section.

  8. Connect the wiring harness plug.
  9. Tighten
    Tighten the 4 bolts to 4 N·m (35 lb in).