GM Service Manual Online
For 1990-2009 cars only

Roof Side Rail Inflatable Restraint Module Replacement Coupe Original

Removal Procedure

    Warning: Refer to SIR Inflator Module Handling and Storage Warning in the Preface section.

    Warning: In order to prevent SIR deployment, personal injury, or unnecessary SIR system repairs, do not strike the door or the door pillar in the area of the side impact sensor (SIS). Turn OFF the ignition and remove the key when performing service in the area of the SIS.

    Note: The removal and replacement of the windshield is not required.

  1. Lower the headlining trim panel. Refer to Headlining Trim Panel Replacement.

  2. Object Number: 1947789  Size: LF

    Note: The roof side rail module cannot be removed without destroying it and must be replaced.

  3. Remove the roof side rail module.
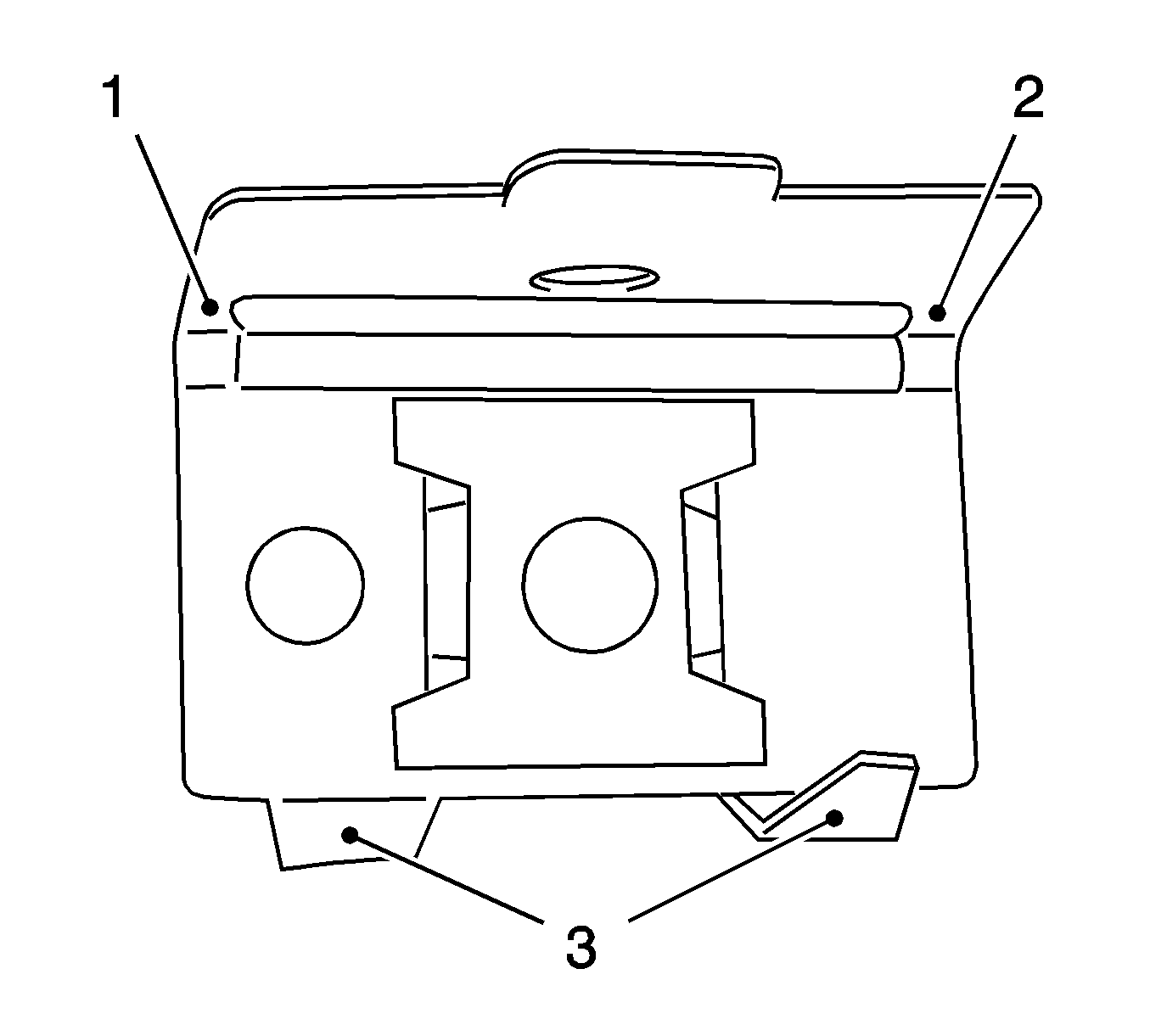
  4. • Release and disconnect the wiring harness plug.
    • Remove the 2 bolts (1).
    • Remove the 6 screws (2).
    • Bend up the 6 locks (3).
    • Bend up the 6 clamps (4).

    Object Number: 1948129  Size: SH

    Note: Remove the fastening clip with suitable pliers.

  5. Remove the 6 fastening clips.

  6. Object Number: 1948171  Size: SH
  7. Modify the 6 fastening clips.
  8. • Cut off flush with the retaining plate at positions 1, 2 and 3.
    • Deburr the edges.

Installation Procedure

  1. Use a touch-up pen matching the color of the vehicle to repair any paint damage.
  2. Install the 6 fastening clips.
  3. Install the fastening clips.

    Caution: Refer to Fastener Caution in the Preface section.

  4. Install the new roof side rail module.
  5. Tighten
    Tighten the 8 screws to 1.5 N·m (13 lb in).

  6. Connect and latch the wiring harness plug.
  7. Note: The removal and replacement of the windshield is not required.

  8. Install the headlining trim panel. Refer to Headlining Trim Panel Replacement.

Roof Side Rail Inflatable Restraint Module Replacement Coupe Replacement

Removal Procedure

    Warning: Refer to SIR Inflator Module Handling and Storage Warning in the Preface section.

    Warning: In order to prevent SIR deployment, personal injury, or unnecessary SIR system repairs, do not strike the door or the door pillar in the area of the side impact sensor (SIS). Turn OFF the ignition and remove the key when performing service in the area of the SIS.

    Note: The removal and replacement of the windshield is not required.

  1. Lower the headlining trim panel. Refer to Headlining Trim Panel Replacement

  2. Object Number: 1947789  Size: LF

    Note: With already replaced roof side rail modules, do not bend the clamps on positions 3 and 4.

  3. Remove the roof side rail module.
  4. • Release and disconnect the wiring harness plug.
    • Remove the 2 bolts (1).
    • Remove the 6 screws (2).

Installation Procedure

  1. Install the roof side rail module.
  2. Caution: Refer to Fastener Caution in the Preface section.

  3. Connect and latch the wiring harness plug.
  4. Tighten
    Tighten the 8 screws to 1.5 N·m (13 lb in).

    Note: The removal and replacement of the windscreen is not required.

  5. Install the headlining trim panel. Refer to Headlining Trim Panel Replacement

Roof Side Rail Inflatable Restraint Module Replacement Sedan Original

Removal Procedure

    Warning: Refer to SIR Inflator Module Handling and Storage Warning in the Preface section.

    Warning: In order to prevent SIR deployment, personal injury, or unnecessary SIR system repairs, do not strike the door or the door pillar in the area of the side impact sensor (SIS). Turn OFF the ignition and remove the key when performing service in the area of the SIS.

  1. Remove the headlining trim panel. Refer to Headlining Trim Panel Replacement.

  2. Object Number: 1947789  Size: LF

    Note: The roof side rail restraint module cannot be removed without destroying it and must be replaced.

  3. Remove the roof side rail restraint module.
  4. • Release and disconnect the wiring harness plug.
    • Remove the 2 bolts (1).
    • Remove the 6 screws (2).
    • Bend up the 6 locks (3).
    • Bend up the 6 clamps (4).

    Object Number: 1948129  Size: SH

    Note: Remove the fastening clip with suitable pliers.

  5. Remove the 6 fastening clips.

  6. Object Number: 1948171  Size: SH
  7. Modify the 6 fastening clips.
  8. • Cut off flush with the retaining plate at positions 1, 2 and 3.
    • Deburr the edges.

Installation Procedure

  1. Use a touch-up pen matching the color of the vehicle to repair any paint damage.
  2. Install the 6 fastening clips.
  3. Install the fastening clips.

    Caution: Refer to Fastener Caution in the Preface section.

  4. Install the new roof side rail restraint module.
  5. Tighten
    Tighten the 8 screws to 1.5 N·m (13 lb in).

  6. Connect and latch the wiring harness plug.
  7. Install the headlining trim panel. Refer to Headlining Trim Panel Replacement.
  8. Note: After ignition ON, the roof side rail module system readiness indicator illuminates for 4 seconds and then goes out.

  9. Readiness indicator.

Roof Side Rail Inflatable Restraint Module Replacement Sedan Replacement

Removal Procedure

    Warning: Refer to SIR Inflator Module Handling and Storage Warning in the Preface section.

    Warning: In order to prevent SIR deployment, personal injury, or unnecessary SIR system repairs, do not strike the door or the door pillar in the area of the side impact sensor (SIS). Turn OFF the ignition and remove the key when performing service in the area of the SIS.

  1. Remove the headlining trim panel. Refer to Headlining Trim Panel Replacement.

  2. Object Number: 1947789  Size: LF

    Note: With already replaced roof side rail modules, do not bend the clamps on positions 3 and 4.

  3. Remove the roof side rail modules.
  4. • Release and disconnect the wiring harness plug.
    • Remove the 2 bolts (1).
    • Remove the 6 screws (2).

Installation Procedure

    Caution: Refer to Fastener Caution in the Preface section.

  1. Install the roof side rail modules.
  2. Connect and latch the wiring harness plug.

    Tighten
    Tighten the 8 screws to 1.5 N·m (13 lb in).

  3. Install the headlining trim panel. Refer to Headlining Trim Panel Replacement
  4. Note: After ignition ON, the roof side rail module system readiness indicator illuminates for 4 seconds and then goes out.

  5. Readiness indicator.