GM Service Manual Online
For 1990-2009 cars only

Removal Procedure

    Warning: Refer to Approved Equipment for Collision Repair Warning in the Preface section.

  1. Disable the supplemental inflatable restraint (SIR) system.
  2. Warning: Refer to Battery Disconnect Warning in the Preface section.

  3. Disconnect the negative battery cable.
  4. Remove all related panels and components.
  5. Restore as much of the damage as possible to factory specifications. Refer to Dimensions - Body.
  6. Note the location and remove the sealers and anti-corrosion materials from the repair area as necessary. Refer to Anti-Corrosion Treatment and Repair.
  7. Remove the door assembly from the vehicle.
  8. Mark the position of the hinge.

  9. Object Number: 1941180  Size: SH

    Note: Do not damage any inner panels or reinforcements.

  10. Locate all factory welds.

  11. Object Number: 1941183  Size: SH
  12. Carefully grind the weld (1) from around the body side door hinge.
  13. Remove the hinge and grind any remaining weld from the pillar surface in order to ensure a flush fit of the service hinge.

Installation Procedure

  1. Prepare all mating surfaces.
  2. Apply GM approved Weld-Thru coating or equivalent to all mating surfaces. Refer to Anti-Corrosion Treatment and Repair.
  3. Position the hinge with prior markings and secure with a suitable tool.

  4. Object Number: 1941184  Size: SH
  5. MIG tack weld the hinge in the areas noted (1).
  6. With the aid of an assistant, position the door assembly to the door opening.

  7. Object Number: 1941187  Size: LF

    Note: The dimensions refer to unpainted doors before completion.

  8. Adjust the doors to the position as shown. (I & II) (2.0 +/- 0.5) mm. This increase will allow for the additional weight of the door hardware and trim components.

  9. Object Number: 1941099  Size: LF

    Note: The gap specifications refer to unpainted doors before completion with lock and striker installed but without door seals

  10. Align door with the following gap specifications.
  11. 7.1. Position: I

    Dimensions in mm: 3.9

    Tolerance in mm: +/- 1.0

    7.2. Position: II

    Dimensions in mm: 4.5

    Tolerance in mm: +/- 1.0

    7.3. Position: III

    Dimensions in mm: 4.5

    Tolerance in mm: +/- 1.0

    7.4. Position: IV

    Dimensions in mm: 4.0

    Tolerance in mm: +/- 1.0

    7.5. Position: V

    Dimensions in mm: 3.8

    Tolerance in mm: +/- 0.8

    7.6. Position: VI

    Dimensions in mm: 3.8

    Tolerance in mm: +/- 0.8

    7.7. Position: VII

    Dimensions in mm: 3.8

    Tolerance in mm: +/- 0.8

    7.8. Position: VIII

    Dimensions in mm: 4.5

    Tolerance in mm: +/- 1.0

    7.9. Position: IX

    Dimensions in mm: 4.5

    Tolerance in mm: +/- 1.0

    7.10. Position: X

    Dimensions in mm: 3.8

    Tolerance in mm: +/- 0.8

  12. Remove the door from the vehicle.

  13. Object Number: 1941188  Size: LH

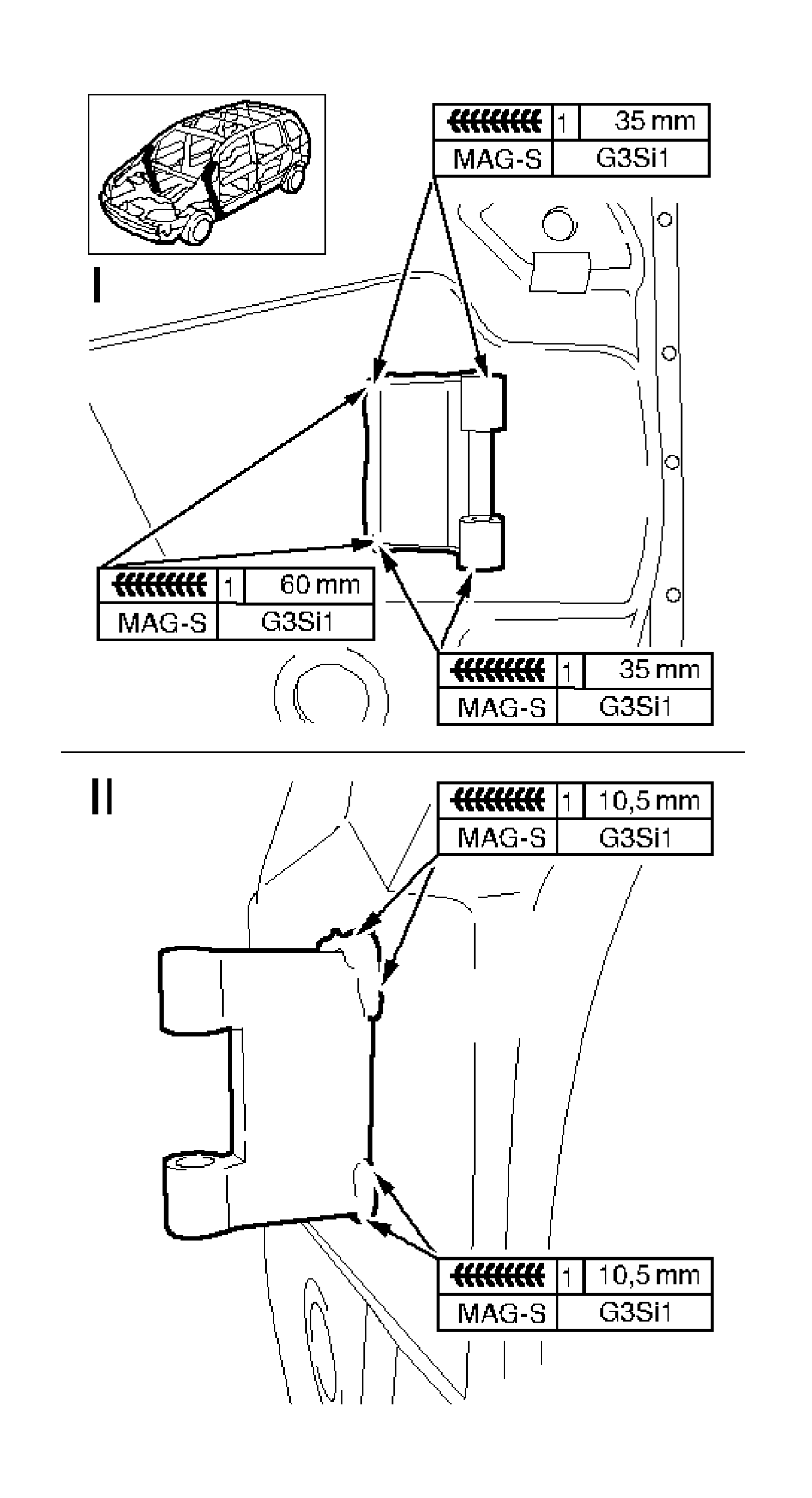
    Note: To create a solid weld with minimum heat distortion, make a 25 mm (1 inch) stitch weld with 25 mm gaps between. Then go back and complete a solid weld seam.

  14. Complete MIG welding doors hinges (I).
  15. If replacing front door upper hinge, make an additional weld seam at the rear (II).
  16. Clean and prepare all welded surfaces.
  17. Apply the sealers and anti-corrosion materials to the repair area as necessary. Refer to Anti-Corrosion Treatment and Repair.
  18. Paint the repair area. Refer to Basecoat/Clearcoat Paint Systems.
  19. Install all related panel and components.
  20. Connect the negative battery cable.
  21. Enable the SIR system.