GM Service Manual Online
For 1990-2009 cars only

Cooling Fan and Shroud Replacement 2.2L (L61), 2.4L (LE5)

Removal Procedure


    Object Number: 873607  Size: SH
  1. Disconnect the cooling fan electrical connector.

  2. Object Number: 873608  Size: SH
  3. Remove the cooling fan wire from the fan shroud.
  4. Raise and support the vehicle. Refer to Lifting and Jacking the Vehicle .

  5. Object Number: 877645  Size: SH
  6. Remove the cooling fan assembly from the radiator by pushing up on the fan shroud to unsnap the retaining features. Position the cooling fan assembly away from the radiator.

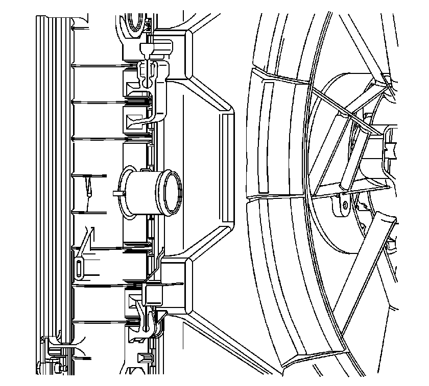
  7. Object Number: 851691  Size: SH
  8. Remove the air dam push-in retainers.
  9. Remove the air dam.

  10. Object Number: 899628  Size: SH
  11. Remove the right engine splash shield to radiator mount push-in retainer.
  12. Remove the left engine splash shield to radiator mount push-in retainer.

  13. Object Number: 877644  Size: SH
  14. Remove the lower radiator mount, brackets, and bolts. Support the radiator and condenser.

  15. Object Number: 877648  Size: SH
  16. Tilt the radiator and condenser forward in the vehicle. Remove the cooling fan assembly from the vehicle.

Installation Procedure


    Object Number: 877648  Size: SH
  1. Tilt the radiator and condenser forward in the vehicle. Install the cooling fan assembly into the vehicle.

  2. Object Number: 873610  Size: SH
  3. Verify that the upper radiator mounts are installed in the vehicle.

  4. Object Number: 873609  Size: SH
  5. Raise the radiator and condenser into position. Verify that the upper radiator mount pins align with the upper radiator mounts.
  6. Notice: Refer to Fastener Notice in the Preface section.


    Object Number: 877644  Size: SH
  7. Install the lower radiator mounts, brackets, and bolts.
  8. Tighten
    Tighten the bolts to 25 N·m (18 lb ft).


    Object Number: 899628  Size: SH
  9. Install the right engine splash shield to radiator mount push-in retainer.
  10. Install the left engine splash shield to radiator mount push-in retainer.

  11. Object Number: 851691  Size: SH
  12. Install the air dam and the push-in retainers.

  13. Object Number: 877645  Size: SH
  14. Align the cooling fan shroud retaining features to the radiator. Pull down on the cooling fan assembly to snap the shroud onto the radiator.
  15. Lower the vehicle.

  16. Object Number: 873607  Size: SH
  17. Connect the cooling fan electrical connector.

  18. Object Number: 873608  Size: SH
  19. Install the cooling fan wire to the fan shroud.