GM Service Manual Online
For 1990-2009 cars only

Removal Procedure

  1. Remove the I/P retainer. Refer to Instrument Panel Retainer Replacement .

  2. Object Number: 877842  Size: SH
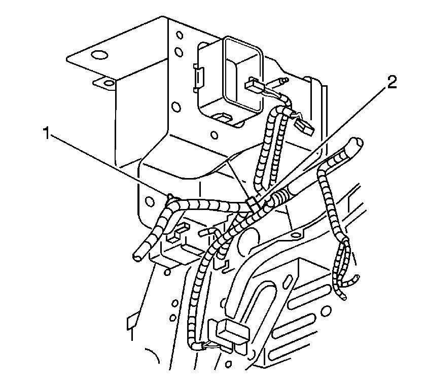
  3. Remove the wire harness rosebuds  (1,2) from the left side of the beam.

  4. Object Number: 877839  Size: SH
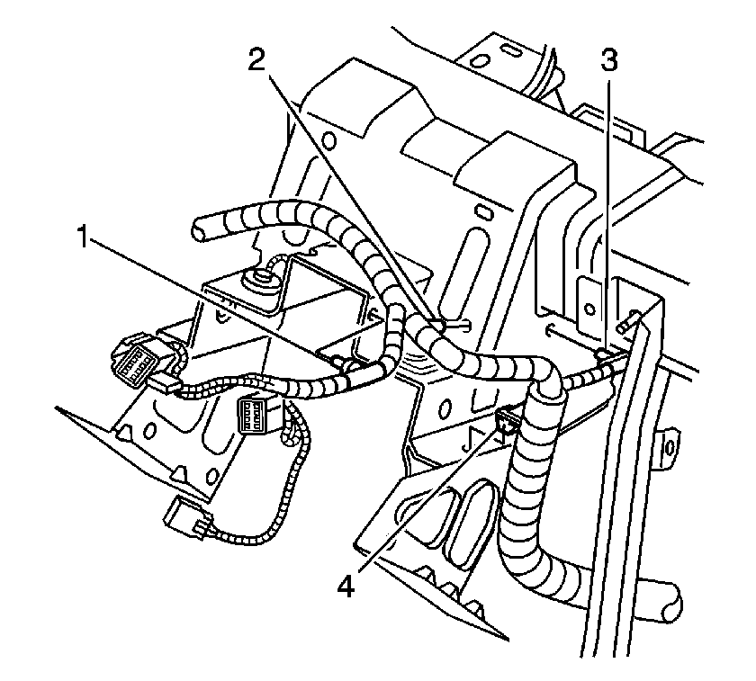
  5. Remove the wire harness rosebuds  (1,2,3) from the left side of the steering column support bracket.
  6. Remove the metal clip  (4) from the steering column support bracket.

  7. Object Number: 877838  Size: SH
  8. Remove the wire harness rosebuds from the front right side of the steering column support bracket.

  9. Object Number: 877841  Size: SH
  10. Remove the wire harness rosebuds  (1,2,3,4) from the right side of the steering column support bracket.

  11. Object Number: 873729  Size: SH
  12. Unsnap the defroster duct from the HVAC module and the beam. Bend the cluster wire harness tab on the I/P carrier to remove the defroster duct.

  13. Object Number: 877844  Size: SH
  14. Remove the cluster wire harness rosebuds from the I/P carrier.

  15. Object Number: 877870  Size: SH
  16. Remove the stop lamp switch from the brake pedal bracket.

  17. Object Number: 877868  Size: SH
  18. If equipped with cruise control, remove the cruise control release switch from the brake pedal bracket.

  19. Object Number: 877869  Size: SH
  20. If equipped with a manual transmission, remove the clutch switch from the clutch pedal bracket.

  21. Object Number: 877836  Size: SH
  22. Remove the wire harness rosebuds  (1,2,3) from the front left side of the steering column support bracket.

  23. Object Number: 877837  Size: SH
  24. Remove the I/P wire harness ground wires from the steering column support bracket.

  25. Object Number: 877848  Size: SH
  26. Disconnect the electrical connectors from the electric power steering motor.

  27. Object Number: 877850  Size: SH
  28. Remove the electric power steering power wire rosebuds  (1,2,3,4) from the steering column support bracket.

  29. Object Number: 877845  Size: SH
  30. Remove the wire harness rosebuds from the center of the HVAC module.

  31. Object Number: 877846  Size: SH
  32. Remove the wire harness rosebuds  (1,2) from the right center of the HVAC module.

  33. Object Number: 877847  Size: SH
  34. Remove the wire harness rosebuds  (1,2,3) from the right side of the I/P carrier.

  35. Object Number: 872581  Size: SH
  36. Remove the HVAC module nuts at the front of dash.

  37. Object Number: 872582  Size: SH
  38. Remove the HVAC module nuts at the I/P carrier.

  39. Object Number: 877875  Size: SH
  40. Remove the steering column pivot bolt and rest the steering column on the floorpan.

  41. Object Number: 877866  Size: SH
  42. If equipped with a manual transmission, remove the clutch pedal nut. Position the clutch pedal bracket away from the I/P carrier.

  43. Object Number: 877862  Size: SH
  44. Remove the left steering column support bracket to front of dash nuts.

  45. Object Number: 877860  Size: SH
  46. Remove the center steering column support bracket nuts.

  47. Object Number: 877817  Size: SH
  48. Remove the brake pedal bracket to steering column support bracket bolt.

  49. Object Number: 877855  Size: SH
  50. Remove the right and left I/P carrier to vehicle bolts.
  51. Slide the I/P carrier rearward, disconnect the HVAC module from the I/P carrier, and remove the I/P carrier from the vehicle.

Installation Procedure

  1. Slide the I/P carrier into the vehicle, align the HVAC module with the I/P carrier, and align the steering column support bracket with the studs on the vehicle. Slide the I/P carrier into position.
  2. Notice: Refer to Fastener Notice in the Preface section.


    Object Number: 877855  Size: SH
  3. Install the right and left I/P carrier to vehicle bolts.
  4. Tighten
    Tighten the I/P carrier to body bolts to 25 N·m (18 lb ft).


    Object Number: 872582  Size: SH
  5. Install the HVAC module nuts to the I/P carrier.
  6. Tighten
    Tighten the HVAC module nuts to 10 N·m (88 lb in).


    Object Number: 872581  Size: SH
  7. Install the HVAC module nuts at the front of dash.
  8. Tighten
    Tighten the HVAC module nuts to 10 N·m (88 lb in).


    Object Number: 877860  Size: SH
  9. Install the center steering column support bracket nuts.
  10. Tighten
    Tighten the center steering column support bracket nuts to 10 N·m (88 lb in).


    Object Number: 877862  Size: SH
  11. Install the left steering column support bracket to front of dash nuts.
  12. Tighten
    Tighten the left steering column support bracket nuts to 10 N·m (88 lb in).


    Object Number: 877817  Size: SH
  13. Install the brake pedal bracket to steering column support bracket bolt.
  14. Tighten
    Tighten the brake pedal bracket bolt to 25 N·m (18 lb ft).


    Object Number: 877866  Size: SH
  15. If equipped with a manual transmission, align the clutch pedal bracket to the I/P carrier. Install the clutch pedal nut.
  16. Tighten
    Tighten the clutch pedal nut to 10 N·m (88 lb in).


    Object Number: 877864  Size: SH
  17. Raise the steering column into position and loose install the rear steering column bolts.

  18. Object Number: 877875  Size: SH
  19. Raise the steering column into position and install pivot bolt.
  20. Tighten
    Tighten the steering column pivot bolt to 25 N·m (18 lb ft).


    Object Number: 877864  Size: SH
  21. Remove the rear steering column bolts.

  22. Object Number: 877847  Size: SH
  23. Install the wire harness rosebuds  (1,2,3) at the right side of the I/P carrier.

  24. Object Number: 877846  Size: SH
  25. Install the wire harness rosebuds  (1,2) at the right center of the HVAC module.

  26. Object Number: 877845  Size: SH
  27. Install the wire harness rosebuds at the center of the HVAC module.

  28. Object Number: 873729  Size: SH
  29. Align the defroster duct with the I/P carrier and the HVAC module. Snap the defroster duct into position. Return the cluster wire harness tab on the I/P carrier to the correct position.

  30. Object Number: 877844  Size: SH
  31. Install the cluster wire harness rosebuds at the I/P carrier.

  32. Object Number: 877850  Size: SH
  33. Install the electric power steering power wire rosebuds  (1,2,3,4) at the steering column support bracket.

  34. Object Number: 877848  Size: SH
  35. Connect the electrical connectors to the electric power steering motor.

  36. Object Number: 877837  Size: SH
  37. Install the I/P wire harness ground wires and nuts at the steering column support bracket.
  38. Tighten
    Tighten the I/P wire harness ground nuts to 10 N·m (88 lb in).


    Object Number: 877836  Size: SH
  39. Install the wire harness rosebuds  (1,2,3) at the front left side of the steering column support bracket.

  40. Object Number: 877869  Size: SH
  41. If equipped with a manual transmission, install the clutch switch to the clutch pedal bracket. Adjust the clutch switch. Refer to Clutch Pedal Position Switch Replacement in Clutch.

  42. Object Number: 877868  Size: SH
  43. If equipped with cruise control, install the cruise control release switch to the brake pedal bracket. Adjust the cruise control switch. Refer to Cruise Release Switch Adjustment in Cruise Control.

  44. Object Number: 877870  Size: SH
  45. Install the stop lamp switch to the brake pedal bracket. Adjust the stop lamp switch. Refer to Stop Lamp Switch Adjustment in Lighting Systems.

  46. Object Number: 877838  Size: SH
  47. Install the wire harness rosebuds at the front right side of the steering column support bracket.

  48. Object Number: 877841  Size: SH
  49. Install the wire harness rosebuds  (1,2,3,4) at the right side of the steering column support bracket.

  50. Object Number: 877839  Size: SH
  51. Install the wire harness rosebuds  (1,2,3) at the left side of the steering column support bracket.
  52. Install the metal clip  (4) to the steering column support bracket.

  53. Object Number: 877842  Size: SH
  54. Install the wire harness rosebuds  (1,2) at the left side of the beam.
  55. Install the I/P retainer. Refer to Instrument Panel Retainer Replacement .