GM Service Manual Online
For 1990-2009 cars only
  1. Loosen both strut to knuckle nuts just enough to allow for movement.

  2. Object Number: 2178346  Size: SH
  3. If the strut has not been modified previously, perform the following steps before continuing with the wheel alignment:
  4. 2.1. Disconnect the strut from the knuckle. Refer to Strut Replacement.
    2.2. Install the strut in a soft jawed vise.

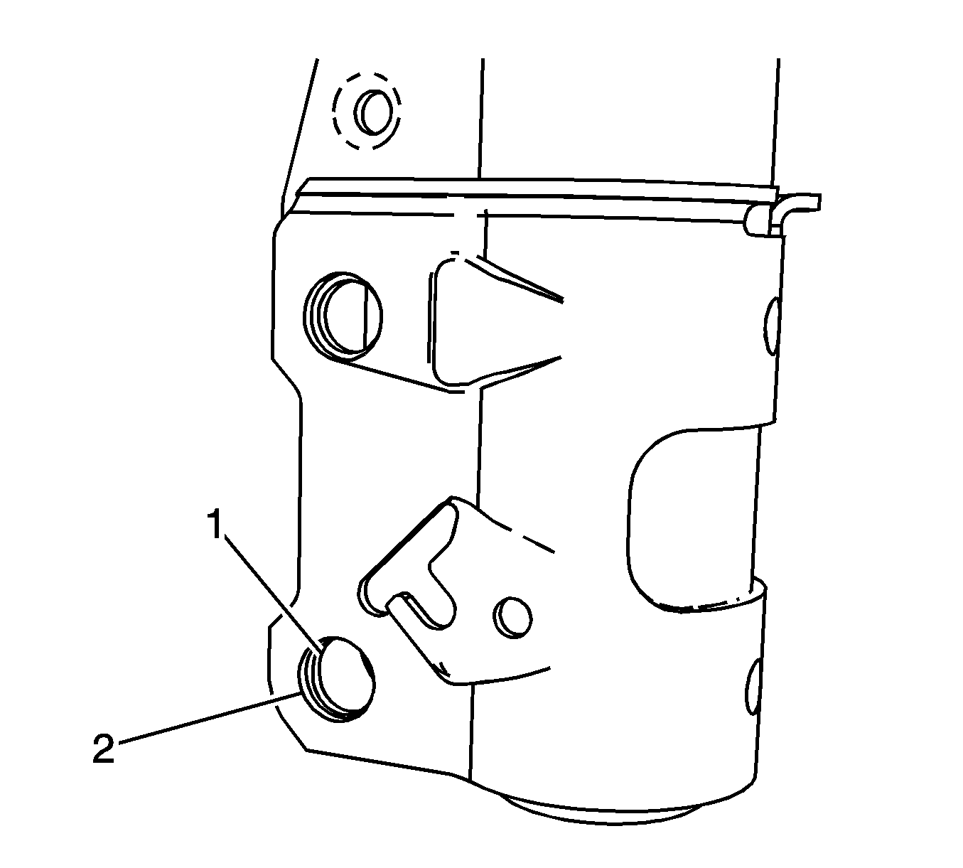
            Important: The inner hole should NOT be any larger than the outer hole.

    2.3. Using the appropriate tool, enlarge the inner hole (1) to match the outer hole (2).
  5. Install the strut assembly. Refer to Strut Replacement.

  6. Object Number: 165165  Size: SH
  7. Adjust the camber to specification by moving the top of the wheel in or out. Refer to Wheel Alignment Specifications.