GM Service Manual Online
For 1990-2009 cars only
Figure 1:

Left Rear of the Vehicle


Object Number: 898006  Size: MF
(1)Rear Window Defogger Grid
(2)Inflatable Restraint Roof Rail Module Left (ASF)
(3)C375
Figure 2:

Rear Shelf of the Vehicle


Object Number: 898034  Size: MF
(1)Speaker - RR
(2)Speaker - LR
(3)G401/SP401
(4)G403/SP403
Figure 3:

Left Side of the Engine Compartment (2 of 2)


Object Number: 897639  Size: MF
(1)C161
(2)G109
(3)Body Harness
Figure 4:

Right Front Door


Object Number: 897648  Size: MF
(1)C604 (A31/DG7)
(2)C602 (AU3) or C608 (w/o AU3)
(3)C200
(4)C218 (ASF)
Figure 5:

Left Front Side of the Vehicle


Object Number: 897654  Size: MF
(1)C501 (AU3) or C507 (w/o AU3)
(2)C503 (A31/DG7)
(3)C201
(4)Body Control Module (BCM)
(5)Auxiliary Power Outlet - Rear
(6)G301
Figure 6:

Center of the I/P (UE1)


Object Number: 897661  Size: MF
(1)Radio
(2)C340
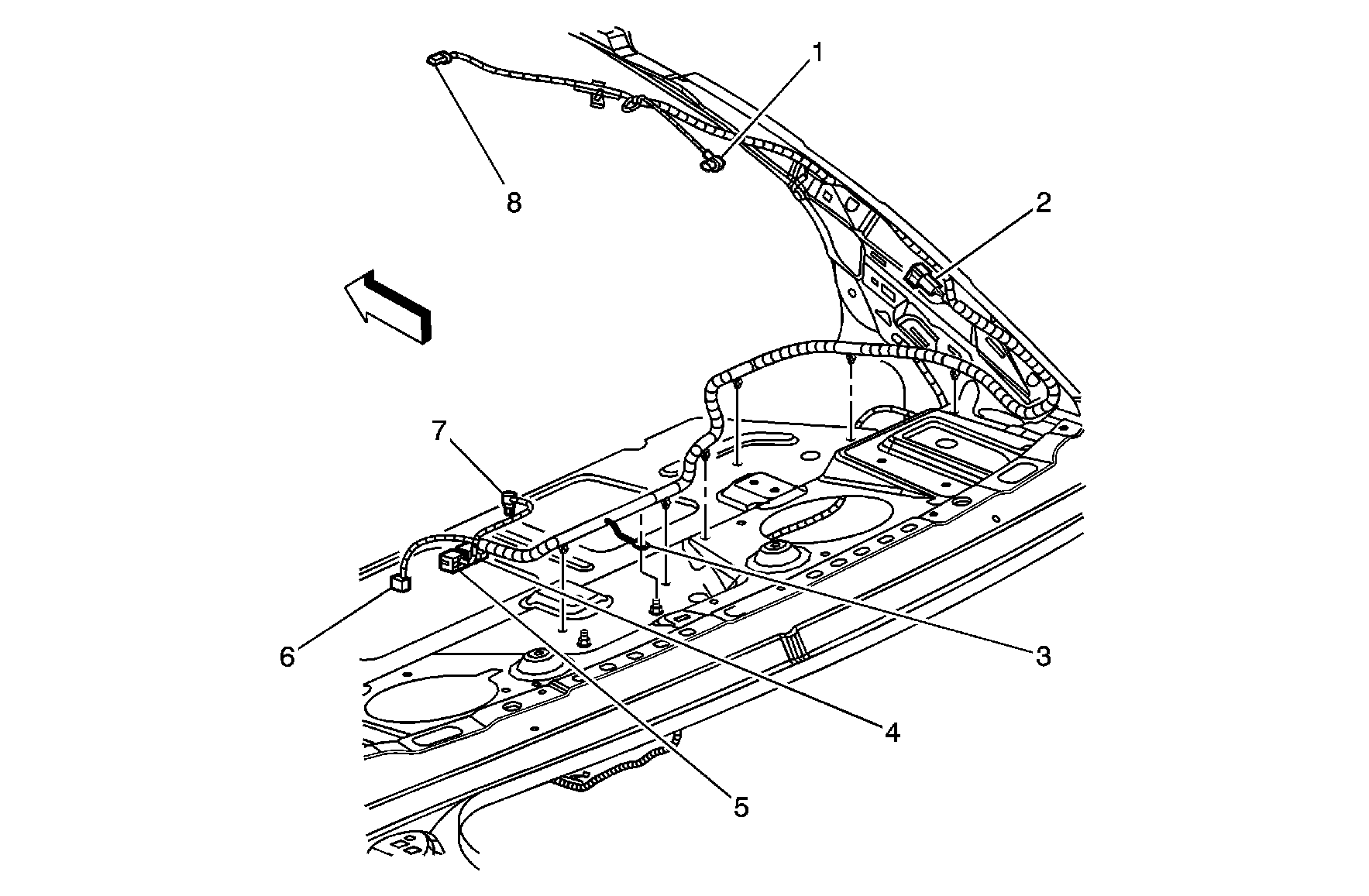
Figure 7:

Headliner Wiring Harness


Object Number: 897668  Size: MF
(1)Inside Rear View Mirror C1 (C74)
(2)Inside Rear View Mirror C2 (C74)
(3)Sunroof Switch (CF5)
(4)Sunroof Module (CF5)
(5)Dome Lamp
(6)C375
(7)Center High Mounted Stop Lamp (CHMSL)
(8)C380 (UE1)
Figure 8:

Vehicle Rear Gate


Object Number: 897671  Size: MF
(1)Rear Component Lid Latch
(2)License Lamp
(3)C401
Figure 9:

Right Rear Side Under Vehicle


Object Number: 897675  Size: MF
(1)C406 (Fuel Controls)
(2)C406 (EVAP Controls)
(3)Evaporative Emission (EVAP) Canister Vent Solenoid
Figure 10:

Left Rear Side of the Vehicle


Object Number: 897692  Size: MF
(1)C401
(2)C491, C490 Similar on Right Side
Figure 11:

Left Front Door (Coupe)


Object Number: 897697  Size: MF
(1)Door Lock Switch - Driver (AU3)
(2)Outside Rearview Mirror - Driver (DG7)
(3)C503 (A31/DG7)
(4)C501 (AU3) or C507 (w/o AU3)
(5)Speaker - LF Door
(6)Window Motor - Driver (A31)
(7)Outside Rearview Mirror Switch (DG7)
(8)Window Switch - Driver (A31)
(9)Inflatable Restraint Side Impact Sensor (SIS) - Left (ASF)
(10)Door Latch - Driver (AU3)
Figure 12:

Rear Shelf of the Vehicle (UE1) - Sedan


Object Number: 897735  Size: MF
(1)Cell Antenna Coaxial
(2)C380 (UE1)
(3)G401 (UE1)
(4)Vehicle Communication Interface Module (VCIM) C1
(5)Vehicle Communication Interface Module (VCIM) C2
(6)Cellular Coaxial
(7)Global Positioning Satellite (GPS) Coaxial
(8)Global Positioning Satellite (GPS) Antenna (UE1)
Figure 13:

Front Left Side of the Engine (M75)


Object Number: 897751  Size: MF
(1)Ignition Control Module (ICM)
(2)Fuse Block Under Hood (FBUH)
(3)Engine Control Module (ECM)
(4)Transmission Control Module (TCM)
(5)C100
(6)G105
(7)Engine Oil Pressure Switch
(8)Crank Shaft Position Sensor
(9)Knock Sensor (KS)
(10)Fuel Injectors Rail
(11)Manifold Absolute Pressure (MAP) Sensor
Figure 14:

Right Front of the Inside Vehicle


Object Number: 897582  Size: MF
(1)C216
(2)Blower Motor
(3)Blower Motor Resistor Assembly
Figure 15:

Lower Center of the I/P


Object Number: 897600  Size: MF
(1)Body Control Module (BCM)
Figure 16:

Left Side of the Engine (M43)


Object Number: 897606  Size: MF
(1)Park Neutral Position (PNP) Switch
(2)Vehicle Speed Sensor Output (VSS)
(3)A/T Input Shaft Speed Sensor (AT ISS)
(4)C100
Figure 17:

Right Front of the Vehicle (T37)


Object Number: 897608  Size: MF
(1)C110
(2)Fog Lamp RF
Figure 18:

Left Side of the Engine Compartment


Object Number: 897622  Size: MF
(1)C121 (DF5)
(2)G101/SP101
(3)Electronic Brake Control Module (EBCM) (JM4/JL9)
(4)Engine Control Module (ECM)
Figure 19:

Left Front Side of the Vehicle


Object Number: 897835  Size: MF
(1)Windshield Washer Fluid Pump
(2)Horn
(3)Fog Lamp - LF
Figure 20:

Left Front of the Vehicle


Object Number: 897864  Size: MF
(1)C111 (Sedan), C110 Similar on Right
(2)Park/Turn Signal Lamp - LF (Sedan), RF Similar
(3)Headlamp - Left (Sedan), Right Similar
(4)Headlamp - Left (Coupe), Right Similar
(5)Park/Turn Signal Lamp - LF (Coupe), RF Similar
Figure 21:

Body Rear End


Object Number: 898616  Size: MF
(1)Battery
Figure 22:

Left Side of the Engine


Object Number: 897829  Size: MF
(1)Evaporative Canister Purge Solenoid
(2)G105
Figure 23:

Right Front Side of the Engine (2.2L)


Object Number: 897627  Size: MF
(1)Idle Air Control (IAC)
(2)C150
(3)Generator
(4)Generator B+
(5)Throttle Position (TP) Sensor
(6)Intake Air Temperature (IAT)