GM Service Manual Online
For 1990-2009 cars only

1-2 and/or 2-3 Upshift Delay, Harsh Tip-in Downshift, Erratic Engagement of Down Slope Mode (Reprogram TCM)

Subject:1-2 and/or 2-3 Upshift Delay, Harsh Tip-in Downshift, Erratic Engagement of Down Slope Mode (Reprogram TCM)

Models:2003-2004 Saturn ION Vehicles
with Aisin AF23-5 Trans (RPO M43)

Attention: Fixed Operations Manager and Technician


Condition

Some customers may comment on an erratically shifting transaxle. This comment may be characterized by any of the following conditions: 1-2 and/or 2-3 upshift delay, harsh tip-in downshift, and/or erratic engagement of the down slope mode (down grade logic).

Cause

This condition may be caused by the TCM calibration.

Correction

To correct this condition, reprogram the TCM with the new calibration (P/N 24231240 or 24231241), reset the transmission adaptives, relearn the TCM, and re-evaluate the vehicle following the service procedure in this bulletin.

Service Procedure


    Object Number: 884596  Size: SF
  1. Verify the customer concern. Evaluate the vehicle at normal operating temperature with the transaxle fluid temperature between 65°-110°C (150°-230°F) for a 1-2 and/or 2-3 upshift delay - after lifting off the throttle, harsh tip-in downshift, and/or erratic engagement of the down slope mode.
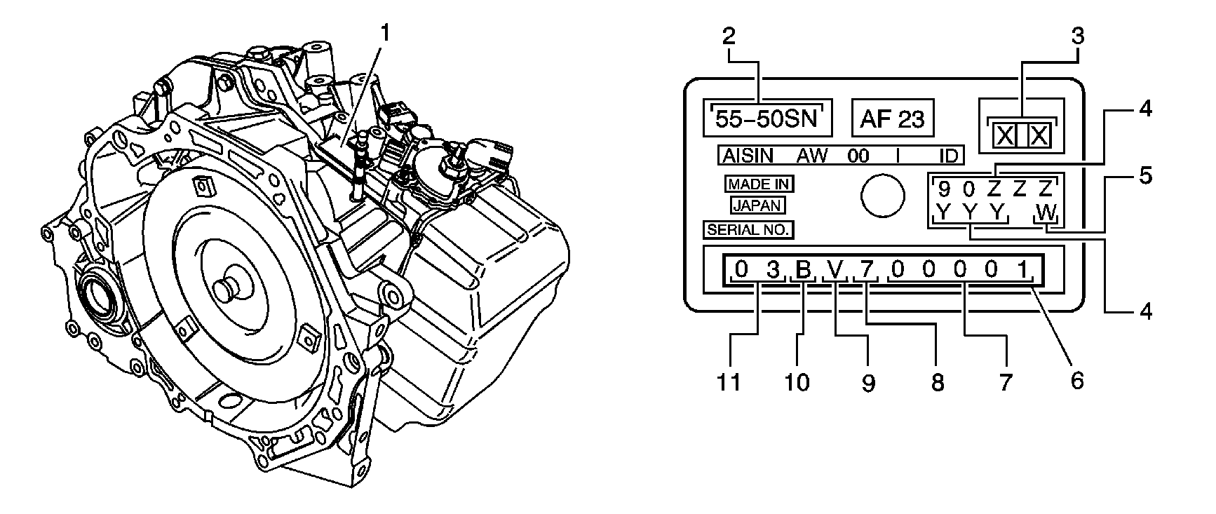
  2. Locate metal transaxle identification tag (1), and identify the transaxle part number (4). The transaxle part number will be needed to reference the calibration information table included in this bulletin for the correct calibration identification.
  3. Important: For reprogramming procedures, refer to the Service Programming System (SPS) in SSS Users Guide.

  4. Reprogram the transaxle control module (TCM) with updated calibration established from the calibration information table in this bulletin. Use Saturn Service Stall (SSS) software release TIS 03/2004 or later data CD.
  5. Important: Failure to relearn the TCM may cause intermittent erratic shifts, customer dissatisfaction, and a return visit to the store.

    Important: Perform all steps of the adaptive learn procedure. Engine flare during shifting or harsh shifts may occur if not done correctly. When performing the 2-3 and 3-4 up-shifts, a small shift flare may occur the first or second time depending on transaxle internal tolerances.

  6. Drive the vehicle until the transaxle fluid temperature reaches 65°-110°C (150°-230°F). The adaptive learn procedure will only work when the transaxle fluid temperature is correct.
  7. Reset the transaxle adaptive learns using the Tech 2® Scan Tool. Go to the Transmission Special Functions, then Trans. Output Controls menu and select Reset Transmission Adapts.
  8. Perform the following steps for the garage shifts adaptive learn.
  9. 6.1. Apply the parking brake and the foot brake.
    6.2. Shift from NEUTRAL to REVERSE and keep in REVERSE for 3 seconds.
    6.3. Shift from REVERSE to NEUTRAL.
    6.4. Repeat Steps 6.2 and 6.3 five times.
    6.5. Shift from NEUTRAL to DRIVE and keep in DRIVE for 3 seconds.
    6.6. Shift from DRIVE to NEUTRAL.
    6.7. Repeat Steps 6.5 and 6.6 five times.
  10. Perform the following steps for the up/down shifting adaptive learn.
  11. 7.1. Drive the vehicle in DRIVE with light (15-20%) throttle until above 50 km/h (31 mph) in 4th gear.
    7.2. Decelerate and apply the brakes until vehicle comes to a stop. Brake the vehicle so that it takes at least 14 seconds to come to a stop.
    7.3. Repeat Steps 7.1 and 7.2 five times.
    7.4. Drive the vehicle in DRIVE with medium (50-55%) throttle until vehicle shifts into 5th gear. (Vehicle speed will exceed 105 km/h [65 mph] for this shift.)
    7.5. Decelerate and apply the brakes until vehicle comes to a stop. Brake the vehicle slowly so that each downshift occurs.
    7.6. Repeat Steps 7.4 and 7.5 five times.
  12. Perform the following steps for 2-1 manual down shift adaptive learn.
  13. 8.1. Drive the vehicle in INTERMEDIATE range until over 25 km/h (16 mph) in 2nd with any throttle position.
    8.2. Decelerate, shift from INTERMEDIATE range to LOW range manually and stop the vehicle.
    8.3. Repeat Steps 8.1 and 8.2 ten times.

    Important: If shift quality does not improve, verify that the TCM has the correct transmission calibration.

  14. Confirm shift quality.

Calibration Information

Transaxle P/N

Calibration P/N

OE Wheel Size

24224464

None available

None available

16"

14"/15"

24226999

24231240

24231241

16"

14"/15"

24226418

24231240

24231241

16"

14"/15"

Claim Information

To receive credit for this repair during the warranty coverage period, submit a claim through the Saturn Dealer System for K5364 (TCM Reprogramming).