GM Service Manual Online
For 1990-2009 cars only

Sunroof Inoperative and/or Inside Rearview Mirror Electrical Functions Inoperative (Replace Fuse and Install New Sunroof Switch)

Subject:Sunroof Inoperative and/or Inside Rearview Mirror Electrical Functions Inoperative (Replace Fuse and Install New Sunroof Switch)

Models:2003-2004 Saturn ION
(Sedan -- Built Up To and Including VIN Breakpoint 4Z190767)
(Coupe -- Built Up To and Including VIN Breakpoint 4Z191744)

Attention: Technician


Condition

Some customers may comment on the sunroof being inoperative. They may also comment that the inside rearview mirror electrical functions will not work.

Cause

Activation of the sunroof switch may cause the internal circuitry of the sunroof switch to route the sunroof power feed to ground, which may cause the sunroof fuse to open.

Correction

Install a new 15 amp sunroof fuse in the Integrated Body Control Module (IBCM). Also install a new sunroof switch, P/N 22687360. Replace the sunroof switch using the procedure in this bulletin.

Service Procedure

Sunroof Control Switch Replacement

Removal

Important: After replacing the sunroof switch and fuse, verify that the fuse does not open by cycling the switch. If it does open, refer to "Circuit Testing (SI Document ID #427510) and Wiring Repairs (SI Document ID #897944)" in the Wiring System section located in the 2003 Saturn ION Service Manual.


    Object Number: 736989  Size: SH
  1. Use a small, flat-bladed tool to disengage the clips located at the front and rear of the sunroof control switch.
  2. To remove the sunroof control switch, rotate the switch down and to the left.
  3. Disconnect the connector from the sunroof control switch.
  4. Remove the sunroof control switch from the vehicle and discard.

Installation


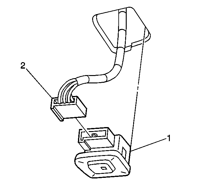
    Object Number: 282446  Size: SH
  1. Connect the connector (2) to the new sunroof control switch (1).
  2. Rotate the sunroof control switch into the headliner and press to engage the clips.

Parts Information

Part Number

Description

22687360

Sunroof Switch Assembly

12092078

15 Amp Fuse

Claim Information

To receive credit for this repair during the warranty coverage period, submit a claim through the Saturn Dealer System for N2460 (Switch, Sunroof Control - Replace).