GM Service Manual Online
For 1990-2009 cars only
Makes
🢒
Saturn
🢒
2003
🢒
ION
🢒 Daytime Running Lights
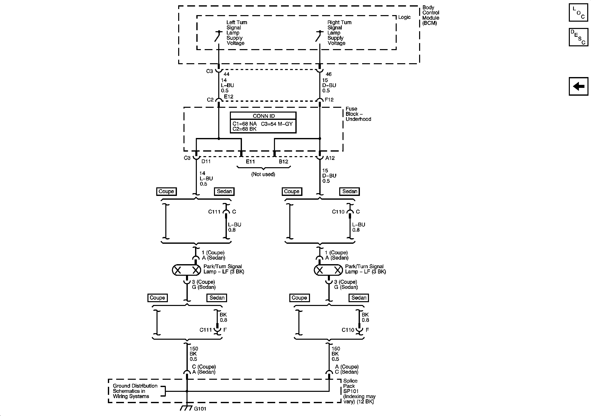
Daytime Running Lights
Daytime Running Lights
Master Electrical Component List
Exterior Lighting Systems Description and Operation
Headlights-Sedan
G101