GM Service Manual Online
For 1990-2009 cars only

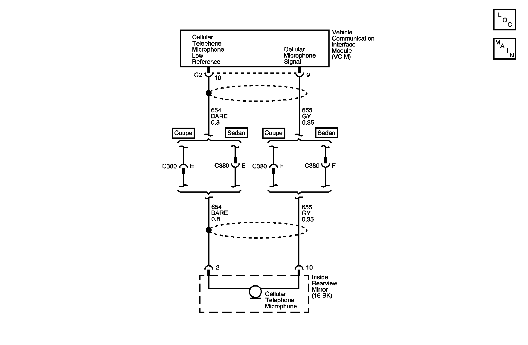
Object Number: 877502  Size: MF
Master Electrical Component List
OnStar Schematics

Circuit Description

The Vehicle Communication Interface Module detects that the Cellular Microphone is connected through the Cellular Microphone Signal circuit and the drain wire.

Conditions for Running the DTC

    • The ignition must be in the RUN or ACC position.
    •  The system voltage is at least 9.5 volts and no more than 15.5 volts.
    • All the above conditions are present for greater than 10 seconds.

Conditions for Setting the DTC

    • The Vehicle Communication Interface Module detects an open in the Drain Wire circuit or a short to voltage in the Cellular Microphone Signal circuit.
    • The above conditions are present for greater than 10 seconds.

Action Taken When the DTC Sets

    • The Vehicle Communication Interface Module will not receive any signal from the microphone.
    • Calls can be placed but the caller cannot be heard.
    • The OnStar® status LED turns RED.

Conditions for Clearing the DTC

    • The Vehicle Communication Interface Module detects the microphone connected for 5 consecutive 100 millisecond cycles.
    • A history DTC clears after 50 malfunction free ignition cycles.
    • The Vehicle Communication Interface Module receives the clear DTC command from the scan tool.

Test Description

The number below refers to the step number on the diagnostic table.

  1. This step checks that the Vehicle Communication Interface Module is sending out the proper supply voltage.

Step

Action

Value(s)

Yes

No

Schematic Reference: OnStar Schematics

Connector End View Reference: Cellular Communication Connector End Views

1

Did you perform the Cellular Communications Diagnostic System Check?

--

Go to Step 2

Go to Diagnostic System Check - Cellular Communication

2

  1. Turn OFF the ignition.
  2. Disconnect the inside rear view mirror connector.
  3. Turn ON the ignition, with the engine OFF.
  4. Measure the voltage from the Cellular Microphone Signal circuit to a good ground.

Does the voltage measure greater than the specified value?

9 V

Go to Step 4

Go to Step 3

3

Test the Cellular Microphone Signal circuit for an open or short to voltage. Refer to Circuit Testing and Wiring Repairs in Wiring Systems.

Did you find and correct the condition?

--

Go to Step 9

Go to Step 6

4

Test the cellular microphone low reference circuit for an open. Refer to Circuit Testing and Wiring Repairs in Wiring Systems.

Did you find and correct the condition?

--

Go to Step 9

Go to Step 5

5

Inspect for poor connections at the harness connector of the rearview mirror and harness connector of the Vehicle Communication Interface Module. Refer to Testing for Intermittent Conditions and Poor Connections and Connector Repairs in Wiring Systems.

Did you find and correct the condition?

--

Go to Step 9

Go to Step 7

6

Inspect for poor connections at the harness connector of the Vehicle Communication Interface Module. Refer to Testing for Intermittent Conditions and Poor Connections and Connector Repairs in Wiring Systems.

Did you find and correct the condition?

--

Go to Step 9

Go to Step 8

7

Replace the rearview mirror. Refer to Inside Rearview Mirror Replacement in Stationary Windows.

Did you complete the replacement?

--

Go to Step 9

--

8

Important: Perform the OnStar® setup procedure.

Replace the Vehicle Communication Interface Module. Refer to Communication Interface Module Replacement .

Did you complete the replacement?

--

Go to Step 9

--

9

  1. Use the scan tool in order to clear the DTCs.
  2. Operate the vehicle within the Conditions for Running the DTC as specified in the supporting text.

Does the DTC reset?

--

Go to Step 2

System OK