GM Service Manual Online
For 1990-2009 cars only

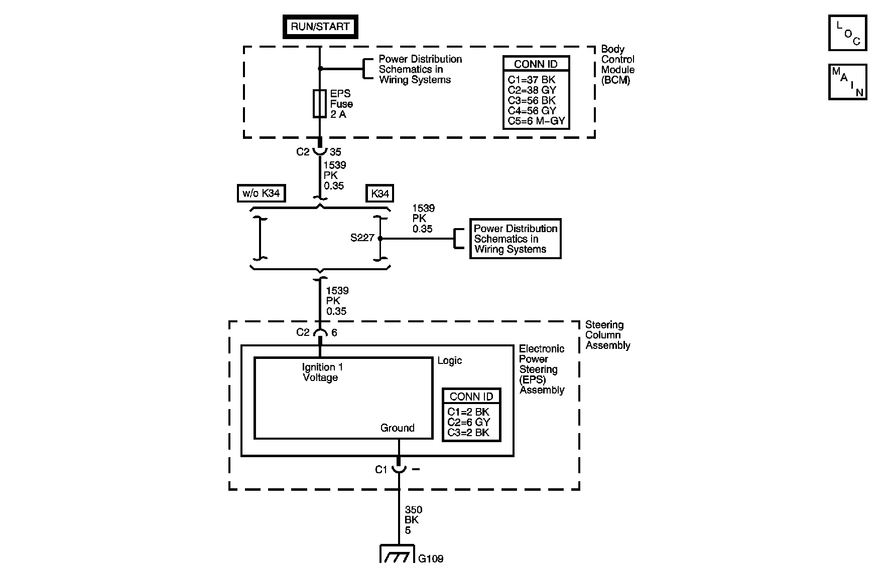
Object Number: 879522  Size: MF

Circuit Description

The body control module (BCM) contains the 2 amp EPS fuse. This fuse and the ignition 1 voltage circuit supply ignition voltage to the power steering control module (PSCM). This ignition voltage is used to wake up the PSCM.

Conditions for Running the DTC

The ignition is ON.

Conditions for Setting the DTC

    • The ignition 1 voltage circuit is shorted to ground or open.
    • DTCs U1300 and U1301 are not set.

Action Taken When the DTC Sets

    • DTC C0847 is stored in memory.
    • The instrument panel cluster (IPC) message center displays the PWR STR warning message.
    • The EPS system is disabled.

Conditions for Clearing the DTC

    • A current DTC will clear when the malfunction is no longer present.
    • A history DTC will clear after 100 consecutive malfunction free ignition cycles.
    • Using a scan tool

Diagnostic Aids

The ignition 1 voltage circuit supplies several other control modules with ignition voltage. Before preceding with the diagnostic table below, ensure no other control modules that use the ignition 1 circuit for their ignition voltage supply have any ignition voltage malfunctions present, such as the sensing and diagnostic module (SDM) or the cruise control module (CCM). Refer to Power Distribution Schematics in Wiring Systems. If an intermittent malfunction exists, refer to Testing for Intermittent Conditions and Poor Connections in Wiring Systems for further diagnosis.

Test Description

The numbers below refer to the step numbers on the diagnostic table.

  1. Tests if the malfunction is intermittent.

  2. Tests if a short to ground exists in the ignition 1 voltage circuit, or in the PSCM.

Step

Action

Yes

No

Connector End Views Reference: Power Steering Connector End Views

1

Did you perform the Power Steering Diagnostic System Check?

Go to Step 2

Go to Diagnostic System Check - Power Steering System

2

  1. Install a scan tool.
  2. Turn ON the ignition, with the engine OFF.
  3. With a scan tool, attempt to establish communication with the power steering control module (PSCM).

Does the scan tool communicate with the PSCM?

Go to Diagnostic Aids

Go to Step 3

3

  1. Turn OFF the ignition.
  2. Inspect the 2 A EPS fuse for an open.

Is the fuse open?

Go to Step 4

Go to Step 6

4

  1. Replace the 2 A EPS fuse.
  2. Turn ON the ignition, with the engine OFF.

Does the fuse open?

Go to Step 5

Go to Diagnostic Aids

5

Test the ignition 1 voltage circuit of the PSCM for a short to ground. Refer to Testing for Short to Ground and Wiring Repairs in Wiring Systems.

Did you find and correct the condition?

Go to Step 10

Go to Step 9

6

Test the ignition 1 voltage circuit of the PSCM for an open. Refer to Circuit Testing and to Wiring Repairs in Wiring Systems.

Did you find and correct the condition?

Go to Step 10

Go to Step 7

7

Inspect for poor connections at the harness connector of the body control module (BCM). Refer to Testing for Intermittent Conditions and Poor Connections and to Connector Repairs in Wiring Systems.

Did you find and correct the condition?

Go to Step 10

Go to Step 8

8

Inspect for poor connections at the harness connector of the PSCM. Refer to Testing for Intermittent Conditions and Poor Connections and to Connector Repairs in Wiring Systems.

Did you find and correct the condition?

Go to Step 10

Go to Step 9

9

Replace the EPS assembly. Refer to Steering Column Replacement in Steering Wheel and Column.

Did you complete the replacement?

Go to Step 10

--

10

  1. Use the scan tool in order to clear the DTCs.
  2. Operate the vehicle within the Conditions for Running the DTC.

Does the DTC reset?

Go to Step 2

System OK