GM Service Manual Online
For 1990-2009 cars only

Object Number: 879523  Size: MF

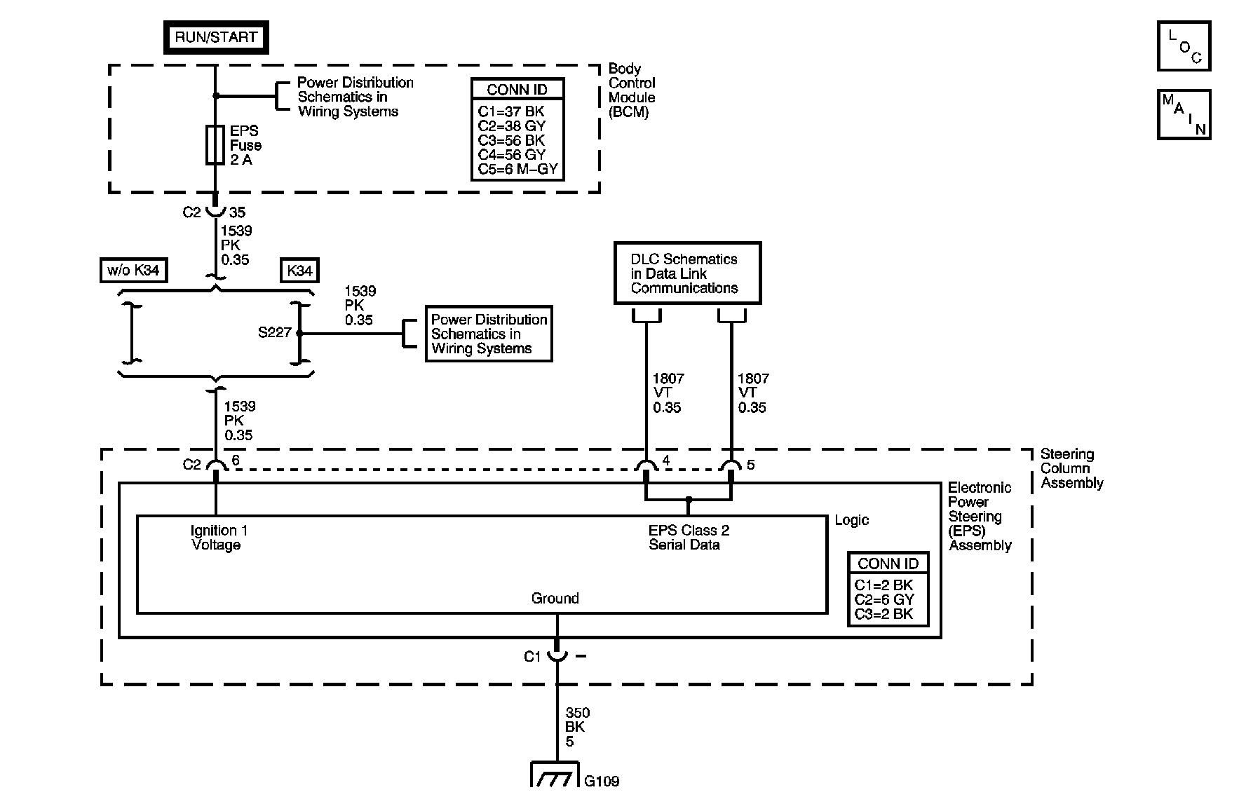
Circuit Description

The Power Steering Control Module (PSCM) receives a class 2 power moding message from the Body Control Module (BCM) to determine the position of the ignition switch. After a power mode OFF message is received, the PSCM monitors the ignition 1 voltage circuit to detect if a short to voltage fault exists.

Conditions for Running the DTC

    • The ignition is OFF.
    • The class 2 power mode message indicates OFF.

Conditions for Setting the DTC

    • The PSCM ignition 1 voltage circuit is shorted to voltage.
    • DTCs U1300 and U1301 are not set.

Action Taken When the DTC Sets

    • DTC C0848 is stored in memory.
    • The IPC message center displays the PWR STR warning message.

Conditions for Clearing the MIL/DTC

    • A current DTC will clear on the next consecutive malfunction free ignition cycle.
    • A history DTC will clear after 100 consecutive malfunction free ignition cycles.
    • Using a scan tool

Step

Action

Yes

No

Connector End Views Reference: Power Steering Connector End Views

1

Did you perform the Power Steering Diagnostic System Check?

Go to Step 2

Go to Diagnostic System Check - Power Steering System

2

Test the ignition 1 voltage circuit for a short to voltage. Refer to Testing for a Short to Voltage and Wiring Repairs in Wiring Systems.

Did you find and correct the condition?

Go to Step 3

Go to Testing for Intermittent Conditions and Poor Connections in Wiring Systems

3

  1. Use the scan tool in order to clear the DTCs.
  2. Operate the vehicle within the Conditions for Running the DTC.

Does the DTC reset?

Go to Step 2

System OK