GM Service Manual Online
For 1990-2009 cars only

Object Number: 882357  Size: MF
OBD II Symbol Description Notice

Circuit Description

The 2-3, 3-4 shift solenoid (SS) valve (S2) controls transmission fluid pressure acting on the M2 shift valve to position the valve for the appropriate gear. The 2-3, 3-4 SS valve (S2) is a normally open exhaust valve located on the front control valve body. The solenoid is case grounded. The output driver module (ODM), within the TCM, commands the solenoid ON or OFF by providing voltage. When the 2-3, 3-4 SS valve (S2) is commanded ON, the TCM senses high voltage. When the 2-3, 3-4 SS valve (S2) is commanded OFF, the TCM senses low voltage.

If the TCM detects a continuous open or short to voltage in the 2-3, 3-4 SS valve (S2) circuit, then DTC P0977 sets. DTC P0977 is a type A DTC.

Conditions for Running the DTC

    • The system voltage is 8-18 volts.
    • The engine run time is greater than 5 seconds.
    • Trans. Protection Mode is OFF.
    • The TCM has commanded the 2-3, 3-4 SS valve OFF.

Conditions for Setting the DTC

The 2-3, 3-4 SS valve (S2) feedback circuit indicates a continuous open or short to voltage for 0.5 seconds.

Action Taken When the DTC Sets

    • The TCM requests the engine conrol module (ECM) to illuminate the malfunction indicator lamp (MIL).
    • The TCM turns the Trans. Protection Mode ON. When the Trans. Protection Mode is ON, the following conditions occur:
      • The transmission will operate in 5th gear when the transmission is shifted into D or I range and 2nd gear when shifted into L range.
      • The line pressure is at maximum.
      • The torque converter clutch (TCC) is disabled.
      • The TCM freezes the transmission adaptive functions.
    • The ECM records the operating conditions when the Conditions for Setting the DTC are met. The ECM stores this information as Freeze Frame and Failure Records.
    • The TCM records the operating conditions when the Conditions for Setting the DTC are met. The TCM stores this information as Failure Record.
    • The TCM stores DTC P0977 in TCM history.

Conditions for Clearing the MIL/DTC

    • The ECM turns off the MIL after the third consecutive drive trip in which the TCM does not send a MIL illumination request.
    • A scan tool can clear the MIL/DTC.
    • The TCM clears the DTC from TCM history if the vehicle completes 40 warm-up cycles without an emission-related diagnostic fault occurring.
    • The TCM cancels the DTC default actions when the ignition switch is OFF long enough in order to power down the TCM.

Test Description

The numbers below refer to the step numbers on the diagnostic table.

  1. This step determines if the shift solenoid has a poor ground connection.

Step

Action

Values

Yes

No

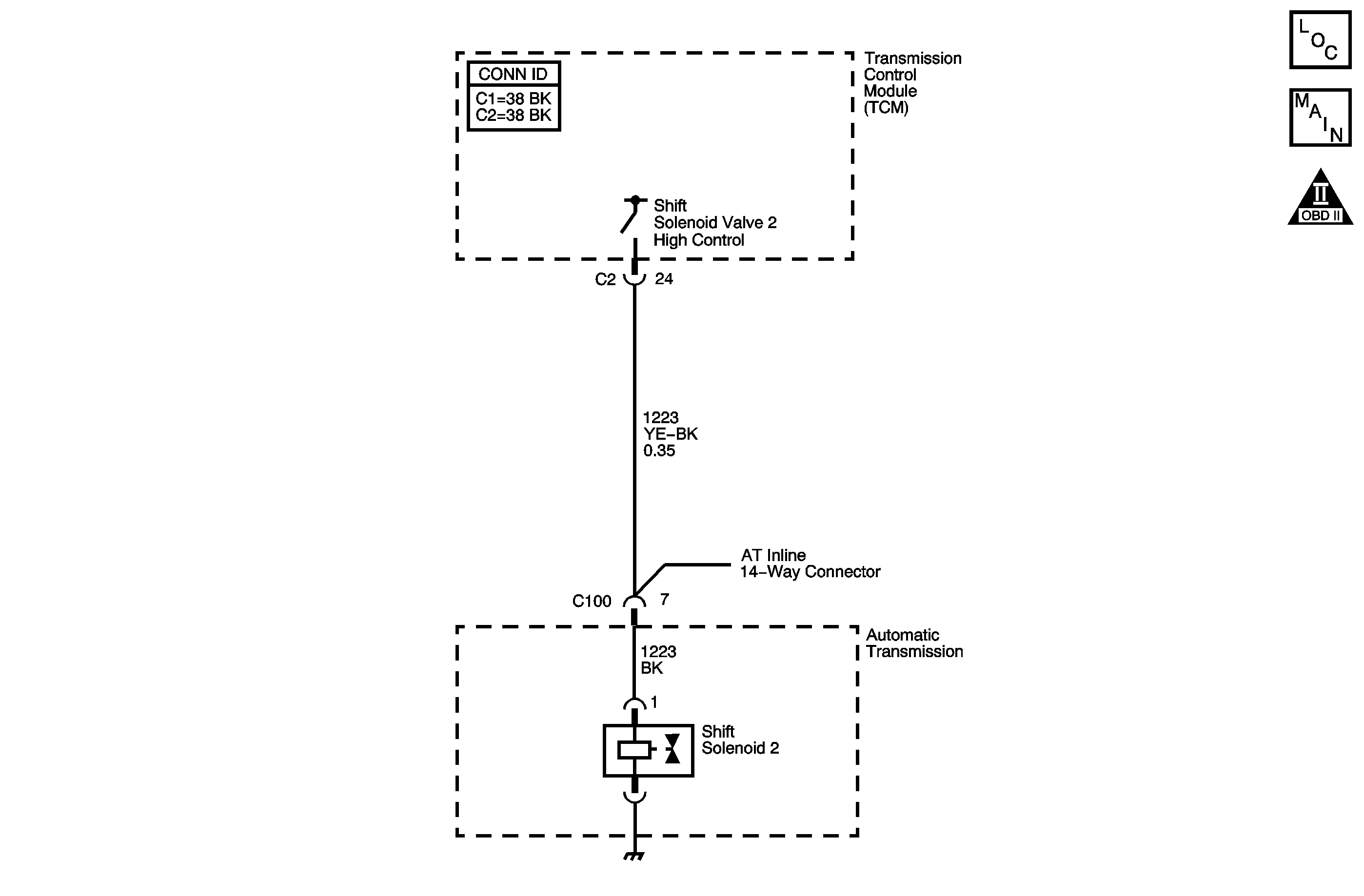
Schematic Reference: Automatic Transmission Controls Schematics

Connector End View Reference: Automatic Transmission Inline Harness Connector End View

1

Did you perform the Diagnostic System Check - Engine Controls?

--

Go to Step 2

Go to Diagnostic System Check - Engine Controls in Engine Controls 2.2L (L61)

2

  1. Install a scan tool.
  2. Turn ON the ignition, with the engine OFF.
  3. Important: Before clearing the DTC, use the scan tool in order to record the Freeze Frame and Failure Records. Using the Clear Eng./Trans. DTC Info function erases the Freeze Frame and Failure Records from the TCM.

  4. Record the DTC Failure Records.
  5. Clear the DTC.
  6. Command Shift Solenoid 2 OFF with a scan tool.
  7. Observe Shift Solenoid 2 CKT Status with a scan tool.

Is Shift Solenoid 2 CKT Status OK?

--

Go to Intermittent Conditions in Engine Controls 2.2L (L61)

Go to Step 3

3

  1. Disconnect the transmission AT inline 14-way connector.
  2. Probe terminal 7 with a test lamp connected to a good ground.
  3. Command Shift Solenoid 2 ON and OFF with a scan tool.

Does the test lamp turn ON and OFF?

--

Go to Step 4

Go to Step 7

4

Inspect for poor connections at the transmission AT inline 14-way connector.

Did you find and correct the condition?

--

Go to Step 12

Go to Step 5

5

  1. Remove the control valve body cover.
  2. Inspect the 2-3, 3-4 SS valve (S2) mounting bolt (307) for proper tightness.

Did you find and correct the condition?

--

Go to Step 12

Go to Step 6

6

  1. Disconnect the light gray 1-way connector from the 2-3, 3-4 SS valve (S2).
  2. Test the shift solenoid 2 control circuit (1223) for an open or short to another circuit.

Refer to Circuit Testing and Wiring Repairs in Wiring Systems.

Did you find and correct the condition?

--

Go to Step 9

Go to Step 10

7

  1. Disconnect the TCM C2 connector.
  2. Test the shift solenoid 2 control circuit (1223) for an open or short to voltage.

Refer to Circuit Testing and Wiring Repairs in Wiring Systems.

Did you find and correct the condition?

--

Go to Step 12

Go to Step 8

8

Inspect the TCM C2 connector for poor connections.

Did you find and correct the condition?

--

Go to Step 12

Go to Step 11

9

Replace the automatic transmission wiring harness.

Refer to Wiring Harness Removal .

Did you complete the replacement?

--

Go to Step 12

--

10

Replace the 2-3, 3-4 SS valve (S2).

Refer to Control Valve Body Assembly Disassemble .

Did you complete the replacement?

--

Go to Step 12

--

11

Replace the TCM.

Refer to Transmission Control Module Replacement .

Did you complete the replacement?

--

Go to Step 12

--

12

Perform the following procedure in order to verify the repair:

  1. Select DTC.
  2. Select Clear Info.
  3. Operate the vehicle.
  4. Select Specific DTC.
  5. Enter DTC P0977.

Has the test run and passed?

--

Go to Step 13

Go to Step 2

13

With the scan tool, observe the stored information, capture info and DTC info.

Does the scan tool display any DTCs that you have not diagnosed?

--

Go to Diagnostic Trouble Code (DTC) List to Engine Controls - 2.2L (L61)

System OK