GM Service Manual Online
For 1990-2009 cars only

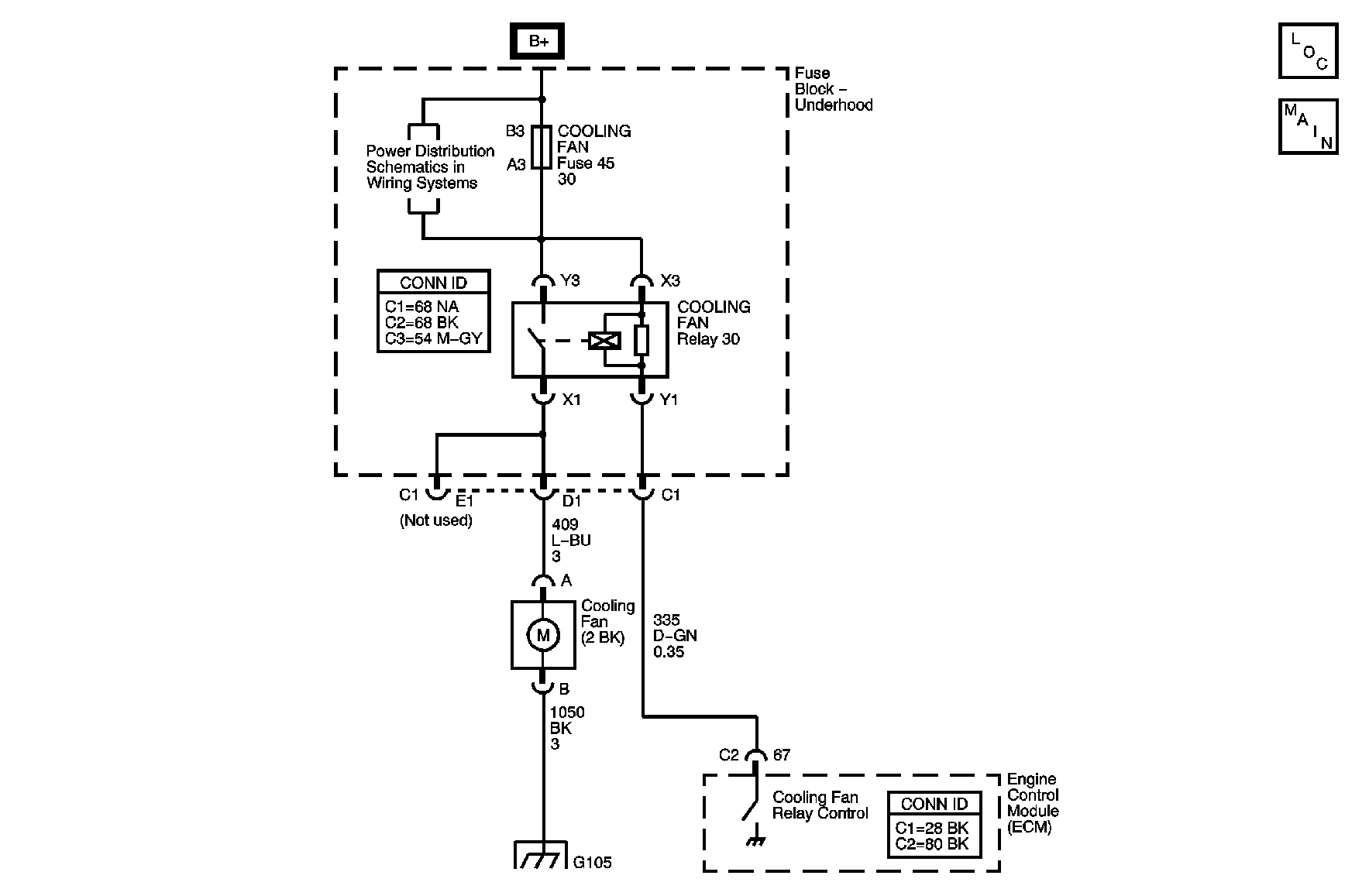
Object Number: 889649  Size: MF

Circuit Description

Battery positive voltage is supplied to the cooling fan relay through the 30 A cooling fan fuse located in the underhood fuse block. The engine control module (ECM) controls the cooling fan relay by grounding the cooling fan relay control circuit through an internal solid state device called a driver. The primary function of the driver is to supply the ground for the component being controlled. Each driver has a fault line which is monitored by the ECM. When the ECM is commanding a component on, the voltage potential of the control circuit should be low, near 0 volts. When the ECM is commanding the control circuit to a component off, the voltage potential of the circuit should be high, near battery voltage. If the fault detection circuit senses a voltage other than what is expected, the DTC will set.

The ECM will monitor the control circuit for the following:

    • A short to ground
    • A short to voltage
    • An open circuit
    • An open relay coil
    • An internally shorted or excessively low resistance relay coil.

When the ECM detects any of the above conditions, the DTC will set and the affected driver will be disabled.

Conditions for Running the DTC

    • The ignition is ON.
    • The battery voltage is more than 9.0 volts.

Conditions for Setting the DTC

    • The ECM detects an open, a short to ground or a short to voltage on the cooling fan relay control circuit.
    • The condition must be present for a minimum of  6 seconds.

Action Taken When the DTC Sets

    • The ECM will illuminate the malfunction indicator lamp (MIL) during the second consecutive trip in which the diagnostic test has been run and failed.
    • The ECM will store conditions which were present when the DTC set as Freeze Frame and Failure Records data.

Conditions for Clearing the MIL/DTC

    • The ECM will turn OFF the MIL during the third consecutive trip in which the diagnostic has been run and passed.
    • The History DTC will clear after 40 consecutive warm-up cycles have occurred without a malfunction.
    • The DTC can be cleared by using the scan tool.

Diagnostic Aids

    • If the condition is not present, refer to Testing for Intermittent Conditions and Poor Connections in Wiring Systems.
    • Review the Freeze/Failure Records vehicle mileage since the diagnostic test last failed. This may help determine how often the condition that caused the DTC to be set occurs.

Test Description

The numbers below refer to the step numbers on the diagnostic table.

  1. Listen for an audible click when the cooling fan relay operates. Command both the ON and OFF states. Repeat the commands as necessary.

  2. Tests for voltage at the coil side of the cooling fan relay. The cool fan fuse supplies power to the cooling fan relay.

  3. Verifies that the ECM is providing ground to the cooling fan relay.

  4. Tests if ground is constantly being applied to the cooling fan relay.

Step

Action

Yes

No

Connector End View Reference: Cooling System Connector End Views

1

Did you perform the Engine Cooling Diagnostic System Check?

Go to Step 2

Go to Diagnostic System Check - Engine Cooling

2

  1. Install a scan tool.
  2. Turn ON the ignition, with the engine OFF.
  3. With a scan tool, command the Fan Relay ON and OFF.

Does the cooling fan relay turn ON and OFF with each command?

Go to Diagnostic Aids

Go to Step 3

3

  1. Turn OFF the ignition.
  2. Disconnect the cooling fan relay.
  3. Turn ON the ignition, with the engine OFF.
  4. Probe the battery positive voltage circuit of the cooling fan relay with a test lamp that is connected to a good ground.

Does the test lamp illuminate?

Go to Step 4

Go to Step 8

4

  1. Connect a test lamp between the control circuit of the cooling fan relay and the battery positive voltage circuit of the cooling fan relay.
  2. With a scan tool, command the Fan Relay ON and OFF .

Does the test lamp turn ON and OFF with each command?

Go to Step 10

Go to Step 5

5

Does the test lamp remain illuminated with each command?

Go to Step 7

Go to Step 6

6

Test the control circuit of the cooling fan relay for a short to voltage or an open. Refer to Circuit Testing and Wiring Repairs in Wiring Systems.

Did you find and correct the condition?

Go to Step 14

Go to Step 9

7

Test the control circuit of the cooling fan relay for a short to ground. Refer to Circuit Testing and Wiring Repairs in Wiring Systems.

Did you find and correct the condition?

Go to Step 14

Go to Step 9

8

Test the battery positive voltage circuit of the cooling fan relay for a short to ground or an open. Refer to Circuit Testing and Wiring Repairs in Wiring Systems.

Did you complete the repair?

Go to Step 14

Go to Step 11

9

Inspect for poor connections at the harness connector of the ECM. Refer to Testing for Intermittent Conditions and Poor Connections and Connector Repairs in Wiring Systems.

Did you find and correct the condition?

Go to Step 14

Go to Step 13

10

Inspect for poor connections at the cooling fan relay. Refer to Testing for Intermittent Conditions and Poor Connections and Connector Repairs in Wiring Systems.

Did you find and correct the condition?

Go to Step 14

Go to Step 12

11

Repair the cooling fan motor supply voltage circuit for a short to ground. Refer to Wiring Repairs in Wiring Systems.

Did you complete the repair?

Go to Step 14

--

12

Replace the cooling fan relay.

Did you complete the replacement?

Go to Step 14

--

13

Important: Perform the programming procedure for the ECM.

Replace the ECM. Refer to Engine Control Module Replacement in Engine Controls-2.2L (L 61).

Did you complete the replacement?

Go to Step 13

--

14

  1. Use the scan tool in order to clear the DTCs .
  2. Operate the vehicle within the Conditions for Running the DTC as specified in the supporting text.

Does the DTC reset?

Go to Step 2

System OK