GM Service Manual Online
For 1990-2009 cars only

Object Number: 1402881  Size: MF

Circuit Description

During Battery Saver Mode, the powertrain control module (PCM) determines if the throttle plate is returning to the correct de-energized position. If the PCM determines the throttle plate is not at the correct position during battery saver mode, this diagnostic trouble code (DTC) is set.

Conditions for Running the DTC

    • The ignition is ON and the engine is OFF.
    • The ignition voltage is more than 8.5 volts.
    • Battery Saver Mode is active.

Conditions for Setting the DTC

The PCM detects that the commanded and actual throttle positions are not within a calibrated range of each other.

Action Taken When the DTC Sets

The PCM stores conditions which were present when the DTC set as Failure Records only. This information will not be stored as Freeze Frame Records.

Conditions for Clearing the MIL/DTC

    • The DTC becomes history when the conditions for setting the DTC are no longer present.
    • The history DTC clears after 40 malfunction free warm-up cycles.
    • The PCM receives a clear code command from the scan tool.

Diagnostic Aids

If you do not find any trouble, inspect for mechanical conditions or binding that may be temperature related. Components may not move freely in extreme heat or cold due to the presence of contaminants or ice formation.

Test Description

The number below refers to the step number on the diagnostic table.

  1. More than 1 ETC system related DTC may set. This is due to the many redundant tests run continuously on this system. Locating and repairing 1 individual condition may correct more than 1 DTC. Keep this in mind when reviewing captured DTC info.

Step

Action

Values

Yes

No

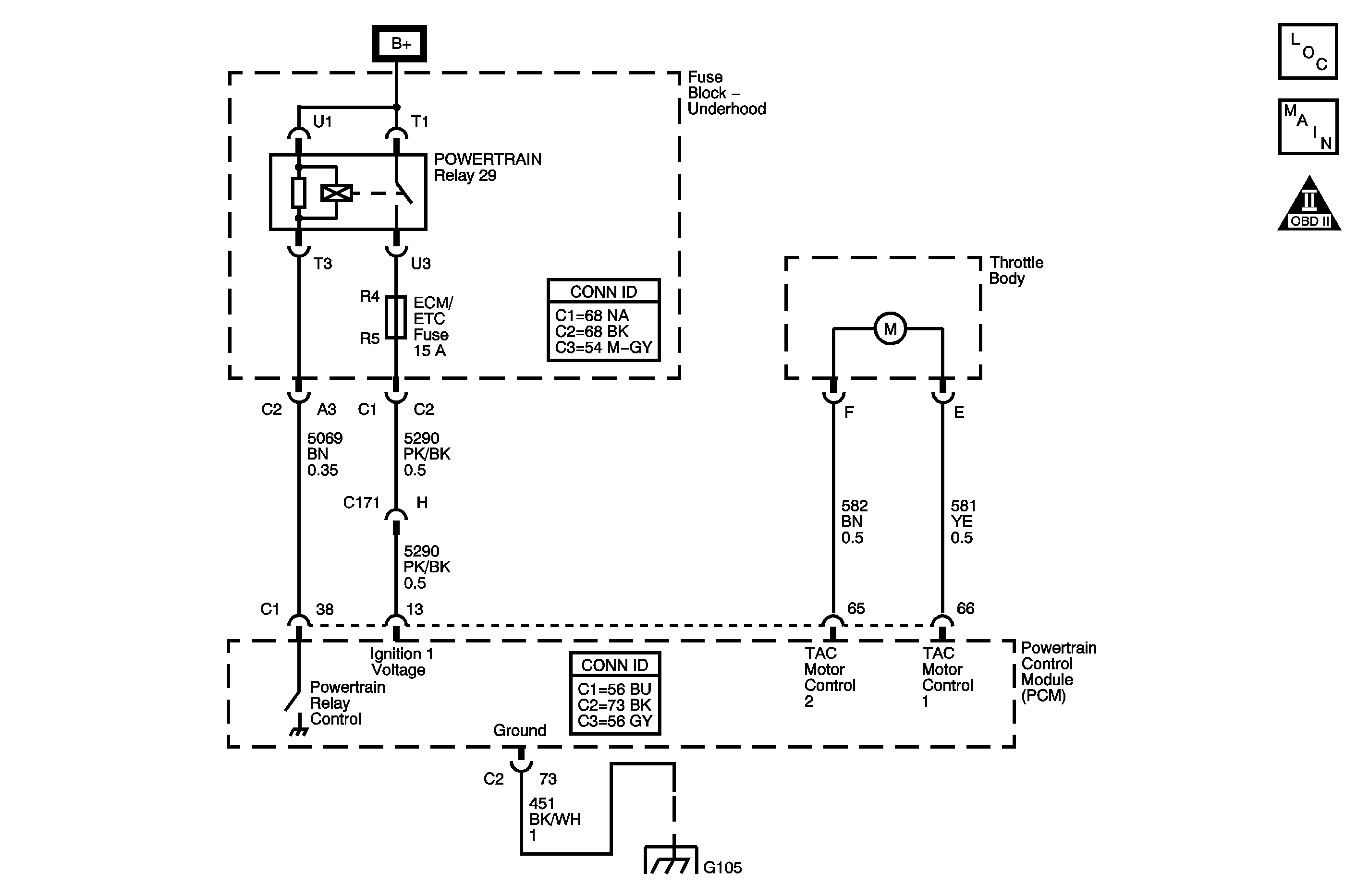
Schematic Reference: Engine Controls Schematics

Connector End View Reference: Powertrain Control Module Connector End Views or Engine Controls Connector End Views

1

Did you perform the Diagnostic System Check-Engine Controls?

--

Go to Step 2

Go to Diagnostic System Check - Engine Controls

2

Are any other DTCs set?

--

Go to Diagnostic Trouble Code (DTC) List

Go to Step 3

3

  1. Turn OFF the ignition for 15 seconds.
  2. Turn ON the ignition, with the engine OFF.
  3. Allow the pedal to rest at idle stop for 20 seconds.
  4. Observe the indicated throttle position parameter with a scan tool.

Does the scan tool indicate throttle position within the specified values?

10.8-23.2%

Go to Step 6

Go to Step 4

4

Remove the throttle body assembly. Refer to Throttle Body Assembly Replacement .

Did you find any obstructions preventing the throttle blade from returning to the default position?

--

Go to Step 5

Go to Step 6

5

Remove the obstruction.

Did you complete the action?

--

Go to Step 7

--

6

Replace the throttle body assembly. Refer to Throttle Body Assembly Replacement .

Did you complete the replacement?

--

Go to Step 7

--

7

  1. Clear the DTCs with a scan tool.
  2. Turn OFF the ignition for 30 seconds.
  3. Start the engine.
  4. Operate the vehicle within the Conditions for Running the DTC. You may also operate the vehicle within the conditions that you observed from the Freeze Frame/Failure Records.

Did the DTC fail this ignition?

--

Go to Step 2

Go to Step 8

8

Observe the Capture Info with a scan tool.

Are there any DTCs that have not been diagnosed?

--

Go to Diagnostic Trouble Code (DTC) List

System OK