GM Service Manual Online
For 1990-2009 cars only
Table 1: Accelerator Pedal Position (APP) Sensor
Table 2: Barometric Pressure (BARO) Sensor
Table 3: Camshaft Position (CMP) Sensor
Table 4: Crankshaft Position (CKP) Sensor
Table 5: Engine Coolant Temperature (ECT) Sensor
Table 6: Evaporative Emission (EVAP) Canister Purge Solenoid
Table 7: Evaporative Emission (EVAP) Canister Vent Solenoid
Table 8: Fuel Injector 1
Table 9: Fuel Injector 2
Table 10: Fuel Injector 3
Table 11: Fuel Injector 4
Table 12: Fuel Pump
Table 13: Fuel Tank Pressure (FTP) Sensor
Table 14: Heated Oxygen Sensor (HO2S) 1
Table 15: Heated Oxygen Sensor (HO2S) 2
Table 16: Ignition Coil 1
Table 17: Ignition Coil 2
Table 18: Ignition Coil 3
Table 19: Ignition Coil 4
Table 20: Knock Sensor (KS)
Table 21: MAF/IAT Sensor
Table 22: Manifold Absolute Pressure (MAP) Sensor
Table 23: Super Charge Inlet Pressure (SCIP) Sensor
Table 24: Supercharger By-Pass Valve Solenoid
Table 25: Supercharger Intercooler Coolant Pump
Table 26: Throttle Body

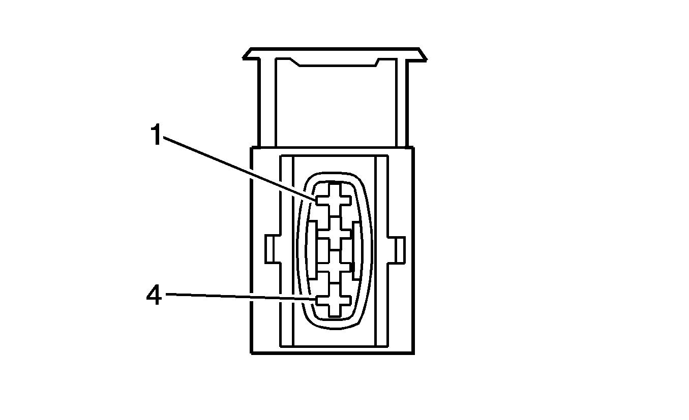
Accelerator Pedal Position (APP) Sensor


Object Number: 886053  Size: CH

Connector Part Information

    • 15326830
    • 6-Way F GT 150 Series Sealed (BK)

Pin

Wire Color

Circuit No.

Function

A

TN

1274

5-Volt Reference

B

L-BU

1162

APP Sensor 2 Signal

C

PU

1272

Low Reference

D

BN

1271

Low Reference

E

D-BU

1161

APP Sensor 1 Signal

F

WH/BK

1164

5-Volt Reference

Barometric Pressure (BARO) Sensor


Object Number: 684840  Size: CH

Connector Part Information

    • 12129946
    • 3-Way F Metri-Pack 150 Series Sealed (GY)

Pin

Wire Color

Circuit No.

Function

A

OG/BK

6014

Low Reference

B

GY/BK

433

BARO Sensor Signal

C

WH/BK

2932

5-Volt Reference

Camshaft Position (CMP) Sensor


Object Number: 1400090  Size: CH

Connector Part Information

    • 15336029
    • 3-Way GT 150 Series Sealed (BK)

Pin

Wire Color

Circuit No.

Function

1

GY

596

5-Volt Reference

2

BN/WH

633

CMP Sensor Signal

3

PK/BK

632

Low Reference

Crankshaft Position (CKP) Sensor


Object Number: 1403270  Size: CH

Connector Part Information

    • 1928403698
    • 2-Way F Bosch Kompakt (BK)

Pin

Wire Color

Circuit No.

Function

1

PU

574

Low Reference

2

YE

573

CKP Sensor Signal

Engine Coolant Temperature (ECT) Sensor


Object Number: 1403270  Size: CH

Connector Part Information

    • 1928403698
    • 2-Way F Bosch Kompakt (BK)

Pin

Wire Color

Circuit No.

Function

1

BK

2761

Low Reference

2

YE

410

ECT Sensor Signal

Evaporative Emission (EVAP) Canister Purge Solenoid


Object Number: 684795  Size: CH

Connector Part Information

    • 12052643
    • 2-Way F Metri-Pack 150 Series Sealed (RD)

Pin

Wire Color

Circuit No.

Function

A

PK/BK

5291

Ignition 1 Voltage

B

D-GN/WH

428

EVAP Canister Purge Solenoid Control

Evaporative Emission (EVAP) Canister Vent Solenoid


Object Number: 684795  Size: CH

Connector Part Information

    • 12052643
    • 2-Way F Metri-Pack 150 Series Sealed (RD)

Pin

Wire Color

Circuit No.

Function

A

OG

840

Battery Positive Voltage

B

WH

1310

EVAP Canister Vent Solenoid Control

Fuel Injector 1


Object Number: 366123  Size: CH

Connector Part Information

    • 15326181
    • 2-Way F Micro-Pack 064 Sealed (BK)

Pin

Wire Color

Circuit No.

Function

A

PK/BK

5293

Ignition 1 Voltage

B

BK

1744

Fuel Injector 1 Control

Fuel Injector 2


Object Number: 366123  Size: CH

Connector Part Information

    • 15326181
    • 2-Way F Micro-Pack 064 Sealed (BK)

Pin

Wire Color

Circuit No.

Function

A

PK/BK

5293

Ignition 1 Voltage

B

L-BU/BK

844

Fuel Injector 2 Control

Fuel Injector 3


Object Number: 366123  Size: CH

Connector Part Information

    • 15326181
    • 2-Way F Micro-Pack 064 Sealed (BK)

Pin

Wire Color

Circuit No.

Function

A

PK/BK

5293

Ignition 1 Voltage

B

PK/BK

1746

Fuel Injector 3 Control

Fuel Injector 4


Object Number: 366123  Size: CH

Connector Part Information

    • 15326181
    • 2-Way F Micro-Pack 064 Sealed (BK)

Pin

Wire Color

Circuit No.

Function

A

PK/BK

5293

Ignition 1 Voltage

B

L-GN/BK

1745

Fuel Injector 4 Control

Fuel Pump


Object Number: 872554  Size: CH

Connector Part Information

    • 776127-2
    • 2-Way F AMP (BK)

Pin

Wire Color

Circuit No.

Function

1

PK/BK

120

Fuel Pump Supply Voltage

2

BK

650

Ground

Fuel Tank Pressure (FTP) Sensor


Object Number: 516611  Size: CH

Connector Part Information

    • 12059595
    • 3-Way Metri-Pack 150 Series Sealed (BK)

Pin

Wire Color

Circuit No.

Function

A

RD/PK

469

Low Reference

B

GY/RD

890

Fuel Tank Pressure Sensor Signal

C

BN/WH

416

5-Volt Reference

Heated Oxygen Sensor (HO2S) 1


Object Number: 456551  Size: CH

Connector Part Information

    • 12160482
    • 4-Way F Metri-Pack 150 Series Sealed (BK)

Pin

Wire Color

Circuit No.

Function

A

TN

1667

HO2S Low Signal Sensor 1

B

PU

1666

HO2S High Signal Sensor 1

C

D-GN

676

HO2S Heater Low Control Sensor 1

D

PK/BK

5291

Ignition 1 Voltage

Heated Oxygen Sensor (HO2S) 2


Object Number: 280761  Size: CH

Connector Part Information

    • 12160825
    • 4-Way M Metri-Pack 150 Series (BK)

Pin

Wire Color

Circuit No.

Function

A

TN/WH

1669

HO2S Low Signal Sensor 2

B

PU/WH

1668

HO2S High Signal Sensor 2

C

BK/WH

1423

HO2S Heater Low Control Sensor 2

D

PK/BK

5291

Ignition 1 Voltage

Ignition Coil 1


Object Number: 1384254  Size: CH

Connector Part Information

    • 1928403440
    • 4-Way F Kompakt (BK)

Pin

Wire Color

Circuit No.

Function

A

PK/BK

5292

Ignition 1 Voltage

B

TN/WH

6405

IC 1 Control

C

VT

6413

Low Reference

D

BK/WH

451

Ground

Ignition Coil 2


Object Number: 1384254  Size: CH

Connector Part Information

    • 1928403440
    • 4-Way F Kompakt (BK)

Pin

Wire Color

Circuit No.

Function

A

PK/BK

5292

Ignition 1 Voltage

B

L-BU/WH

6408

IC 2 Control

C

VT

6413

Low Reference

D

BK/WH

451

Ground

Ignition Coil 3


Object Number: 1384254  Size: CH

Connector Part Information

    • 1928403440
    • 4-Way F Kompakt (BK)

Pin

Wire Color

Circuit No.

Function

A

PK/BK

5292

Ignition 1 Voltage

B

D-BU/WH

6406

IC 3 Control

C

VT

6413

Low Reference

D

BK/WH

451

Ground

Ignition Coil 4


Object Number: 1384254  Size: CH

Connector Part Information

    • 1928403440
    • 4-Way F Kompakt (BK)

Pin

Wire Color

Circuit No.

Function

A

PK/BK

5292

Ignition 1 Voltage

B

D-GN/WH

6407

IC 4 Control

C

VT

6413

Low Reference

D

BK/WH

451

Ground

Knock Sensor (KS)


Object Number: 684799  Size: CH

Connector Part Information

    • 12077900
    • 2-Way F Metri-Pack 280 Series Sealed (BK)

Pin

Wire Color

Circuit No.

Function

A

D-BU

496

Knock Sensor Signal

B

GY

1716

Low Reference

MAF/IAT Sensor


Object Number: 647974  Size: CH

Connector Part Information

    • 15326822
    • 5-Way F GT 150 Series Sealed (BK)

Pin

Wire Color

Circuit No.

Function

A

YE

492

MAF Sensor Signal

B

BK/WH

451

Ground

C

PK/BK

5291

Ignition 1 Voltage

D

BK

2760

Low Reference

E

TN

472

IAT Sensor Signal

Manifold Absolute Pressure (MAP) Sensor


Object Number: 1381341  Size: CH

Connector Part Information

    • 1928403736
    • 4-Way F (BK)

Pin

Wire Color

Circuit No.

Function

1

D-GN/WH

6292

Low Reference

2

L-BU

6118

IAT 2 Sensor Signal

3

D-GN

6291

5-Volt Reference

4

GY

6337

MAP Sensor Signal

Super Charge Inlet Pressure (SCIP) Sensor


Object Number: 684840  Size: CH

Connector Part Information

    • 12129946
    • 3-Way F Metri-Pack 150 Series Sealed (GY)

Pin

Wire Color

Circuit No.

Function

A

OG/BK

469

Low Reference

B

L-GN

432

SCIP Sensor Signal

C

GY

2704

5-Volt Reference

Supercharger By-Pass Valve Solenoid


Object Number: 635009  Size: CH

Connector Part Information

    • 12052641
    • 2-Way F Metri-Pack 150 Series Sealed (BK)

Pin

Wire Color

Circuit No.

Function

A

PK

1039

Ignition 1 Voltage

B

GY

1724

Boost Control Solenoid Control

Supercharger Intercooler Coolant Pump


Object Number: 811175  Size: CH

Connector Part Information

    • 12084126
    • 2-Way F Metri-Pack 280 Series Sealed (BK)

Pin

Wire Color

Circuit No.

Function

1

BK/WH

1050

Ground

2

BK

2022

Coolant Pump Control

Throttle Body


Object Number: 646400  Size: CH

Connector Part Information

    • 15326835
    • 8-Way F GT 150 Series Sealed (BK)

Pin

Wire Color

Circuit No.

Function

A

D-GN

485

TP Sensor 1 Signal

B

L-BU/BK

1688

5-Volt Reference

C

BK

2752

Low Reference

D

PU

486

TP Sensor 2 Signal

E

YE

581

TAC Motor Control 1

F

BN

582

TAC Motor Control 2

G

GY

2701

5-Volt Reference

H

BK/WH

1704

Low Reference