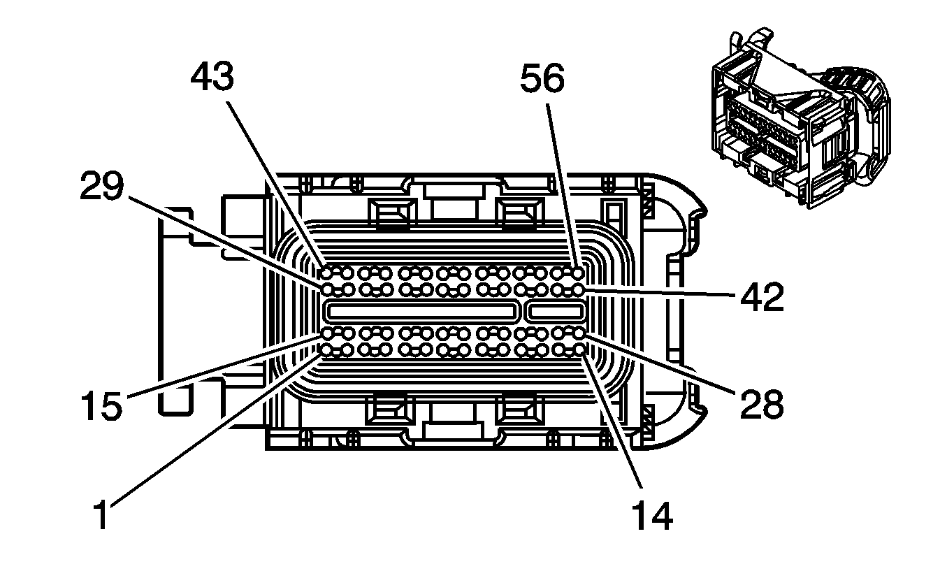
| Table 1: | Powertrain Control Module (PCM) C1 |
| Table 2: | Powertrain Control Module (PCM) C2 |
| Table 3: | Powertrain Control Module (PCM) C3 |
| |||||||
|---|---|---|---|---|---|---|---|
Connector Part Information |
| ||||||
Pin | Wire Color | Circuit No. | Function | ||||
1-5 | -- | -- | Not Used | ||||
6 | D-GN/WH | 459 | A/C Compressor Clutch Relay Control | ||||
7 | BN | 1271 | Low Reference | ||||
8 | PU | 1272 | Low Reference | ||||
9 | -- | -- | Not Used | ||||
10 | D-BU | 473 | High Speed Cooling Fan Relay Control | ||||
11 | -- | -- | Not Used | ||||
12 | PU | 1589 | Fuel Level Sensor Signal - Primary | ||||
13 | PK/BK | 5290 | Ignition 1 Voltage | ||||
14 | L-BU | 6118 | IAT 2 Sensor Signal | ||||
15 | PU | 1807 | ECM Class 2 Serial Data | ||||
16 | PU | 1807 | ECM Class 2 Serial Data | ||||
17 | GY | 2700 | 5-Volt Reference | ||||
18 | BN | 4 | Accessory Voltage | ||||
19 | YE | 1139 | Ignition 1 Voltage | ||||
20 | OG | 480 | Battery Positive Voltage | ||||
21 | -- | -- | Not Used | ||||
22 | WH | 1310 | EVAP Canister Vent Solenoid Control | ||||
23 | -- | -- | Not Used | ||||
24 | D-GN | 890 | Fuel Tank Pressure Sensor Signal | ||||
25 | -- | -- | Not Used | ||||
26 | RD/BK | 380 | A/C Refrigerant Pressure Sensor Signal | ||||
27 | D-BU | 1161 | APP Sensor 1 Signal | ||||
28 | -- | -- | Not Used | ||||
29 | BK | 2759 | Low Reference | ||||
30 | WH/BK | 1164 | 5-Volt Reference | ||||
31 | WH | 121 | Engine Speed Signal (UXE) | ||||
32 | L-BU | 20 | Stop Lamp Supply Voltage/Stop Lamp Switch Signal | ||||
33 | -- | -- | Not Used | ||||
34 | PK | 2014 | Coolant Pump Relay Control | ||||
35-36 | -- | -- | Not Used | ||||
37 | D-GN/WH | 465 | Fuel Pump Relay Control - Primary | ||||
38 | BN | 5069 | Main Relay Control | ||||
39 | -- | -- | Not Used | ||||
40 | BN/WH | 419 | MIL Control | ||||
41 | L-BU | 1162 | APP Sensor 2 Signal | ||||
42 | -- | -- | Not Used | ||||
43 | TN | 1274 | 5-Volt Reference | ||||
44 | GY | 1884 | Cruise Control Set/Coast and Resume/Accelerate Switch Signal | ||||
45 | -- | -- | Not Used | ||||
46 | PU | 420 | TCC Brake Switch/Cruise Control Release Signal | ||||
47 | GY | 705 | 5-Volt Reference | ||||
48 | YE | 447 | Starter Relay Coil Control | ||||
49-50 | -- | -- | Not Used | ||||
51 | D-GN | 335 | Low Speed Cooling Fan Relay Control | ||||
52 | -- | -- | Not Used | ||||
53 | BN/WH | 379 | CPP Switch Signal | ||||
54 | D-GN | 1433 | PNP/Clutch Start Switch Signal | ||||
55 | -- | -- | Not Used | ||||
56 | BK | 2751 | Low Reference | ||||
| |||||||
|---|---|---|---|---|---|---|---|
Connector Part Information |
| ||||||
Pin | Wire Color | Circuit No. | Function | ||||
1 | RD | 225 | Generator Turn On Signal | ||||
2 | D-GN | 485 | TP Sensor 1 Signal | ||||
3 | -- | -- | Not Used | ||||
4 | GY | 596 | 5-Volt Reference | ||||
5 | GY | 2704 | 5-Volt Reference | ||||
6 | GY | 2701 | A/C Refrigerant Pressure Sensor Signal (C60) | ||||
7 | PU | 486 | TP Sensor 2 Signal | ||||
8 | D-GN | 6291 | 5-Volt Reference | ||||
9 | L-BU/BK | 1688 | 5-Volt Reference | ||||
10-15 | -- | -- | Not Used | ||||
16 | PU | 6413 | Low Reference | ||||
17 | YE | 573 | CKP Sensor 1 Signal | ||||
18 | PU | 574 | Low Reference | ||||
19 | -- | -- | Not Used | ||||
20 | D-GN/WH | 6292 | Low Reference | ||||
21 | PK/BK | 632 | Low Reference | ||||
22-24 | -- | -- | Not Used | ||||
25 | TN/WH | 1669 | HO2S Low Signal Bank 1 Sensor X | ||||
26 | BN/WH | 633 | Camshaft Position Signal | ||||
27-28 | -- | -- | Not Used | ||||
29 | GY | 1724 | Boost Control Solenoid Control | ||||
30 | OG/BK | 469 | Low Reference | ||||
31 | -- | -- | Not Used | ||||
32 | TN | 1667 | HO2S Low Signal Bank 2 Sensor 1 | ||||
33 | BK | 1744 | Fuel Injector 1 Control | ||||
34 | -- | -- | Not Used | ||||
35 | YE | 410 | ECT Sensor Signal | ||||
36 | BK/WH | 1704 | Low Reference | ||||
37 | GY | 6337 | MAP Sensor Signal | ||||
38 | L-GN | 432 | SCIP Sensor Signal | ||||
39 | BK | 2752 | Low Reference | ||||
40 | BN/WH | 6405 | IC 1 Signal | ||||
41 | YE | 492 | MAF Sensor Signal | ||||
42 | D-GN/WH | 6407 | IC 4 Signal | ||||
43 | BK/WH | 1423 | HO2S Heater Low Control Bank 1 Sensor 2 | ||||
44 | -- | -- | Not Used | ||||
45 | GY | 23 | Generator Field Duty Cycle Signal | ||||
46 | PU/WH | 1668 | HO2S High Signal Bank 1 Sensor X | ||||
47 | -- | -- | Not Used | ||||
48 | PU | 1666 | HO2S High Signal Bank 2 Sensor 1 | ||||
49-50 | -- | -- | Not Used | ||||
51 | TN | 472 | IAT Sensor Signal | ||||
52 | BK | 2761 | Low Reference | ||||
53 | L-GN/BK | 1745 | Fuel Injector 2 Control | ||||
54 | L-BU/BK | 844 | Fuel Injector 4 Control | ||||
55 | PK/BK | 1746 | Fuel Injector 3 Control | ||||
56-57 | -- | -- | Not Used | ||||
58 | D-GN | 676 | HO2S Heater High Control Bank 1 Sensor 1 | ||||
59 | D-BU/WH | 6406 | IC 3 Signal | ||||
60 | L-BU/WH | 6408 | IC 2 Signal | ||||
61-63 | -- | -- | Not Used | ||||
64 | BK | 2760 | Low Reference | ||||
65 | BN | 582 | TAC Motor Control 2 | ||||
66 | YE | 581 | TAC Motor Control 1 | ||||
67 | -- | -- | Not Used | ||||
68 | D-BU | 496 | Knock Sensor 1 Signal | ||||
69 | GY | 1716 | Low Reference | ||||
70-72 | -- | -- | Not Used | ||||
73 | BK/WH | 451 | Ground | ||||
| |||||||
|---|---|---|---|---|---|---|---|
Connector Part Information |
| ||||||
Pin | Wire Color | Circuit No. | Function | ||||
1-9 | -- | -- | Not Used | ||||
10 | BK | 891 | Boost Gage Signal (UXE) | ||||
11-14 | -- | -- | Not Used | ||||
15 | TN/BK | 231 | Oil Pressure Switch Signal | ||||
16-21 | -- | -- | Not Used | ||||
22 | WH/BK | 2932 | 5-Volt Reference | ||||
23-30 | -- | -- | Not Used | ||||
31 | GY/BK | 433 | BARO Sensor Signal | ||||
32-35 | -- | -- | Not Used | ||||
36 | OG/BK | 6014 | Low Reference | ||||
37 | D-GN/WH | 428 | EVAP Canister Purge Solenoid Control | ||||
38-43 | -- | -- | Not Used | ||||
44 | PU | 401 | Signal Low - Front/VSS Low Signal/OSS Low Signal | ||||
45 | YE | 400 | Signal High - Front/VSS High Signal/OSS High Signal | ||||
46-56 | -- | -- | Not Used | ||||