GM Service Manual Online
For 1990-2009 cars only

Headlamps Sedan

To change a headlamp bulb on a sedan model, do the following:

  1. Open the hood. See Hood Release for more information.

  2. Object Number: 1225785  Size: B4
  3. Pull up on the headlamp retaining pins to remove them from the headlamp assembly.
  4. Pull the headlamp assembly away from the vehicle and remove the electrical connector.

  5. Object Number: 1225789  Size: B4
  6. Access the bulb by turning the dust cap counterclockwise to remove it.

  7. Object Number: 1225793  Size: B4
  8. Raise the lock tab and pull the connector (A or B) from the base of the bulb to remove the electrical connector from the headlamp bulb.

  9. Object Number: 1225799  Size: B4
  10. Remove the bulb retaining nut by turning it counterclockwise.
  11. Remove the bulb and replace it with the appropriate bulb.
  12. Reverse the steps to reinstall the lamp assembly.

Headlamps Coupe

To change a headlamp bulb on a coupe model, do the following:

  1. Open the hood. See Hood Release for more information.

  2. Object Number: 1225805  Size: B4
  3. Pull up on the headlamp retaining pins (A) to remove them from the headlamp assembly.
  4. Pull the headlamp assembly (B) away from the vehicle and remove the electrical connector.
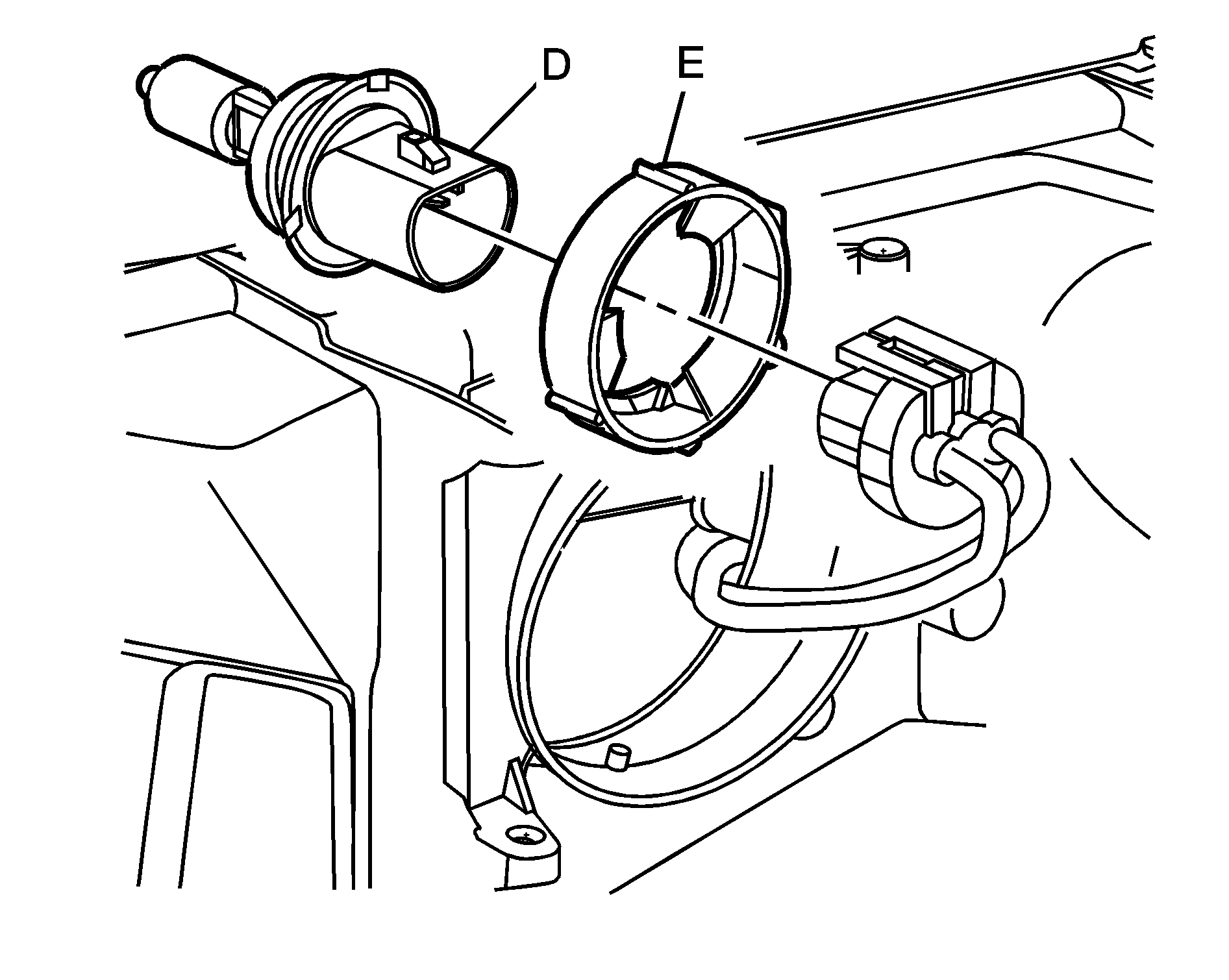
  5. Raise the lock tab and pull the connector from the base of the bulb to remove the electrical connector from the headlamp bulb.

  6. Object Number: 1225810  Size: B4
  7. Remove the retaining nut (D) by turning it counterclockwise.
  8. Remove the bulb (C) and replace it with the appropriate bulb.
  9. Reverse the steps to reinstall the headlamp assembly.