GM Service Manual Online
For 1990-2009 cars only

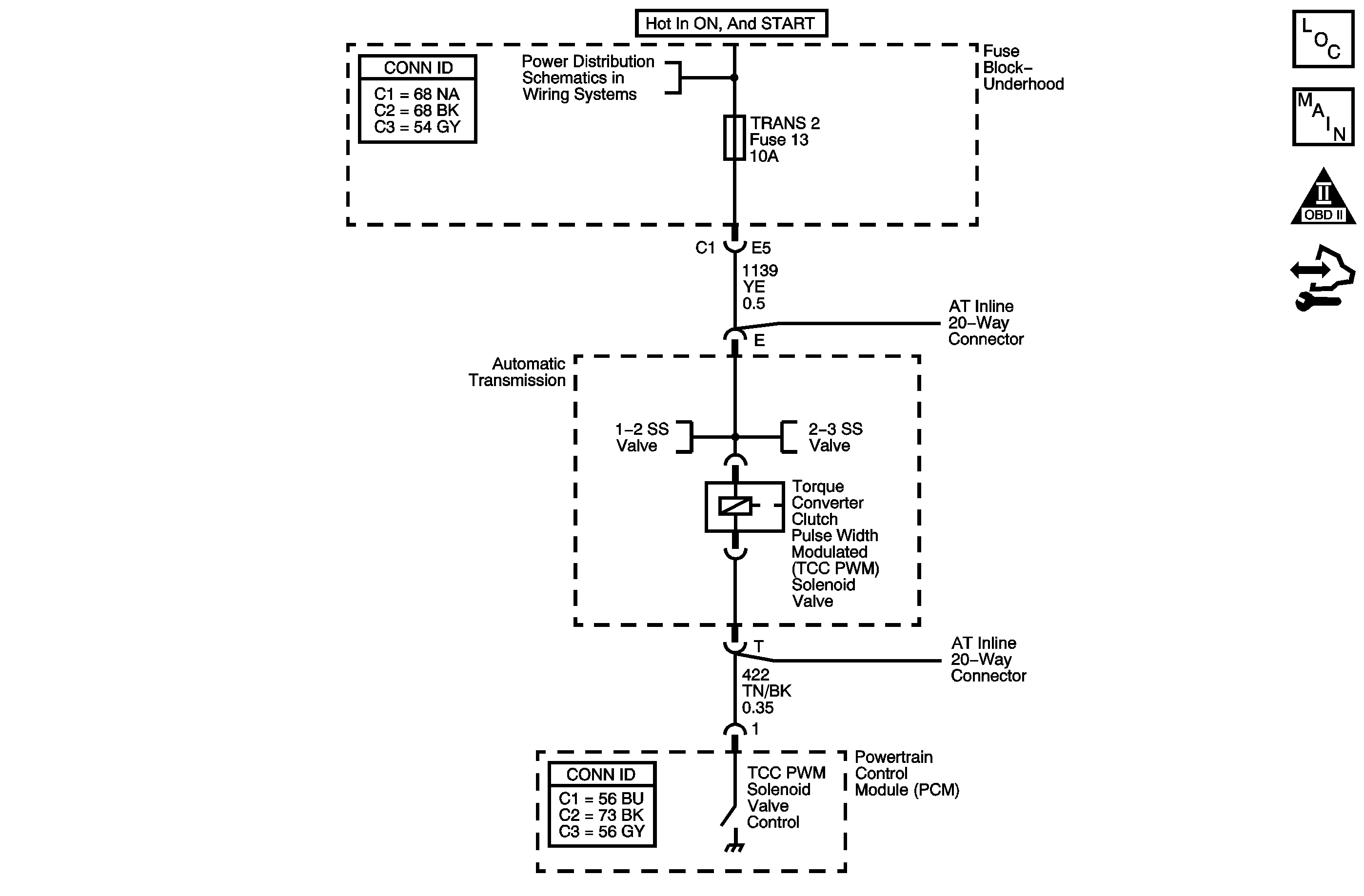
Object Number: 1451502  Size: MF
Master Electrical Component List
Automatic Transmission Controls Schematics
OBD II Symbol Description Notice
Control Module References

Circuit Description

The torque converter clutch pulse width modulated (TCC PWM) solenoid valve is a normally closed solenoid used to control the apply and release of the converter clutch. The transmission control module (TCM) operates the solenoid with a negative duty cycle. When vehicle operating conditions are appropriate to apply the TCC, the TCM immediately increases the duty cycle to approximately 42 percent. The TCM then ramps the duty cycle to approximately 90 percent to achieve full TCC apply pressure. When the solenoid is commanded OFF, the TCM senses high voltage. When the solenoid is commanded ON, the TCM senses low voltage.

When the TCM detects a continuous open or short to ground in the TCC PWM solenoid valve circuit, then DTC P2764 sets. DTC P2764 is a type B DTC.

Conditions for Running the DTC

The engine is running for 5 seconds or more.

Conditions for Setting the DTC

The TCM detects an open or short to ground on the TCC PWM solenoid valve circuit for 4.4 seconds.

Action Taken When the DTC Sets

    • The TCM requests the ECM to illuminate the malfunction indicator lamp (MIL) during the second consecutive trip in which the Conditions for Setting the DTC are met.
    • The TCM commands maximum line pressure.
    • The TCM forces the TCC solenoid ON at maximum capacity.
    • The TCM freezes transmission adaptive functions.
    • The ECM records the operating conditions when the Conditions for Setting the DTC are met. The ECM stores this information as Freeze Frame and Failure Records.
    • The TCM records the operating conditions when the Conditions for Setting the DTC are met. The TCM stores this information as Failure Records.
    • The TCM stores DTC P2764 in TCM history during the second consecutive trip in which the Conditions for Setting the DTC are met.

Conditions for Clearing the MIL/DTC

    • The TCM turns OFF the MIL during the third consecutive trip in which the diagnostic test runs and passes.
    • A scan tool can clear the MIL/DTC.
    • The TCM clears the DTC from TCM history if the vehicle completes 40 warm-up cycles without an emission related diagnostic fault occurring.
    • The TCM cancels the DTC default actions when the ignition switch is OFF long enough in order to power down the TCM.

Diagnostic Aids

Ensure the wiring harness is not stretched too tightly or other components are pressing on the connector body. Also, inspect for proper clearance to any other components and wiring. Refer to Testing for Intermittent Conditions and Poor Connections in Wiring Systems.

Test Description

The numbers below refer to the step numbers on the diagnostic table.

  1. This step tests the electrical operation of the solenoid.

  2. This step verifies the TCMs ability to command the solenoid.

  3. This step verifies that the circuit has the correct resistance.

DTC P2764

Step

Action

Value(s)

Yes

No

1

Did you perform the Diagnostic System Check - Vehicle?

--

Go to Step 2

Go to Diagnostic System Check - Vehicle in Vehicle DTC Information

2

  1. Install a scan tool.
  2. Turn ON the ignition, with the engine OFF.
  3. Important: Before clearing the DTC, use the scan tool in order to record the Freeze Frame and Failure Records. Using the Clear Info function erases the Freeze Frame and Failure Records from the TCM.

  4. Record the DTC Freeze Frame and Failure Records.
  5. Clear the DTC.

Is DTC P0973 or P0976 also set?

--

Go to Step 3

Go to Step 8

3

  1. Remove the TRANS 2 fuse.
  2. Inspect the fuse for an open.
  3. Refer to Circuit Protection - Fuses in Wiring Systems.

Did you find the condition?

--

Go to Step 4

Go to Step 6

4

Important: The condition that affects this circuit may exist in other connecting branches of the circuit. Refer to Power Distribution Schematics in Wiring Systems for complete circuit distribution.

Test the ignition 1 voltage circuit of the TCC PWM Solenoid valve for a short to ground between the underhood fuse block and the AT inline 20-way connector.

Refer to Testing for Short to Ground and Wiring Repairs in Wiring Systems.

Did you find and correct the condition?

--

Go to Step 22

Go to Step 5

5

Important: The condition that affects this circuit may exist in other connecting branches of the circuit. Refer to Power Distribution Schematics in Wiring Systems for complete circuit distribution.

Test the ignition 1 voltage circuit of the TCC PWM Solenoid valve for a short to ground between the AT inline 20-way connector and the TCC PWM Solenoid valve.

Refer to Testing for Short to Ground in Wiring Systems.

Did you find the condition?

--

Go to Step 19

--

6

Test the ignition 1 voltage circuit of the TCC PWM Solenoid valve for an open between the underhood fuse block and the AT inline 20-way connector.

Refer to Testing for Continuity and Wiring Repairs in Wiring Systems.

Did you find and correct the condition?

--

Go to Step 22

Go to Step 7

7

Test the ignition 1 voltage circuit of the TCC PWM Solenoid valve for an open between the AT inline 20-way connector and the TCC PWM Solenoid valve.

Refer to Testing for Continuity in Wiring Systems.

Did you find the condition?

--

Go to Step 19

--

8

  1. Turn OFF the ignition.
  2. Disconnect the AT inline 20-way connector. Additional DTCs may set.
  3. Install the J 44152 Jumper Harness (20 pins) on the engine side of the AT inline 20-way connector.
  4. Using the J-35616 connector test adapter kit, connect a test lamp between the ignition 1 voltage and the TCC PWM solenoid valve control circuits of the J 44152 .
  5. Refer to Automatic Transmission Inline 20-Way Connector End View .

  6. Turn ON the ignition, with the engine OFF.
  7. Command the TCC PWM Solenoid valve ON and OFF three times.

Is the test lamp ON when you command the solenoid ON, and OFF when you command the solenoid OFF?

--

Go to Step 13

Go to Step 9

9

Is the test lamp always ON?

--

Go to Step 10

Go to Step 12

10

  1. Turn OFF the ignition.
  2. Disconnect the TCM connector. Additional DTCs may set.
  3. Turn ON the ignition, with the engine OFF.

Is the test lamp ON?

--

Go to Step 11

Go to Step 21

11

Test the control circuit of the TCC PWM Solenoid valve for a short to ground between the TCM connector and the AT inline 20-way connector.

Refer to Testing for Short to Ground and Wiring Repairs in Wiring Systems.

Did you find and correct the condition?

--

Go to Step 22

--

12

Test the control circuit of the TCC PWM Solenoid valve for an open between the TCM connector and the AT inline 20-way connector.

Refer to Testing for Continuity and Wiring Repairs in Wiring Systems.

Did you find and correct the condition?

--

Go to Step 22

Go to Step 21

13

  1. Turn OFF the ignition.
  2. Disconnect the J 44152 from the engine side of the AT inline 20-way connector.
  3. Install the J 44152 on the transmission side of the AT inline 20-way connector.
  4. Using the DMM and the J-35616 measure the resistance between the ignition 1 voltage and the TCC PWM solenoid valve control circuits of the J 44152 .
  5. Refer to Automatic Transmission Inline 20-Way Connector End View .

Is the resistance within the specified range?

10-15 ohms

Go to Step 16

Go to Step 14

14

Is the resistance greater than the specified value?

15 ohms

Go to Step 15

Go to Step 16

15

  1. Test the control circuit of the TCC PWM Solenoid valve for an open between the AT inline 20-way connector and the TCC PWM Solenoid valve.
  2. Test the ignition 1 voltage circuit for an open between the AT inline 20-way connector and the TCC PWM Solenoid valve.

Refer to Testing for Continuity in Wiring Systems.

Did you find a condition?

--

Go to Step 19

Go to Step 20

16

Measure the resistance from the TCC PWM solenoid valve control circuit of theJ 44152 to ground.

Refer to Automatic Transmission Inline 20-Way Connector End View .

Is the resistance less than the specified value?

100 ohms

Go to Step 17

Go to Step 18

17

Test the control circuit of the TCC PWM Solenoid valve for a short to ground between the AT inline 20-way connector and the TCC PWM Solenoid valve.

Refer to Testing for Short to Ground in Wiring Systems.

Did you find the condition?

--

Go to Step 19

--

18

Measure the resistance between the TCC PWM solenoid valve control circuit and all other terminals, except the ignition 1 voltage, the 1-2 SS valve control and the 2-3 SS valve control circuits, of the J 44152 .

Refer to Automatic Transmission Inline 20-Way Connector End View .

Is the resistance less than the specified value?

100 ohms

Go to Step 19

Go to Step 20

19

Replace the automatic transmission wiring harness.

Refer to Wiring Harness Replacement .

Did you complete the replacement?

--

Go to Step 22

--

20

Replace the TCC PWM Solenoid valve.

Refer to Torque Converter Clutch Pulse Width Modulation Solenoid Replacement .

Did you complete the replacement?

--

Go to Step 22

--

21

Replace the TCM.

Refer to Control Module References in Computer/Integrating Systems for replacement, setup, and programming.

Did you complete the replacement?

--

Go to Step 22

--

22

Perform the following procedure in order to verify the repair:

  1. Select DTC.
  2. Select Clear Info.
  3. Operate the vehicle under the following conditions:
  4. • Road test the vehicle with the gear select lever in D4.
    • Ensure that the TCC duty cycle is 36% or more for more than 5 seconds.
  5. Select Specific DTC.
  6. Enter DTC P2764.

Has the test run and passed?

--

Go to Step 23

Go to Step 2

23

With the scan tool, observe the stored information, capture info. and DTC info.

Does the scan tool display any DTCs that you have not diagnosed?

--

Go to Diagnostic Trouble Code (DTC) List - Vehicle in Vehicle DTC Information

System OK