GM Service Manual Online
For 1990-2009 cars only

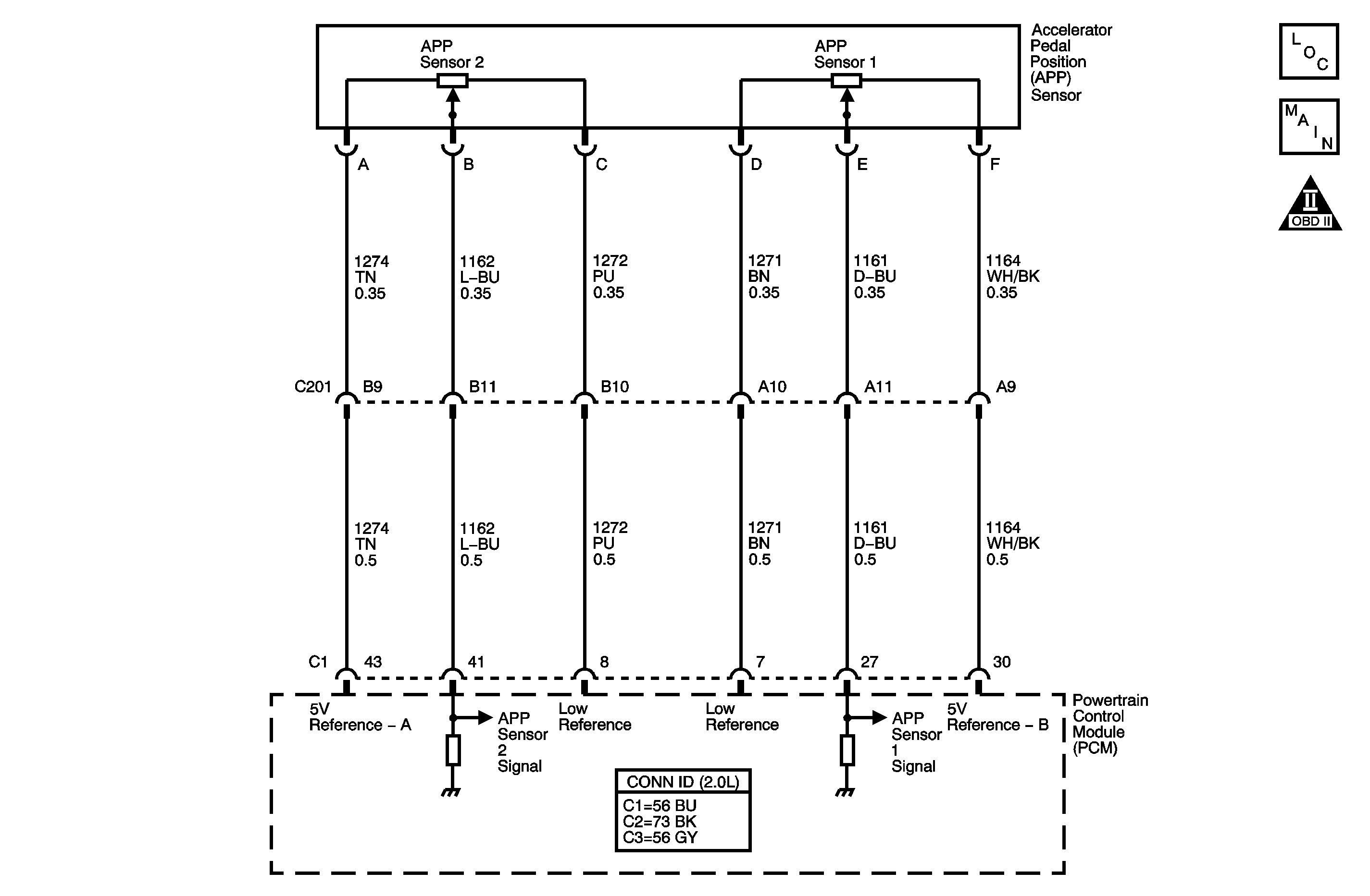
Object Number: 1402877  Size: MF

Circuit Description

The accelerator pedal position (APP) sensors 1 and 2 are located within the accelerator pedal assembly. Each sensor has the following circuits:

    • A 5-volt reference circuit
    • A low reference circuit
    • A signal circuit

This provides the powertrain control module (PCM) with a signal voltage proportional to accelerator pedal movement. The APP sensor 1 signal voltage at rest position is near the low reference and increases as the pedal is actuated. The APP sensor 2 signal voltage at rest position is near the 5-volt reference and decreases as the pedal is actuated. When APP sensor 1 signal voltage is not within the predicted range, this DTC sets.

DTC Descriptor

This diagnostic procedure supports the following DTC:

DTC P2120 Accelerator Pedal Position (APP) Sensor 1 Circuit

Conditions for Running the DTC

    • The ignition is ON.
    • The ignition voltage is greater than 5.23 volts.
    • DTC P0641 is not set.
    • DTC P2120 runs continuously when the above conditions are met.

Conditions for Setting the DTC

The APP sensor 1 voltage is less than 0.13 volt or more than 4.87 volts for more than 0.5 second.

Action Taken When the DTC Sets

    • The control module illuminates the malfunction indicator lamp (MIL) when the diagnostic runs and fails.
    • The control module records the operating conditions at the time the diagnostic fails. The control module stores this information in the Freeze Frame and/or the Failure Records.
    • The control module commands the TAC system to operate in the Reduced Engine Power mode.
    • A message center or an indicator displays Reduced Engine Power.
    • Under certain conditions the control module commands the engine OFF.

Conditions for Clearing the MIL/DTC

    • The control module turns OFF the malfunction indicator lamp (MIL) after 3 consecutive ignition cycles that the diagnostic runs and does not fail.
    • A current DTC, Last Test Failed, clears when the diagnostic runs and passes.
    • A history DTC clears after 40 consecutive warm-up cycles, if no failures are reported by this or any other emission related diagnostic.
    • Clear the MIL and the DTC with a scan tool.

Step

Action

Values

Yes

No

Schematic Reference: Engine Controls Schematics

Connector End View Reference: Engine Controls Connector End Views or Powertrain Control Module Connector End Views

1

Did you perform the Diagnostic System Check - Vehicle?

--

Go to Step 2

Go to Diagnostic System Check - Vehicle in Vehicle DTC Information

2

  1. Turn ON the ignition, with the engine OFF.
  2. Observe the accelerator pedal position (APP) sensor 1 voltage with the accelerator pedal in the rest position with a scan tool.

Does the scan tool indicate voltage less than the first value or greater than the second value?

0.13 V

4.87 V

Go to Step 4

Go to Step 3

3

  1. Observe the Freeze Frame/Failure Records for this DTC.
  2. Turn OFF the ignition for 30 seconds.
  3. Start the engine.
  4. Operate the vehicle within the Conditions for Running the DTC. You may also operate the vehicle within the conditions that you observed from the Freeze Frame/Failure Records.

Does the DTC fail this ignition?

--

Go to Step 4

Go to Intermittent Conditions

4

  1. Turn OFF the ignition.
  2. Disconnect the accelerator pedal harness connector.
  3. Turn ON the ignition, with the engine OFF.
  4. Observe the APP sensor 1 voltage parameter with a scan tool.

Does the scan tool indicate voltage at the specified value?

0 V

Go to Step 5

Go to Step 10

5

  1. Connect a fused jumper wire between the APP sensor 1 5-volt reference circuit and the APP sensor 1 signal circuit at the accelerator pedal harness connector.
  2. Observe the APP sensor 1 voltage parameter with a scan tool.

Does the scan tool indicate the APP sensor 1 voltage at the specified value?

5 V

Go to Step 6

Go to Step 7

6

Measure the resistance of the low reference circuit of the APP sensor 1 with a DMM. Refer to Circuit Testing in Wiring Systems.

Is the resistance less than the specified value?

5ohms

Go to Step 16

Go to Step 12

7

Measure the voltage of the APP sensor 1 5-volt reference circuit with a DMM.

Does the DMM indicate voltage at the specified value?

5 V

Go to Step 9

Go to Step 8

8

Does the DMM indicate voltage less than the specified value on the APP sensor 1 5-volt reference circuit?

5 V

Go to Step 13

Go to Step 15

9

Test the APP sensor 1 signal circuit for an open or high resistance. Refer to Circuit Testing and Wiring Repairs in Wiring Systems.

Did you find and correct the condition?

--

Go to Step 20

Go to Step 11

10

Test the APP sensor 1 signal circuit for a short to voltage. Refer to Circuit Testing and Wiring Repairs in Wiring Systems.

Did you find and correct the condition?

--

Go to Step 20

Go to Step 18

11

Test the APP sensor 1 signal circuit for a short to ground. Refer to Circuit Testing and Wiring Repairs in Wiring Systems.

Did you find and correct the condition?

--

Go to Step 20

Go to Step 18

12

Test the APP sensor 1 low reference circuit for an open or high resistance. Refer to Circuit Testing and Wiring Repairs in Wiring Systems.

Did you find and correct the condition?

--

Go to Step 20

Go to Step 18

13

Test the APP sensor 1 5-volt reference circuit for an open or high resistance. Refer to Circuit Testing and Wiring Repairs in Wiring Systems.

Did you find and correct the condition?

--

Go to Step 20

Go to Step 14

14

Test the APP sensor 1 5-volt reference circuit for a short to ground. Refer to Circuit Testing and Wiring Repairs in Wiring Systems.

Did you find and correct the condition?

--

Go to Step 20

Go to Step 18

15

Test the APP sensor 1 5-volt reference circuit for a short to voltage. Refer to Circuit Testing and Wiring Repairs in Wiring Systems.

Did you find and correct the condition?

--

Go to Step 20

--

16

Inspect for poor connections at the accelerator pedal harness connector. Refer to Testing for Intermittent Conditions and Poor Connections and Connector Repairs in Wiring Systems.

Did you find and correct the condition?

--

Go to Step 20

Go to Step 17

17

Replace the accelerator pedal assembly. Refer to Accelerator Pedal Position Sensor Replacement .

Did you complete the replacement?

--

Go to Step 20

--

18

Inspect for poor connections at the powertrain control module (PCM) harness connector. Refer to Testing for Intermittent Conditions and Poor Connections and Connector Repairs in Wiring Systems.

Did you find and correct the condition?

--

Go to Step 20

Go to Step 19

19

Replace the PCM. Refer to Control Module References in Computer/Integrating Systems for replacement, setup, and programming.

Did you complete the replacement?

--

Go to Step 20

--

20

  1. Clear the DTCs with a scan tool.
  2. Turn OFF the ignition for 30 seconds.
  3. Start the engine.
  4. Operate the vehicle within the Conditions for Running the DTC. You may also operate the vehicle within the conditions that you observed from the Freeze Frame/Failure Records.

Did the DTC fail this ignition?

--

Go to Step 2

Go to Step 21

21

Observe the Capture Info with a scan tool.

Are there any DTCs that have not been diagnosed?

--

Go to Diagnostic Trouble Code (DTC) List - Vehicle in Vehicle DTC Information

System OK