GM Service Manual Online
For 1990-2009 cars only

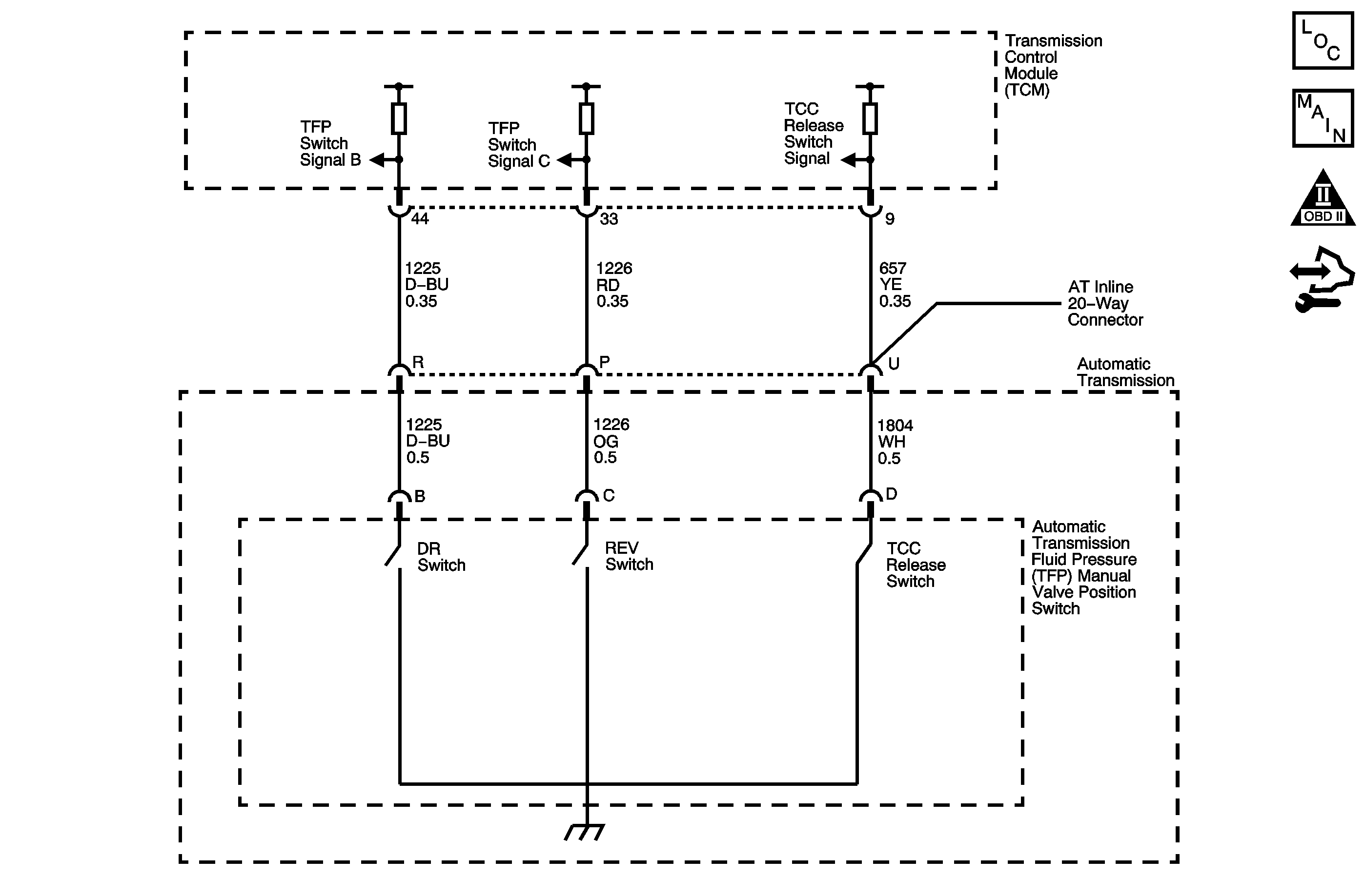
Object Number: 1451501  Size: MF
Master Electrical Component List
Automatic Transmission Controls Schematics
OBD II Symbol Description Notice
Control Module References

Circuit Description

The automatic transmission fluid pressure (TFP) manual valve position switch consists of 3 pressure switches. 2 of the switches are normally-open, and determine gear range selection. The third switch is normally-closed, and detects torque converter clutch (TCC) release fluid pressure. The TFP manual valve position switch also contains the automatic transmission fluid temperature (TFT) sensor. These components are combined into one unit, attached to the control valve body.

The transmission control module (TCM) provides battery voltage on the 2 range signal circuits. By grounding one or more of the switches with fluid pressure from the manual shift valve, the TCM detects the selected gear range. When you disconnect the transmission electrical connector and the ignition is ON, the ground potential for the range signals from the TCM will be removed, and an invalid gear range will be indicated. Refer to Transmission Fluid Pressure Manual Valve Position Switch Logic .

When the TCM detects PARK, NEUTRAL or a drive range with a REVERSE ratio, DTC P1818 sets. DTC P1818 is a type B DTC.

DTC Descriptor

This diagnostic procedure supports the following DTC:

DTC P1818 Transmission Fluid Pressure (TFP) Valve Position Switch Indicates Drive without Drive Ratio

Conditions for Running the DTC

    • No MAP DTCs P0107 or P0108.
    • No TP DTCs P0120 or P0220.
    • No ISS DTCs P0716 or P0717.
    • No OSS DTCs P0722 or P0723.
    • No SS valve performance DTCs P0751, P0752, P0756, or P0757.
    • No SS valve electrical DTCs P0973, P0974, P0976, or P0977.
    • The engine is running for 5 seconds.
    • The TP angle is 3 percent or more.
    • The engine torque is greater than 20 N·m (15 lb ft).
    • The output speed is 152.5 RPM or more.

Conditions for Setting the DTC

The TCM detects PARK/NEUTRAL or a drive range with a REVERSE ratio for 2.75 seconds.

Action Taken When the DTC Sets

    • The TCM requests the ECM to illuminate the malfunction indicator lamp (MIL) during the second consecutive trip in which the Conditions for Setting the DTC are met.
    • The TCM freezes transmission adaptive functions.
    • The ECM records the operating conditions when the Conditions for Setting the DTC are met. The ECM stores this information as Freeze Frame and Failure Records.
    • The TCM records the operating conditions when the Conditions for Setting the DTC are met. The TCM stores this information as Failure Records.
    • The TCM stores DTC P1818 in TCM history during the second consecutive trip in which the Conditions for Setting the DTC are met.

Conditions for Clearing the MIL/DTC

    • The TCM turns OFF the MIL during the third consecutive trip in which the diagnostic test runs and passes.
    • A scan tool can clear the MIL/DTC.
    • The TCM clears the DTC from TCM history if the vehicle completes 40 warm-up cycles without an emission related diagnostic fault occurring.
    • The TCM cancels the DTC default actions when the ignition switch is OFF long enough in order to power down the TCM.

Test Description

The numbers below refer to the step numbers on the diagnostic table.

  1. This step tests the indicated range signal to the manual valve range actually selected.

  2. This step tests for correct voltage from the TCM.

Step

Action

Yes

No

1

Did you perform the Diagnostic System Check - Vehicle?

Go to Step 2

Go to Diagnostic System Check - Vehicle in Vehicle DTC Information

2

Did you perform the Transmission Fluid Checking Procedure?

Go to Step 3

Go to Transmission Fluid Check

3

  1. Install a scan tool.
  2. Turn ON the ignition, with the engine OFF.
  3. Important: Before clearing the DTC, use the scan tool in order to record the Freeze Frame and Failure Records. Using the Clear Info function erases the Freeze Frame and Failure Records from the TCM.

  4. Record the DTC Freeze Frame and Failure Records.
  5. Clear the DTC.
  6. Start the engine and idle at the normal operating temperature.
  7. Select TFP Sw. on the scan tool.
  8. Apply the brake pedal.
  9. Select each transmission range: P, R, N, D4, D3, D2 and D1.

Does each selected transmission range match the scan tool TFP switch display?

Go to Intermittent Conditions in Engine Controls - 2.2L (L61)

Go to Step 4

4

  1. Inspect the transmission linkage from the gear select lever to the manual valve for proper adjustment.
  2. Adjust the linkage as necessary.

Did the linkage require adjustment?

Go to Step 16

Go to Step 5

5

  1. Turn OFF the ignition.
  2. Disconnect the AT inline 20-way connector. Additional DTCs may set.
  3. Turn ON the ignition, with the engine OFF.

Does the scan tool TFP Sw. Sig. B/Sig. C parameter indicate HI for all range states?

Go to Step 6

Go to Step 9

6

  1. Turn OFF the ignition.
  2. Install the J 44152 jumper harness (20 pins) on the engine side of the AT inline 20-way connector.
  3. Turn ON the ignition, with the engine OFF.
  4. Using the DMM and the J-35616 connector test adapter kit, measure the voltage from the TFP signal B circuit of the J 44152 to ground.
  5. Refer to Automatic Transmission Inline 20-Way Connector End View .

  6. Measure the voltage from the TFP signal C circuit of the J 44152 to ground.

Does the voltage measure ignition voltage at both terminals?

Go to Step 7

Go to Step 10

7

Connect a fused jumper wire from the TFP signal B circuit of the J 44152 to ground while monitoring the scan tool TFP Sw. Sig. B/Sig C parameter.

Refer to Automatic Transmission Inline 20-Way Connector End View .

When the TFP signal B circuit is grounded, do any other signal circuits indicate LOW?

Go to Step 11

Go to Step 8

8

Connect a fused jumper wire from the TFP signal C circuit of the J 44152 to ground while monitoring the scan tool TFP Sw. Sig. B/Sig. C parameter.

Refer to Automatic Transmission Inline 20-Way Connector End View .

When the TFP signal C circuit is grounded, do any other signal circuits indicate LOW?

Go to Step 11

Go to Step 12

9

Test the signal circuits of the TFP manual valve position switch that did not indicate HI for a short to a ground between the TCM connector and the AT inline 20-way connector.

Refer to Testing for Short to Ground and Wiring Repairs in Wiring Systems.

Did you find and correct a condition?

Go to Step 16

Go to Step 15

10

Test the signal circuits of the TFP manual valve position switch that did not indicate ignition voltage for an open between the TCM connector and the AT inline 20-way connector.

Refer to Testing for Continuity and Wiring Repairs in Wiring Systems.

Did you find and correct a condition?

Go to Step 16

Go to Step 15

11

Test the affected signal circuits of the TFP manual valve position switch for a shorted together condition between the TCM connector and the AT inline 20-way connector.

Refer to Circuit Testing and Wiring Repairs in Wiring Systems.

Did you find and correct a condition?

Go to Step 16

Go to Step 15

12

Test the affected signal circuits of the TFP manual valve position switch for an open or shorted condition between the AT inline 20-way connector and the TFP manual valve position switch.

Refer to Circuit Testing in Wiring Systems.

Did you find the condition?

Go to Step 13

Go to Step 14

13

Replace the automatic transmission wiring harness.

Refer to Wiring Harness Replacement .

Did you complete the replacement?

Go to Step 16

--

14

Replace the TFP manual valve position switch.

Refer to Transmission Fluid Pressure Manual Valve Position Switch Replacement .

Did you complete the replacement?

Go to Step 16

--

15

Replace the TCM.

Refer to Control Module References in Computer/Integrating Systems for replacement, setup, and programming.

Is the replacement complete?

Go to Step 16

--

16

Perform the following procedure in order to verify the repair:

  1. Select DTC.
  2. Select Clear Info.
  3. Operate the vehicle in each drive range for 5 seconds.
  4. Select Specific DTC.
  5. Enter DTC P1818.

Has the test run and passed?

Go to Step 17

Go to Step 2

17

With the scan tool, observe the stored information, capture info and DTC info.

Does the scan tool display any DTCs that you have not diagnosed?

Go to Diagnostic Trouble Code (DTC) List - Vehicle in Vehicle DTC Information

System OK