GM Service Manual Online
For 1990-2009 cars only

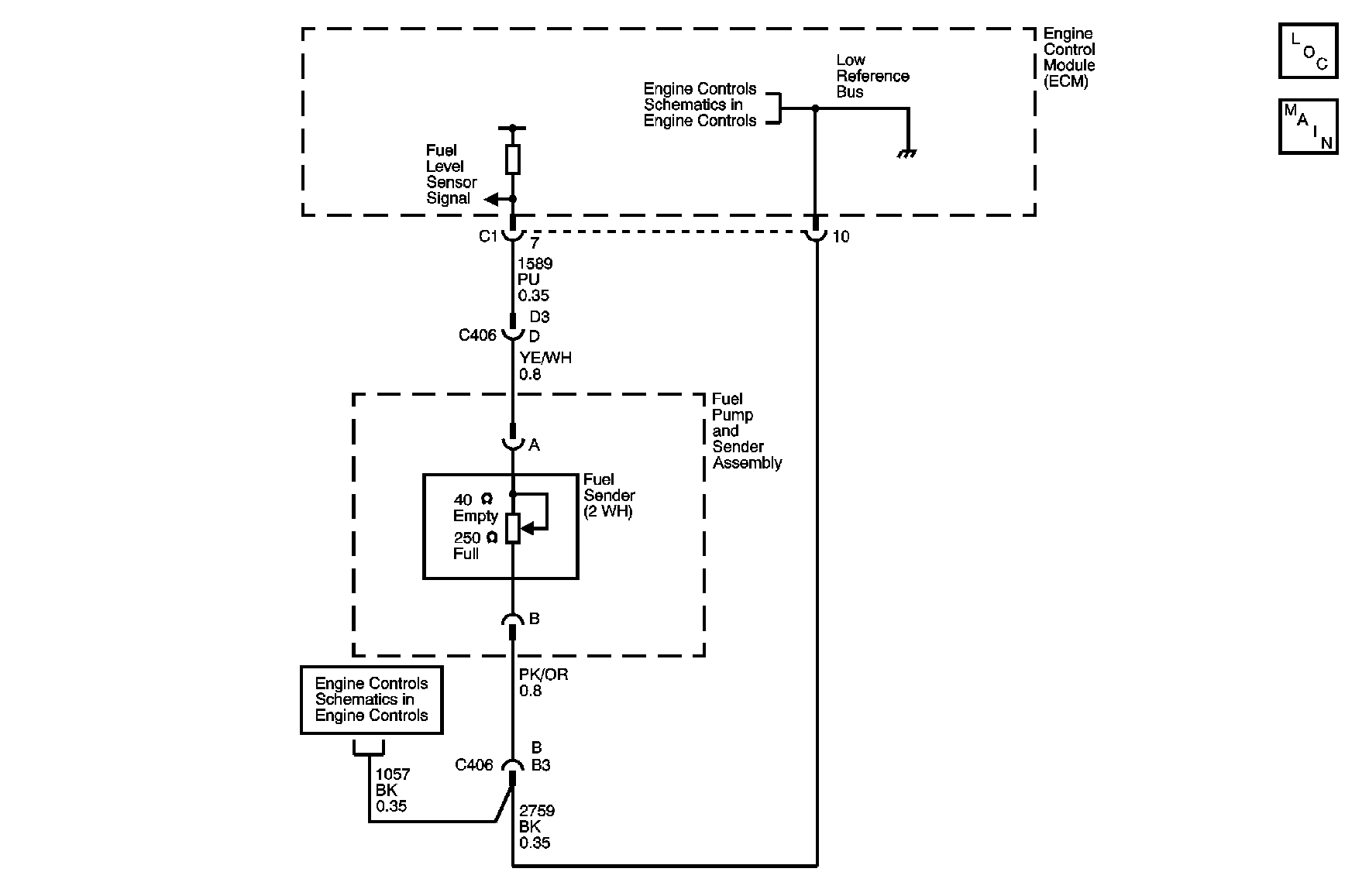
Object Number: 891374  Size: MF

Circuit Description

The fuel level sender changes resistance based on the fuel level. The engine control module (ECM)/powertrain control module (PCM) monitors the signal circuit of the fuel level sender in order to determine fuel level. When the fuel tank is full, the sender resistance is high and the ECM/PCM senses a high signal voltage. When the fuel tank is empty, the sender resistance is low and the ECM/PCM senses a low signal voltage. The ECM/PCM uses the signal circuit of the fuel level sender in order to calculate the total remaining fuel percent in the tank. The ECM/PCM sends the fuel level percent via the class 2 serial data circuit to the body control module (BCM). The BCM sends that class 2 message to the instrument panel cluster (IPC) in order to display the fuel level percent on the fuel gage. The fuel level information is also used for misfire and evaporative emission (EVAP) diagnostics.

This diagnostic tests for a higher than normal fuel level sender signal.

DTC Descriptor

This diagnostic procedure supports the following DTC:

DTC P0463 Fuel Level Sensor Circuit High Voltage

Conditions for Running the DTC

The ignition is ON, with the engine ON.

Conditions for Setting the DTC

    • The fuel level signal is greater than 98 percent.
    • The above condition is present for greater than 5 seconds.

Action Taken When the DTC Sets

    • The fuel gage defaults to empty.
    • The ECM/PCM records the operating conditions at the time the diagnostic fails. The ECM/PCM displays the failure information in the Failure Records on the scan tool.

Conditions for Clearing the DTC

    • The DTC becomes history when the conditions for setting the DTC are no longer present.
    • The history DTC clears after 40 malfunction-free warm-up cycles.
    • The ECM/PCM receives the clear code command from the scan tool.

Diagnostic Aids

Use the Freeze Frame and/or Failure Records data in order to locate an intermittent condition. If you cannot duplicate the DTC, the information included in the Freeze Frame and/or Failure Records data may aid in determining the number of miles since the DTC set. The Fail Counter and Pass Counter can also aid in determining the number of ignition cycles that the diagnostic reported a pass and/or fail. Operate the vehicle within the same Freeze Frame conditions, i.e. RPM, load, vehicle speed, temperature, etc. This will isolate when the DTC failed.

Refer to Testing for Intermittent Conditions and Poor Connections in Wiring Systems.

Test Description

The number below refers to the step number on the diagnostic table.

  1. This step tests for the proper operation of the circuit in the low voltage range. If the fuse in the jumper opens when you perform this test, the signal circuit is shorted to voltage.

Step

Action

Values

Yes

No

Schematic Reference: Instrument Cluster Schematics

1

Did you perform the Diagnostic System Check - Vehicle?

--

Go to Step 2

Go to Diagnostic System Check - Vehicle in Vehicle DTC Information

2

  1. Disconnect the C406.
  2. Connect a DMM between the fuel level sensor signal circuit and the low reference circuit on the male terminal side.
  3. Measure the resistance.

Does the DMM indicate that the resistance is greater than the specified value?

250 ohms

Go to Step 6

Go to Step 3

3

  1. Connect the DMM between the fuel level sensor signal circuit on the female terminal side and a good ground.
  2. Measure the voltage.

Does the DMM indicate that the voltage is greater than the specified value?

0 V

Go to Step 6

Go to Step 4

4

Test the signal circuit of the fuel level sender between C406 and the engine control module (ECM)/powertrain control module (PCM) for an open, for a high resistance, or for a short to voltage. Refer to Circuit Testing and Wiring Repairs in Wiring Systems.

Did you find and correct the condition?

--

Go to Step 12

Go to Step 5

5

Test the low reference circuit of the fuel level sender between C406 and the ECM/PCM for an open or for a high resistance. Refer to Circuit Testing and Wiring Repairs in Wiring Systems.

Did you find and correct the condition?

--

Go to Step 12

Go to Step 9

6

Test the signal circuit of the fuel level sender for an open, for a high resistance, or for a short to voltage between C406 and the fuel level sender. Refer to Circuit Testing and Wiring Repairs in Wiring Systems.

Did you find and correct the condition?

--

Go to Step 12

Go to Step 7

7

Test the low reference circuit of the fuel level sender for an open or for a high resistance between C406 and the fuel level sender. Refer to Circuit Testing and Wiring Repairs in Wiring Systems.

Did you find and correct the condition?

--

Go to Step 12

Go to Step 8

8

Inspect for poor connections at the harness connector of the fuel level sender. Refer to Testing for Intermittent Conditions and Poor Connections and Connector Repairs in Wiring Systems.

Did you find and correct the condition?

--

Go to Step 12

Go to Step 10

9

Inspect for poor connections at the harness connector of the ECM/PCM. Refer to Testing for Intermittent Conditions and Poor Connections and Connector Repairs in Wiring Systems.

Did you find and correct the condition?

--

Go to Step 12

Go to Step 11

10

Replace the fuel level sender. Refer to Fuel Level Sensor Replacement in Engine Controls - 2.2L (L61) or Fuel Level Sensor Replacement in Engine Controls - 2.0L.

Did you complete the replacement?

--

Go to Step 12

--

11

Replace the ECM/PCM. Refer to Control Module References in Computer/Integrating Systems for replacement, setup, and programming.

Did you complete the replacement?

--

Go to Step 12

--

12

  1. Use the scan tool in order to clear the DTCs.
  2. Operate the vehicle within the Conditions for Running the DTC as specified in the supporting text.

Does the DTC reset?

--

Go to Step 2

System OK