GM Service Manual Online
For 1990-2009 cars only

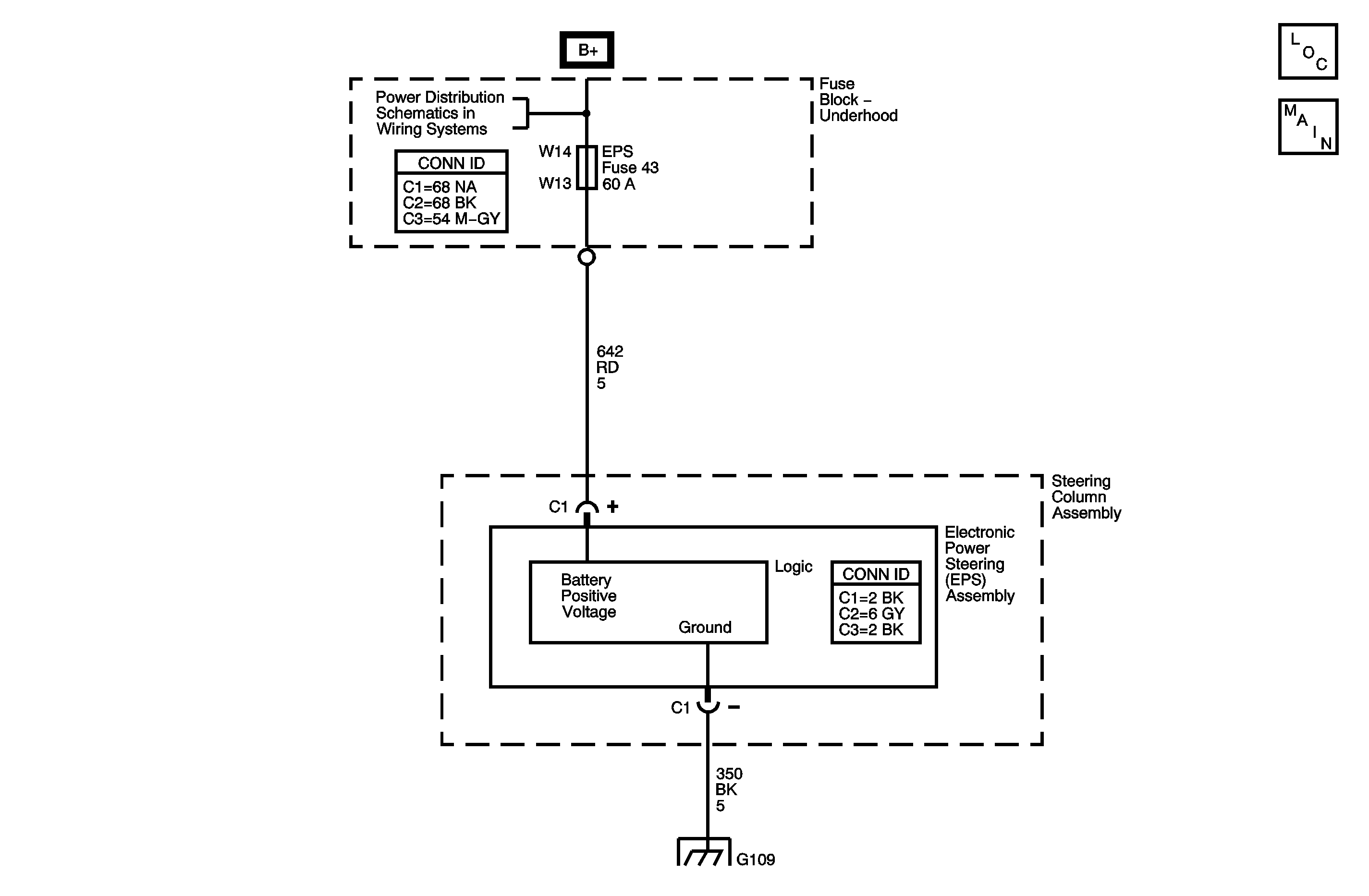
Object Number: 1571718  Size: MF

Circuit Description

The power steering control module (PSCM) has a discrete battery voltage supply circuit. The PSCM monitors the voltage level on this circuit to protect itself against high voltage damage.

DTC Descriptor

This diagnostic procedure supports the following DTC:

DTC C0900 Device Voltage High

Conditions for Running the DTC

The ignition is ON.

Conditions for Setting the DTC

electric power steering (EPS) system voltage is greater than 17 volts.

Action Taken When the DTC Sets

    • DTC C0900 is stored in memory.
    • The instrument panel cluster (IPC) message center displays the PWR STR warning message.
    • The PSCM is disabled to protect itself.

Conditions for Clearing the MIL/DTC

    • A current DTC will clear when the EPS system voltage returns to less than 15.5 volts.
    • A history DTC will clear after 100 consecutive ignition cycles with the EPS system voltage less than 15.5 volts.

Diagnostic Aids

Jump starting the vehicle can cause DTC C0900 to set. If an intermittent malfunction exists, refer to Testing for Intermittent Conditions and Poor Connections in Wiring Systems for further diagnosis.

Step

Action

Values

Yes

No

Connector End Views Reference: Power Steering Connector End Views

1

Did you perform the Diagnostic System Check - Vehicle?

--

Go to Step 2

Go to Diagnostic System Check - Vehicle in Vehicle DTC Information

2

  1. Turn ON the ignition, with the engine OFF.
  2. With a scan tool, observe the Battery Voltage parameter in the engine control module (ECM) data list.

Does the scan tool display greater than the specified value?

17 V

Go to Diagnostic System Check - Vehicle in Vehicle DTC Information

Go to Step 3

3

Test the ground circuit of the power steering control module (PSCM) for a high resistance. Refer to Circuit Testing and to Wiring Repairs in Wiring Systems.

Did you find and correct the condition?

--

Go to Step 4

Go to Diagnostic Aids

4

  1. Use the scan tool in order to clear the DTC.
  2. Operate the vehicle within the conditions for running the DTC.

Does the DTC reset?

--

Go to Step 2

System OK