GM Service Manual Online
For 1990-2009 cars only

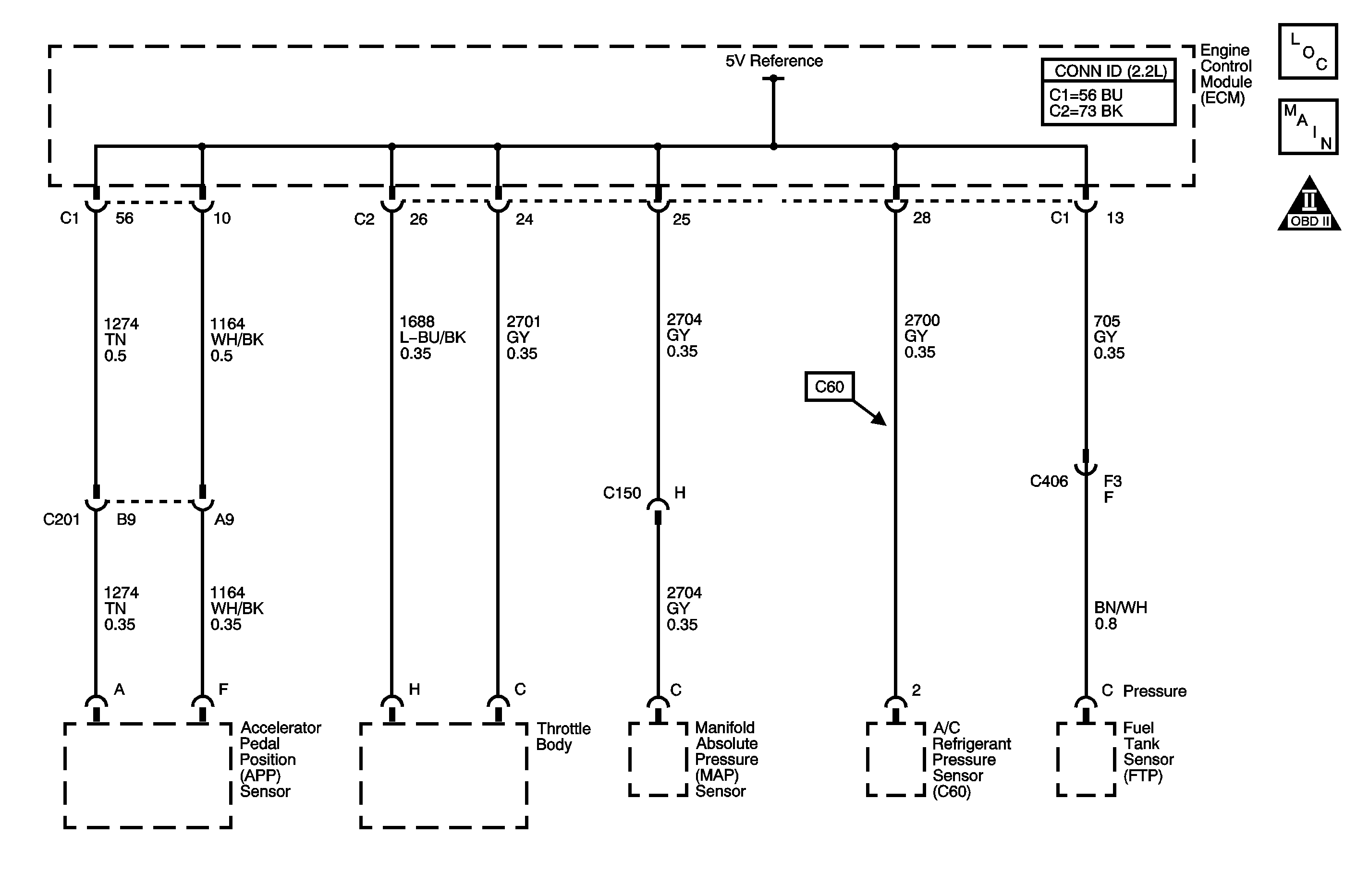
Object Number: 1510103  Size: MF

Circuit Description

The engine control module (ECM) uses the 5-volt reference circuit as a sensor feed to the following sensors:

    • The air conditioning (A/C) pressure sensor
    • The throttle position (TP) sensor 1
    • The accelerator pedal position (APP) sensor 1
    • The fuel tank pressure (FTP) sensor

The ECM monitors the voltage on the 5-volt reference circuit. If the voltage is out of tolerance, the ECM will set DTC P0641.

DTC Descriptor

This diagnostic procedure supports the following DTC:

DTC P0641 5-Volt Reference 1 Circuit

Conditions for Running the DTC

    • DTCs P0601, P0602, P0604, P0606, P1621, P2610 are not set.
    • The ignition is in Unlock/Accessory, Run, or Crank.
    • The ignition voltage is greater than 10.9 volts.
    • DTC P0641 runs continuously when the above conditions are met.

Conditions for Setting the DTC

    • The ECM detects a voltage out of tolerance condition on the 5-volt reference circuit.
    • The above condition is present for longer than one second.

Action Taken When the DTC Sets

    • The control module illuminates the malfunction indicator lamp (MIL) when the diagnostic runs and fails.
    • The control module records the operating conditions at the time the diagnostic fails. The control module stores this information in the Freeze Frame/Failure Records.

Conditions for Clearing the MIL/DTC

    • The control module turns OFF the malfunction indicator lamp (MIL) after 3 consecutive ignition cycles that the diagnostic runs and does not fail.
    • A current DTC, Last Test Failed, clears when the diagnostic runs and passes.
    • A history DTC clears after 40 consecutive warm-up cycles, if no failures are reported by this or any other emission related diagnostic.
    • Clear the MIL and the DTC with a scan tool.

Step

Action

Values

Yes

No

Schematic Reference: Engine Controls Schematics

Connector End View Reference: Engine Control Module Connector End Views or Engine Controls Connector End Views

1

Did you perform the Diagnostic System Check - Vehicle?

--

Go to Step 2

Go to Diagnostic System Check - Vehicle in Vehicle DTC Information

2

  1. Observe the Freeze Frame/Failure Records for this DTC.
  2. Turn OFF the ignition for 30 seconds.
  3. Start the engine.
  4. Operate the vehicle within the Conditions for Running the DTC. You may also operate the vehicle within the conditions that you observed from the Freeze Frame/Failure Records.

Did the DTC fail this ignition?

--

Go to Step 3

Go to Intermittent Conditions

3

Visually and physically inspect the engine control module (ECM) and engine grounds. Ensure that the grounds are clean and secure. Refer to Testing for Intermittent Conditions and Poor Connections and Connector Repairs in Wiring Systems.

Did you find and correct the condition?

--

Go to Step 14

Go to Step 4

4

Important: Voltage above 5.2 only during the first 5 seconds of ignition ON, and the presence of throttle actuator DTCs, may indicate a short between the 5-volt reference and the throttle actuator control (TAC) motor control circuits.

  1. Turn OFF the ignition for 90 seconds.
  2. Disconnect the air conditioning (A/C) refrigerant pressure sensor.
  3. Turn ON the ignition, with the engine OFF.
  4. Measure the voltage from the 5-volt reference circuit of the A/C refrigerant pressure sensor harness connector to a good ground with a DMM. Refer to Circuit Testing and Wiring Repairs in Wiring Systems.

Is the voltage within the specified value for the first 5 seconds of ignition ON?

4.8-5.2 V

Go to Step 7

Go to Step 5

5

Is the voltage more than the specified value?

5.2 V

Go to Step 6

Go to Step 8

6

  1. Turn OFF the ignition for 90 seconds.
  2. Disconnect the TAC module connector.
  3. Turn ON the ignition, with the engine OFF.
  4. Measure the voltage from the 5-volt reference circuit of the A/C refrigerant pressure sensor harness connector to a good ground with a DMM. Refer to Circuit Testing and Wiring Repairs in Wiring Systems.

Is the voltage within the specified value for the first 5 seconds of ignition ON?

4.8-5.2 V

Go to Step 10

Go to Step 13

7

  1. Connect the A/C refrigerant pressure sensor.
  2. Disconnect the accelerator pedal position (APP) sensor.
  3. Measure the voltage from the 5-volt reference circuit of the APP sensor 2 harness connector to a good ground with a DMM. Refer to Circuit Testing and Wiring Repairs in Wiring Systems.

Is the voltage within the specified value?

4.8-5.2 V

Go to Intermittent Conditions

Go to Step 12

8

  1. Observe the DMM while disconnecting all other devices that are connected to the 5-volt reference 1 circuit, one at a time.
  2. If the voltage changes when one of the above components are disconnected, replace the component. Refer to the appropriate replacement procedure below:
  3. •  Air Conditioning (A/C) Refrigerant Pressure Sensor Replacement in Heating, Ventilation and Air Conditioning

Was a component replaced?

--

Go to Step 14

Go to Step 9

9

Test the 5-volt reference 1 circuits for a short to ground. Refer to Circuit Testing and Wiring Repairs in Wiring Systems.

Did you find and correct the condition?

--

Go to Step 14

Go to Step 11

10

  1. Turn OFF the ignition for 90 seconds.
  2. Turn ON the ignition, with the engine OFF.
  3. Test the following circuits for a short to voltage:
  4. • The 5-volt reference 1 circuits
    • The fuel tank pressure (FTP) sensor signal circuit
    • The A/C refrigerant pressure sensor signal circuit
    • The manifold absolute pressure sensor (MAP) signal circuit--Refer to Circuit Testing and Wiring Repairs in Wiring Systems

Did you find and correct the condition?

--

Go to Step 14

Go to Step 11

11

Replace the ECM. Refer to Control Module References in Computer/Integrating Systems for replacement, setup, and programming.

Did you complete the repair?

--

Go to Step 14

--

12

Replace the A/C refrigerant pressure sensor. Refer to Air Conditioning (A/C) Refrigerant Pressure Sensor Replacement in Heating, Ventilation and Air Conditioning.

Did you complete the replacement?

--

Go to Step 14

--

13

Replace the throttle body assembly. Refer to Throttle Body Assembly Replacement .

Did you complete the replacement?

--

Go to Step 14

--

14

  1. Clear the DTCs with a scan tool.
  2. Turn OFF the ignition for 60 seconds.
  3. Start the engine.
  4. Operate the vehicle within the Conditions for Running the DTC. You may also operate the vehicle within the conditions that you observed from the Freeze Frame/Failure Records.

Did the DTC fail this ignition?

--

Go to Step 3

Go to Step 15

15

Observe the Capture Info with a scan tool.

Are there any DTCs that have not been diagnosed?

--

Go to Diagnostic Trouble Code (DTC) List - Vehicle in Vehicle DTC Information

System OK