| Table 1: | Engine Block - Front View |
| Table 2: | Engine Block - Back View |
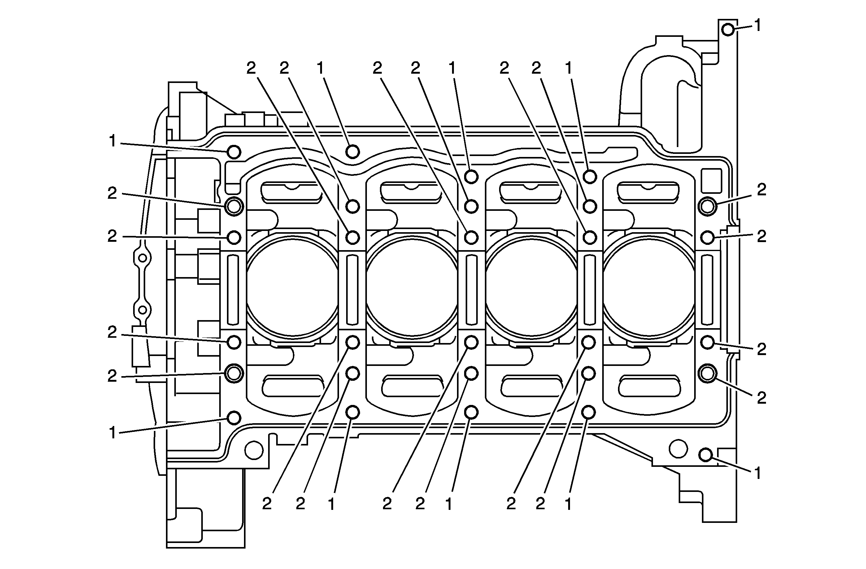
| Table 3: | Engine Block - Left Side View |
| Table 4: | Engine Block - Bottom View |
| Table 5: | Engine Block - Right Side View |
| Table 6: | Engine Block - Top View |
| Table 7: | Lower Crankcase - Front View |
| Table 8: | Lower Crankcase - Back View |
| Table 9: | Lower Crankcase - Bottom View |
| Table 10: | Lower Crankcase - Left View |
| Table 11: | Lower Crankcase - Right View |
| Table 12: | Cylinder Head - Top View |
| Table 13: | Cylinder Head - Intake Manifold Deck View |
| Table 14: | Cylinder Head - Exhaust Manifold Deck View |
| Table 15: | Cylinder Head - Front View |
| Table 16: | Cylinder Head - Back View |
| Table 17: | Cylinder Head - Bottom View |
Service Call Out | Thread Size | Insert | Drill | Counterbore Tool | Tap | Driver | Drill Depth (Maximum) | Tap Depth (Maximum) | ||
|---|---|---|---|---|---|---|---|---|---|---|
J 42385-850 | MM | (IN) | MM | (IN) | ||||||
1 | M8 x 1.25 | 210 | 206 | 207 | 208 | 209 | 23.5 | 0.93 | 18.5 | 0.73 |
2 | M12 x 1.75 | 855 | 856 | 857 | 858 | 859 | 33.5 | 1.32 | 26.5 | 1.04 |
3 | M10 x 1.5 | 215 | 211 | 212 | 213 | 214 | 24.5 | 0.96 | 19.5 | 0.77 |
4 | M6 x 1 | 205 | 201 | 202 | 203 | 204 | 20 | 0.787 | 16 | 0.63 |
Service Call Out | Thread Size | Insert | Drill | Counterbore Tool | Tap | Driver | Drill Depth (Maximum) | Tap Depth (Maximum) | ||
|---|---|---|---|---|---|---|---|---|---|---|
J 42385-850 | MM | (IN) | MM | (IN) | ||||||
1 | M8 x 1.25 | 210 | 206 | 207 | 208 | 209 | 18 | 0.709 | THRU | |
2 | M10 x 1.5 | 215 | 211 | 212 | 213 | 214 | 29 | 1.161 | THRU | |
3 | M12 x 1.75 | 855 | 856 | 857 | 858 | 859 | 39 | 1.535 | 33.5 | 1.32 |
4 | M16 x 1.5 | 860 | 861 | 862 | 863 | 864 | 21 | 0.827 | 15 | 0.59 |
Service Call Out | Thread Size | Insert | Drill | Counterbore Tool | Tap | Driver | Drill Depth (Maximum) | Tap Depth (Maximum) | ||
|---|---|---|---|---|---|---|---|---|---|---|
J 42385-850 | MM | (IN) | MM | (IN) | ||||||
1 | M6 x 1 | 205 | 201 | 202 | 203 | 204 | 20.5 | 0.807 | 16 | 0.63 |
2 | M10 x 1.5 | 215 | 211 | 212 | 213 | 214 | 23.5 | 0.925 | 18.5 | 0.73 |
3 | M12 x 1.75 | 865 | 856 | 857 | 858 | 859 | 19.5 | 0.768 | 12.5 | 0.49 |
Service Call Out | Thread Size | Insert | Drill | Counterbore Tool | Tap | Driver | Drill Depth (Maximum) | Tap Depth (Maximum) | ||
|---|---|---|---|---|---|---|---|---|---|---|
J 42385-850 | MM | (IN) | MM | (IN) | ||||||
1 | M8 x 1.25 | 210 | 206 | 207 | 208 | 209 | 28 | 1.102 | 22 | 0.87 |
2 | M10 x 1.5 | 514 | 511 | N/A | 512 | 513 | 60 | 2.362 | 53.5 | 2.11 |
Service Call Out | Thread Size | Insert | Drill | Counterbore Tool | Tap | Driver | Drill Depth (Maximum) | Tap Depth (Maximum) | ||
|---|---|---|---|---|---|---|---|---|---|---|
J 42385-850 | MM | (IN) | MM | (IN) | ||||||
1 | M6 x 1 | 205 | 201 | 202 | 203 | 204 | 20.5 | 0.807 | 16.5 | 0.65 |
2 | M8 x 1.25 | 210 | 206 | 207 | 208 | 209 | 23.5 | 0.925 | 18 | 0.71 |
3 | M8 x 1.25 | 210 | 206 | 207 | 208 | 209 | 30.5 | 1.201 | 22.5 | 0.89 |
4 | M12 x 1.75 | 865 | 856 | 857 | 858 | 859 | 15.5 | 0.61 | 12.5 | 0.49 |
5 | M12 x 1.75 | 855 | 856 | 857 | 858 | 859 | 33.5 | 1.319 | 26.5 | 1.04 |
6 | M12 x 1.75 | 865 | 856 | 857 | 858 | 859 | 19.5 | 0.778 | 12.5 | 0.49 |
Service Call Out | Thread Size | Insert | Drill | Counterbore Tool | Tap | Driver | Drill Depth (Maximum) | Tap Depth (Maximum) | ||
|---|---|---|---|---|---|---|---|---|---|---|
J 42385-850 | MM | (IN) | MM | (IN) | ||||||
1 | M8 x 1.25 | 210 | 206 | 207 | 208 | 209 | 23.5 | 0.925 | 18.5 | 0.73 |
2 | M11 x 1.5 | 507 | 504 | N/A | 505 | 506 | 113.3 | 4.461 | 107.3 | 4.22 |
3 | M12 x 1.75 | 865 | 856 | 857 | 858 | 859 | 13.5 | 0.531 | 12.5 | 0.49 |
Service Call Out | Thread Size | Insert | Drill | Counterbore Tool | Tap | Driver | Drill Depth (Maximum) | Tap Depth (Maximum) | ||
|---|---|---|---|---|---|---|---|---|---|---|
J 42385-850 | MM | (IN) | MM | (IN) | ||||||
1 | M8 x 1.25 | 210 | 206 | 207 | 208 | 209 | 23.5 | 0.925 | 18.5 | 0.73 |
2 | M8 x 1.25 | 210 | 206 | 207 | 208 | 209 | 30.5 | 1.201 | 25.5 | 1.00 |
Service Call Out | Thread Size | Insert | Drill | Counterbore Tool | Tap | Driver | Drill Depth (Maximum) | Tap Depth (Maximum) | ||
|---|---|---|---|---|---|---|---|---|---|---|
J 42385-850 | MM | (IN) | MM | (IN) | ||||||
1 | M10 x 1.5 | 215 | 211 | 212 | 213 | 214 | 29.5 | 1.161 | THRU | |
Service Call Out | Thread Size | Insert | Drill | Counterbore Tool | Tap | Driver | Drill Depth (Maximum) | Tap Depth (Maximum) | ||
|---|---|---|---|---|---|---|---|---|---|---|
J 42385-850 | MM | (IN) | MM | (IN) | ||||||
1 | M8 x 1.25 | 210 | 206 | 207 | 208 | 209 | 23.5 | 0.925 | 18.5 | 0.73 |
Service Call Out | Thread Size | Insert | Drill | Counterbore Tool | Tap | Driver | Drill Depth (Maximum) | Tap Depth (Maximum) | ||
|---|---|---|---|---|---|---|---|---|---|---|
J 42385-850 | MM | (IN) | MM | (IN) | ||||||
1 | M10 x 1.5 | 215 | 211 | 212 | 213 | 214 | 28.5 | 1.122 | 22.5 | 0.89 |
Service Call Out | Thread Size | Insert | Drill | Counterbore Tool | Tap | Driver | Drill Depth (Maximum) | Tap Depth (Maximum) | ||
|---|---|---|---|---|---|---|---|---|---|---|
J 42385-850 | MM | (IN) | MM | (IN) | ||||||
1 | M8 x 1.25 | 210 | 211 | 212 | 213 | 214 | 30.5 | 1.201 | 22.5 | 0.886 |
Service Call Out | Thread Size | Insert | Drill | Counterbore Tool | Tap | Driver | Drill Depth (Maximum) | Tap Depth (Maximum) | ||
|---|---|---|---|---|---|---|---|---|---|---|
J 42385-850 | MM | (IN) | MM | (IN) | ||||||
1 | M6 x 1 | 205 | 852 | N/A | 203 | 204 | 24 | 0.945 | 20 | 0.787 |
2 | M6 x 1 | 205 | 201 | 202 | 203 | 204 | 20 | 0.787 | 16 | 0.63 |
3 | M8 x 1.25 | 854 | 206 | 207 | 208 | 209 | THRU | THRU | ||
4 | M8 x 1.25 | 854 | 853 | N/A | 208 | 209 | 25 | 0.984 | 20 | 0.787 |
5 | M8 x 1.25 | 210 | 206 | 207 | 208 | 209 | 25 | 0.984 | 20 | 0.787 |
Service Call Out | Thread Size | Insert | Drill | Counterbore Tool | Tap | Driver | Drill Depth (Maximum) | Tap Depth (Maximum) | ||
|---|---|---|---|---|---|---|---|---|---|---|
J 42385-850 | MM | (IN) | MM | (IN) | ||||||
1 | M6 x 1 | 205 | 201 | 202 | 203 | 204 | 20 | 0.787 | 16 | 0.63 |
Service Call Out | Thread Size | Insert | Drill | Counterbore Tool | Tap | Driver | Drill Depth (Maximum) | Tap Depth (Maximum) | ||
|---|---|---|---|---|---|---|---|---|---|---|
J 42385-850 | MM | (IN) | MM | (IN) | ||||||
1 | M6 x 1 | 205 | 201 | 202 | 203 | 204 | 20 | 0.78 | 16 | 0.63 |
2 | M8 x 1.25 | 210 | 206 | 207 | 208 | 209 | 25 | 0.984 | 20 | 0.78 |
Service Call Out | Thread Size | Insert | Drill | Counterbore Tool | Tap | Driver | Drill Depth (Maximum) | Tap Depth (Maximum) | ||
|---|---|---|---|---|---|---|---|---|---|---|
J 42385-850 | MM | (IN) | MM | (IN) | ||||||
1 | M6 x 1 | 205 | 201 | 202 | 203 | 204 | 20 | 0.787 | 16 | 0.63 |
2 | M8 x 1.25 | 210 | 206 | 207 | 208 | 209 | 25 | 0.984 | 20 | 0.787 |
Service Call Out | Thread Size | Insert | Drill | Counterbore Tool | Tap | Driver | Drill Depth (Maximum) | Tap Depth (Maximum) | ||
|---|---|---|---|---|---|---|---|---|---|---|
J 42385-850 | MM | (IN) | MM | (IN) | ||||||
1 | M8 x 1.25 | 210 | 206 | 207 | 208 | 209 | 25 | 0.984 | 20 | 0.787 |
2 | M12 x 1.75 | 865 | 856 | 857 | 858 | 859 | 17 | 0.67 | 14 | 0.551 |
Service Call Out | Thread Size | Insert | Drill | Counterbore Tool | Tap | Driver | Drill Depth (Maximum) | Tap Depth (Maximum) | ||
|---|---|---|---|---|---|---|---|---|---|---|
J 42385-850 | MM | (IN) | MM | (IN) | ||||||
1 | M12 x 1.75 | 865 | 856 | 857 | 858 | 859 | 17 | 0.67 | 14 | 0.551 |