GM Service Manual Online
For 1990-2009 cars only
Figure 1:

Powertrain Control Module (PCM)


Object Number: 1403070  Size: MF
(1)Powertrain Control Module (PCM) C1
(2)Powertrain Control Module (PCM) C2
(3)Powertrain Control Module (PCM) C3
(4)Engine Harness
(5)Body Harness
(6)Powertrain Control Module (PCM)
Figure 2:

Air Cleaner View


Object Number: 1403077  Size: MF
(1)Mass Air Flow (MAF)/Inlet Air Temperature (IAT) Sensor
Figure 3:

Upper Right Side of the Engine


Object Number: 1403091  Size: MF
(1)Engine Coolant Temperature (ECT) Sensor
(2)Supercharger By-Pass Valve Solenoid
(3)Manifold Absolute Pressure (MAP) Sensor
Figure 4:

Rear of the Engine


Object Number: 1403101  Size: MF
(1)Heated Oxygen Sensor (HO2S) 1 Connector
(2)Heated Oxygen Sensor (HO2S) 2 Connector
(3)Heated Oxygen Sensor (HO2S) 1
Figure 5:

HO2S 2


Object Number: 1403103  Size: MF
(1)Catalytic Converter
(2)Heated Oxygen Sensor (HO2S) 2
Figure 6:

Upper Left Side of the Engine


Object Number: 1403106  Size: MF
(1)Evaporative Emission (EVAP) Canister Purge Solenoid
(2)Camshaft Position (CMP) Sensor
Figure 7:

Top Left Side of the Engine


Object Number: 1403108  Size: MF
(1)Super Charge Inlet Pressure (SCIP) Sensor
(2)Barometric Pressure (BARO) Sensor
(3)Throttle Body
Figure 8:

Left Front of the Engine


Object Number: 1403110  Size: MF
(1)Super Charge Inlet Pressure (SCIP) Sensor
(2)Throttle Body
Figure 9:

Front of the Engine


Object Number: 1403112  Size: MF
(1)Crankshaft Position (CKP) Sensor
(2)Engine Oil Pressure (EOP) Switch
Figure 10:

Lower Front of the Engine


Object Number: 1403114  Size: MF
(1)Knock Sensor (KS) Connector
(2)Supercharger Intercooler Coolant Pump
Figure 11:

Lower LF of the Passenger Compartment (2.0L)


Object Number: 1403116  Size: MF
(1)Accelerator Pedal Position (APP) Sensor
(2)C220
Figure 12:

Right Rear Side Under Vehicle


Object Number: 1696935  Size: MF
(1)C406
(2)Fuel Tank Pressure Sensor
(3)Evaporative Emission (EVAP) Canister Vent Solenoid
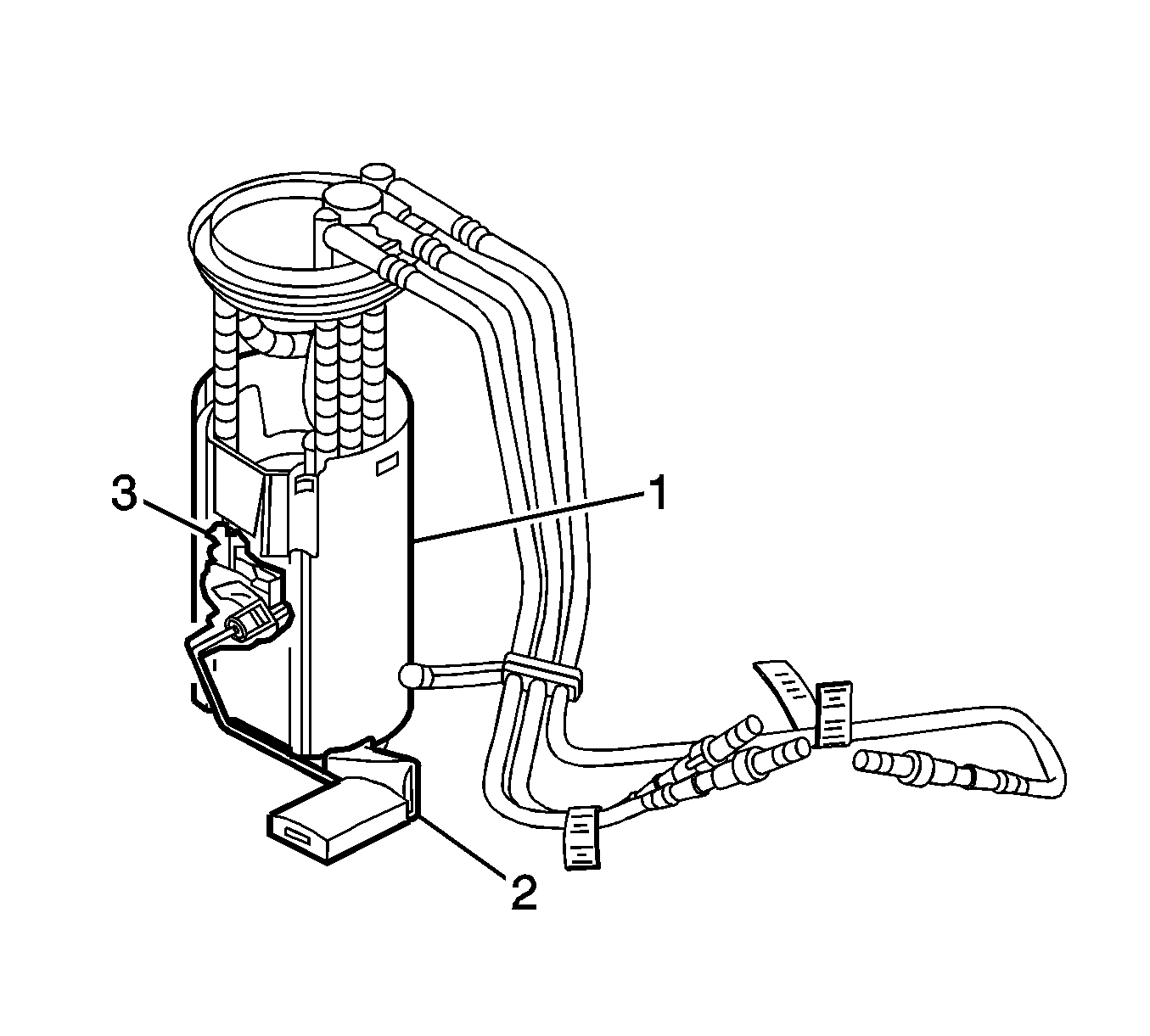
Figure 13:

Fuel Pump and Sender Assembly


Object Number: 1696934  Size: SH
(1)Fuel Pump and Sender Assembly
(2)Fuel Pump Strainer
(3)Fuel Level Sensor
Figure 14:

Top of the Engine


Object Number: 1540555  Size: MF
(1)Ignition Coil 1
(2)Ignition Coil 2
(3)Ignition Coil 3
(4)Ignition Coil 4
Figure 15:

Top Front of the Engine


Object Number: 1540542  Size: MF
(1)Fuel Injector 1
(2)Fuel Injector 2
(3)Fuel Injector 3
(4)Fuel Injector 4