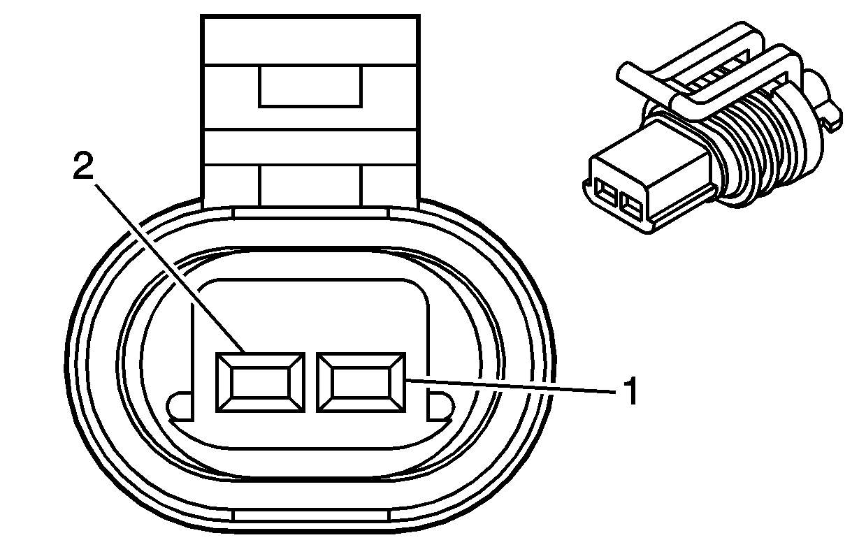
| Connector 1: | Clutch Pedal Position (CPP) Sensor |
| Connector 2: | Vehicle Speed Sensor (VSS) |
Connector Part Information
|
Terminal Part Information
|
Pin | Wire Color | Circuit No. | Function |
|---|---|---|---|
1 | PK | 339 | Ignition 1 Voltage |
2 | BN/WH | 379 | CPP Switch Signal |
Connector Part Information
|
Terminal Part Information
|
Pin | Wire Color | Circuit No. | Function |
|---|---|---|---|
1 | PU | 401 | VSS Low Signal |
2 | YE | 400 | VSS High Signal |