GM Service Manual Online
For 1990-2009 cars only

Removal Procedure


    Object Number: 1539100  Size: SH

    Important: Be careful of cosmetic damage to the emblem. In case of damage, replace the emblem with a new part.

  1. Remove the emblem (1) from the top of the shifter knob.
  2. Cut away the runner protector in the center.

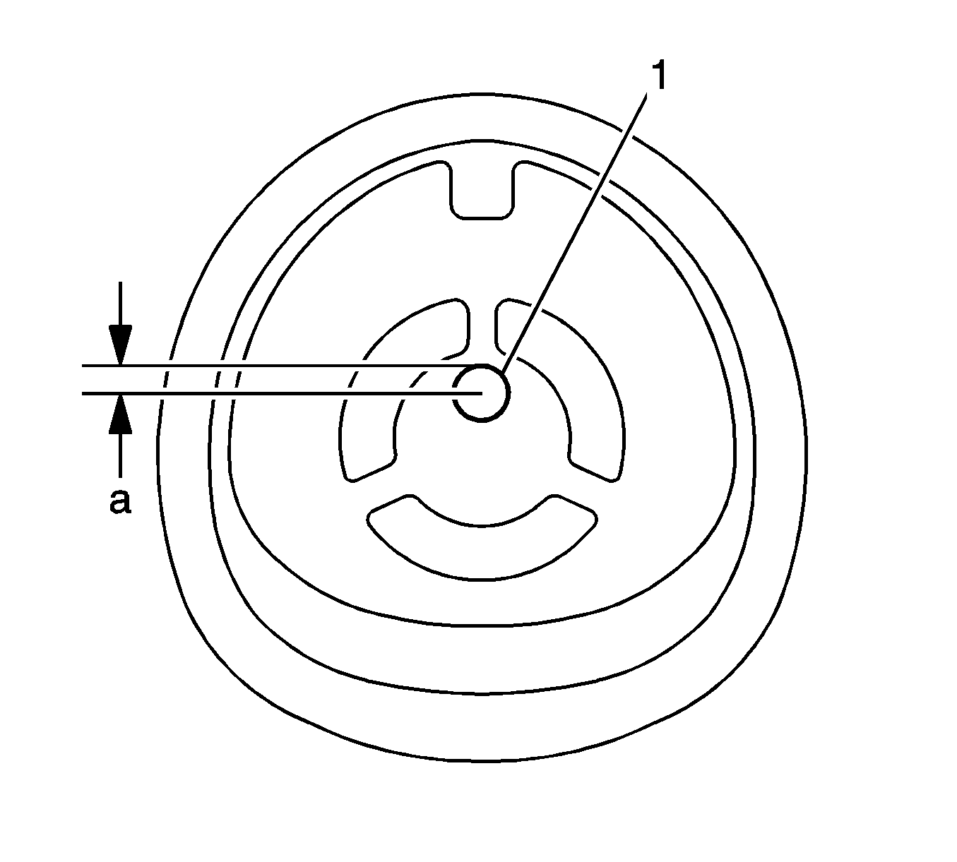
  3. Object Number: 1539103  Size: SH
  4. Mark and drill a 4 mm hole 5 mm deep into the knob, 3 mm from the edge (1) as shown.

  5. Object Number: 1539106  Size: SH
  6. The knob can be removed by screwing a self-threading plate screw with a flat tip (25 x 5.5 mm) into the hole.

  7. Object Number: 1539116  Size: SH
  8. Remove the shifter knob (3) from the shiftier spline (2) and shifter assembly (1).

Installation Procedure

    Important: Use adhesive Loctite™ 270 with Activator 7471 or Activator 7649. DO NOT operate the lever until the adhesive has dried (approximately 30 minutes).

  1. Apply adhesive to the knob.
  2. Seat the shifter knob over the shifter lever. Ensure the spring and foam rings are correctly seated.
  3. Position and fit the emblem over the shifter knob.
  4. Vacuum and clean any debris.