GM Service Manual Online
For 1990-2009 cars only

Object Number: 1701578  Size: MF
Master Electrical Component List
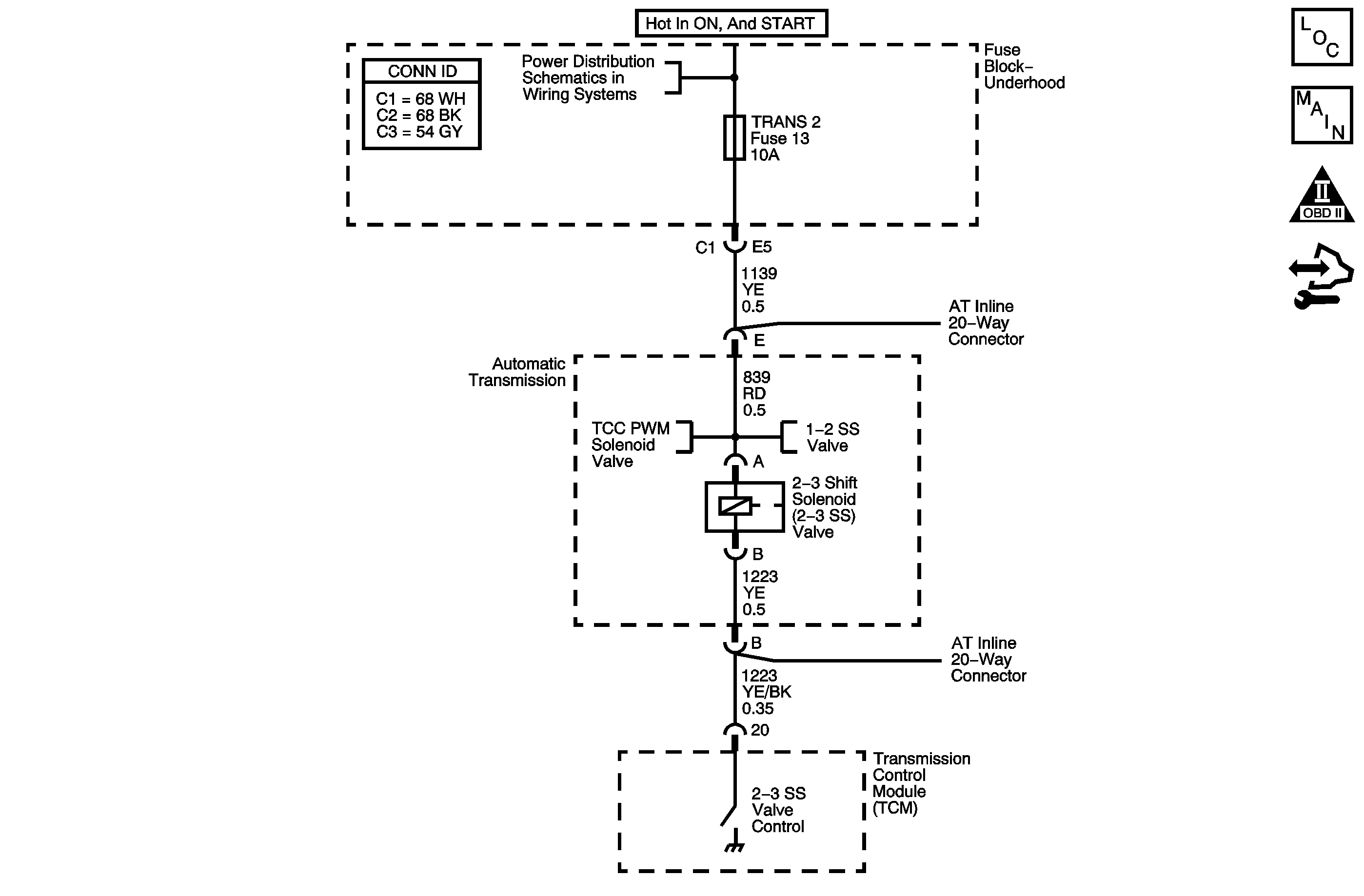
Automatic Transmission Controls Schematics
OBD II Symbol Description Notice
Control Module References

Circuit Description

The 2-3 shift solenoid (SS) valve controls the transmission fluid pressure acting on the 1-2 and 2-3 shift valves to position the valves for the appropriate gear. The 2-3 SS valve is a normally open exhaust valve located on the lower control valve body. Ignition voltage is supplied to the solenoid. The transmission control module (TCM) commands the solenoid ON or OFF by providing a ground path. When the 2-3 SS valve is commanded ON, the TCM senses low voltage. When the 2-3 SS valve is commanded OFF, the TCM senses high voltage.

If the TCM detects a continuous short to voltage in the 2-3 SS valve circuit, then DTC P0977 sets. DTC P0977 is a type A DTC.

DTC Descriptor

This diagnostic procedure supports the following DTC:

DTC P0977 2-3 Shift Solenoid (SS) Control Circuit High Voltage

Conditions for Running the DTC

The engine speed is greater than 500 RPM for 5 seconds.

Conditions for Setting the DTC

The 2-3 SS valve feedback circuit indicates a continuous short to voltage for 4.4 seconds.

Action Taken When the DTC Sets

    • The TCM requests the engine control module (ECM) to illuminate the malfunction indicator lamp (MIL).
    • The TCM commands maximum line pressure.
    • The TCM inhibits 4th gear.
    • The TCM freezes transmission adaptive functions.
    • The ECM records the operating conditions when the Conditions for Setting the DTC are met. The ECM stores this information as Freeze Frame and Failure Records.
    • The TCM records the operating conditions when the Conditions for Setting the DTC are met. The TCM stores this information as Failure Records.
    • The TCM stores DTC P0977 in TCM history.

Conditions for Clearing the MIL/DTC

    • The TCM turns OFF the MIL during the third consecutive trip in which the diagnostic test runs and passes.
    • A scan tool can clear the MIL/DTC.
    • The TCM clears the DTC from TCM history if the vehicle completes 40 warm-up cycles without an emission related diagnostic fault occurring.
    • The TCM cancels the DTC default actions when the ignition switch is OFF long enough in order to power down the TCM.

Test Description

The numbers below refer to the step numbers on the diagnostic table.

  1. This step tests the TCM and the wiring to the transmission.

  2. This step verifies that the circuit has the correct resistance.

DTC P0977

Step

Action

Value(s)

Yes

No

1

Did you perform the Diagnostic System Check - Vehicle?

--

Go to Step 2

Go to Diagnostic System Check - Vehicle

2

  1. Install a scan tool.
  2. Turn ON the ignition, with the engine OFF.
  3. Important: Before clearing the DTC, use the scan tool in order to record the Freeze Frame and Failure Records. Using the Clear Info function erases the Freeze Frame and Failure Records from the TCM.

  4. Record the DTC Freeze Frame and Failure Records.
  5. Clear the DTC.
  6. Select 2-3 Sol. CKT Status on the scan tool.
  7. Drive the vehicle in D4.

When the 2-3 SS Valve is commanded ON, does the scan tool display indicate a short to voltage?

--

Go to Step 3

Go to Testing for Intermittent Conditions and Poor Connections

3

  1. Turn OFF the ignition.
  2. Disconnect the AT inline 20-way connector. Additional DTCs may set.
  3. Install the J 44152 Jumper Harness (20 pins) on the engine side of the AT inline 20-way connector.
  4. Using the J-35616 connector test adapter kit, connect a test lamp between terminal B of the J 44152 and ground.
  5. Refer to Automatic Transmission Inline 20-Way Connector End View .

  6. Turn ON the ignition, with the engine OFF.

Is the test lamp ON?

--

Go to Step 4

Go to Step 5

4

Test the control circuit of the 2-3 SS valve for a short to voltage between the TCM connector and the AT inline 20-way connector.

Refer to Testing for a Short to Voltage and Wiring Repairs .

Did you find and correct the condition?

--

Go to Step 10

Go to Step 9

5

  1. Turn OFF the ignition.
  2. Disconnect the J 44152 from the engine side of the AT inline 20-way connector.
  3. Install the J 44152 on the transmission side of the AT inline 20-way connector.
  4. Using the DMM and the J-35616 measure the resistance between the ignition 1 voltage and the 2-3 SS valve control circuits of the J 44152 .
  5. Refer to Automatic Transmission Inline 20-Way Connector End View .

Is the resistance less than the specified value?

19 ohms

Go to Step 6

Go to Testing for Intermittent Conditions and Poor Connections

6

  1. Leave the DMM test leads connected.
  2. Disconnect the 2-3 SS valve from the automatic transmission wiring harness.

Is the resistance less than the specified value?

19 ohms

Go to Step 7

Go to Step 8

7

Replace the automatic transmission wiring harness.

Refer to Wiring Harness Replacement .

Did you complete the replacement?

--

Go to Step 10

--

8

Replace the 2-3 SS valve.

Refer to 2-3 Shift Solenoid Valve Replacement .

Did you complete the replacement?

--

Go to Step 10

--

9

Replace the TCM.

Refer to Control Module References for replacement, setup, and programming.

Did you complete the replacement?

--

Go to Step 10

--

10

Perform the following procedure in order to verify the repair:

  1. Select DTC.
  2. Select Clear Info.
  3. Operate the vehicle under the following conditions:
  4. • Drive the vehicle in D4.
    • Allow the transmission to shift through all gears.
  5. Select Specific DTC.
  6. Enter DTC P0977.

Has the test run and passed?

--

Go to Step 11

Go to Step 2

11

With the scan tool, observe the stored information, capture info. and DTC info.

Does the scan tool display any DTCs that you have not diagnosed?

--

Go to Diagnostic Trouble Code (DTC) List - Vehicle

System OK