GM Service Manual Online
For 1990-2009 cars only

Circuit Description

The PCM contains an output driver module (ODM) which controls six circuits: A/C relay, EVAP purge solenoid, EVAP vent solenoid, fan control 1, fan control 2 and TCC solenoid. The ODM controls each of these circuits independently by controlling the circuit ground. The ODM monitors the voltage level at each of the six circuits into the PCM when the device is being commanded On or Off. When the device is commanded Off (circuit not grounded), the voltage level at the PCM should be high (ignition voltage). When the device is commanded On (circuit grounded), the voltage level at the PCM should be low. Each of the six drivers in the ODM contains a feedback circuit used to determine if a particular circuit failed, which can be read on the scan tool. DTC P1640 sets when any one of the six feedback voltages is low when that device is turned Off or when any one of the six feedback voltages is high when that device is turned On when the engine is running.

Conditions for Setting the DTC

    • DTC P1640 will set if A/C relay, EVAP purge solenoid, EVAP vent solenoid, fan control 1, fan control 2 or TCC solenoid feedback voltage is less than 4.0 volts when that device is commanded Off when:
      • Condition exists for longer than 6 seconds
      • Engine is running
    • A/C relay, EVAP purge solenoid, EVAP vent solenoid, fan control 1, fan control 2 or TCC solenoid feedback voltage is greater than 3.5 volts when that device is commanded On when:
      • Condition exists for longer than 6 seconds
      • Engine is running
    • DTC P1640 diagnostic runs continuously with engine running.
    • P1640 is a (type C) DTC

Diagnostic Aids

Important: If DTC P0480, P0481 or P1860 is also set, diagnose that DTC first. P1640 will also set if a fan control 1, fan control 2 or TCC solenoid fault exists.

To locate an intermittent problem, use the scan to command each of the six solenoids tied to the ODM circuit On and Off independently while monitoring:

    • A/C RELAY CKT OPEN SHORT TO GND
    • A/C RELAY CKT SHORT TO VOLTS
    • OR
    • EVAP PURGE CKT OPEN SHORT TO GND
    • EVAP PURGE CKT SHORT TO VOLTS
    • OR
    • EVAP VENT CKT OPEN SHORT TO GND
    • EVAP VENT CKT SHORT TO VOLTS
    • OR
    • FC 1 RELAY CKT OPEN SHORT TO GND
    • FC 1 RELAY CKT SHORT TO VOLTS
    • OR
    • FC 2 RELAY CKT OPEN SHORT TO GND
    • FC 2 RELAY CKT SHORT TO VOLTS
    • OR
    • TCC DUTY CYCLE OPEN SHORT TO GND
    • TCC DUTY CYCLE SHORT TO VOLTS

If IGN 3 fuse is open, A/C RELAY CKT OPEN SHORT TO GND, EVAP VENT CKT OPEN SHORT TO GND and EVAP PURGE CKT OPEN SHORT TO GND parameters on the scan tool will read YES.

DTC P1640


Object Number: 888532  Size: FP

A/C Relay Low Voltage


Object Number: 891648  Size: MF

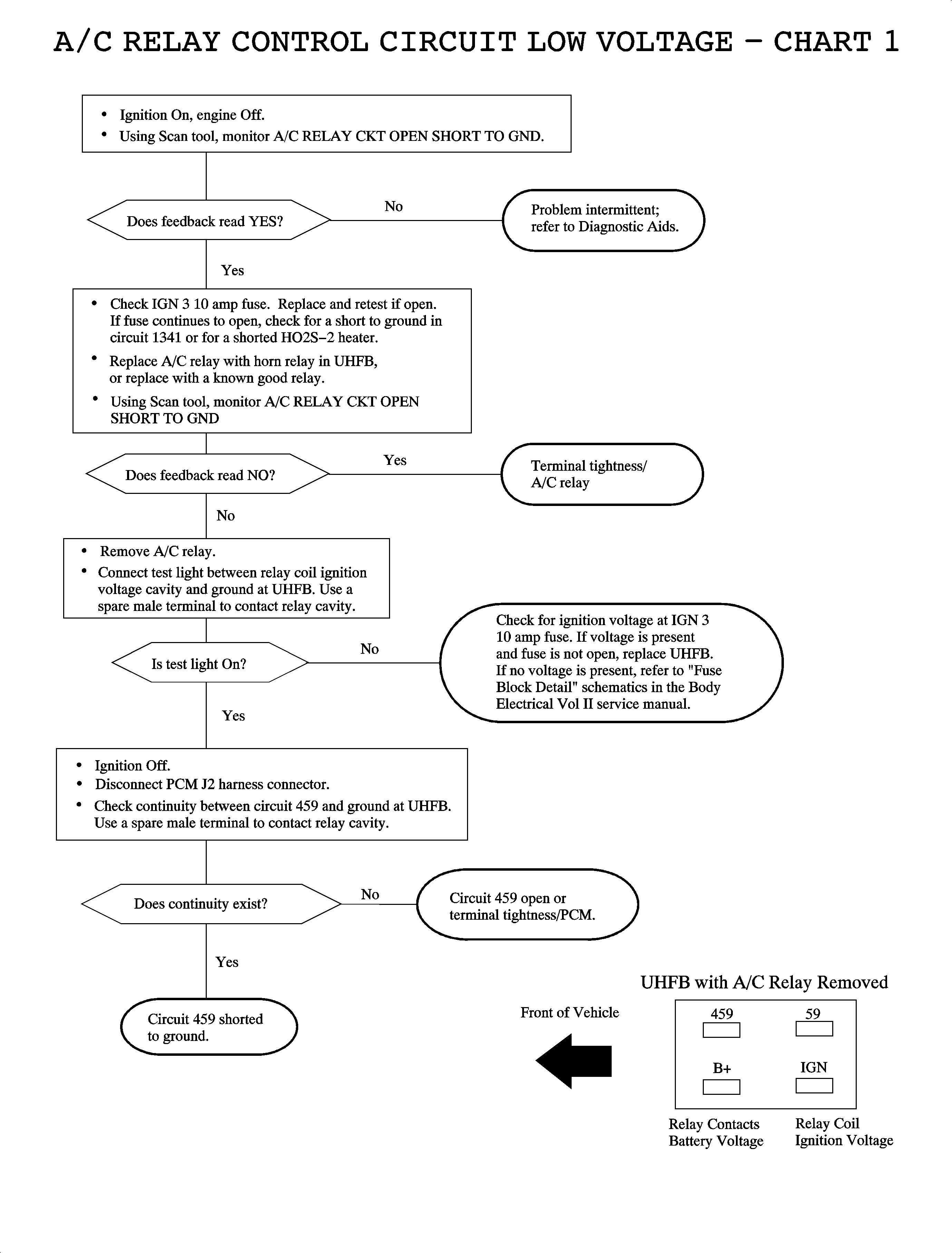
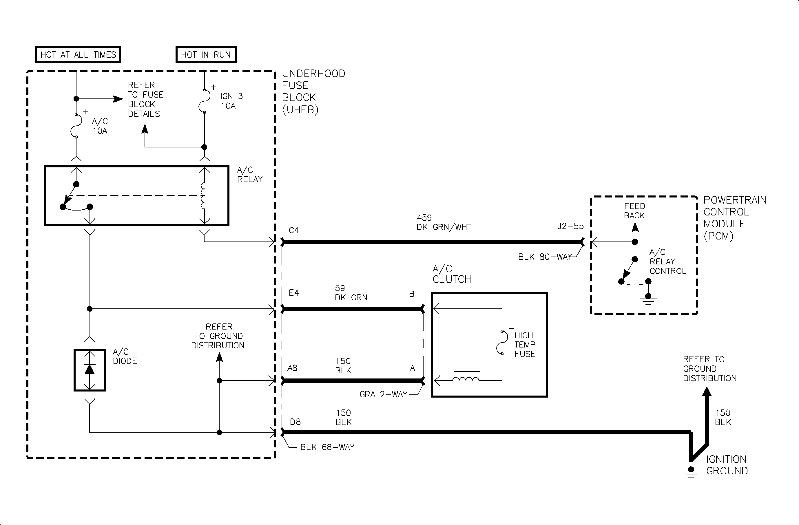
Circuit Description

The PCM contains an output driver module (ODM) which controls the A/C relay coil circuit ground. The ODM monitors the feedback voltage level on circuit 459 at the PCM when the device is being commanded On or Off. When the device is commanded Off (circuit not grounded), the voltage level at the PCM should be high (ignition voltage). When the device is commanded On (circuit grounded), the voltage level at the PCM should be low. Chart 1 diagnoses a low circuit voltage fault in which the PCM detected lower than normal feedback voltage when the A/C relay was commanded Off.

Conditions for Setting the DTC

DTC P1640 will set if A/C relay feedback voltage is less than 4.0 volts when A/C relay is commanded Off when:

    • Condition exists for longer than 6 seconds
    • Engine is running

DTC P1640 diagnostic runs continuously with engine running.

P1640 is a (type C) DTC

Diagnostic Aids

To locate an intermittent problem, use the scan to monitor A/C RELAY CKT OPEN SHORT TO GND with ignition On, engine Off. When a fault (open or short to ground) exists, the scan tool will display YES.

A/C relay coil resistance: 70-115 ohms.

DTC P1640 - Chart 1


Object Number: 888536  Size: FP

A/C Relay Low Voltage - Chart 2


Object Number: 891648  Size: MF

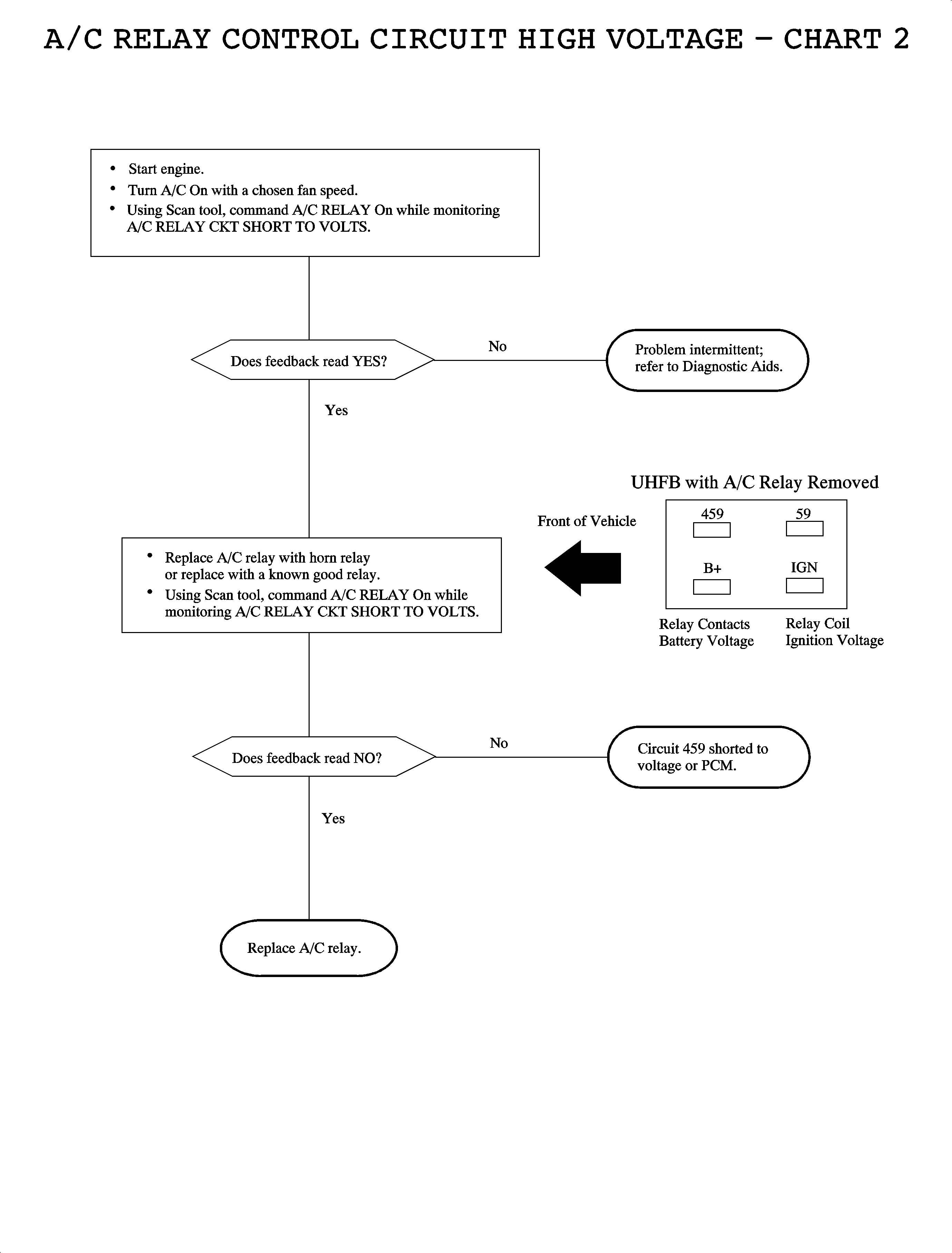
Circuit Description

The PCM contains an output driver module (ODM) which controls the A/C relay coil circuit ground. The ODM monitors the feedback voltage level on circuit 459 at the PCM when the device is being commanded On or Off. When the device is commanded Off (circuit not grounded), the voltage level at the PCM should be high (ignition voltage). When the device is commanded On (circuit grounded), the voltage level at the PCM should be low. Chart 2 diagnoses a high circuit voltage fault in which the PCM detected higher than normal feedback voltage when the A/C relay was commanded On.

Conditions for Setting the DTC

DTC P1640 will set if A/C relay feedback voltage is greater than 3.5 volts when A/C relay is commanded On when:

    • Condition exists for longer than 6 seconds
    • Engine is running

DTC P1640 diagnostic runs continuously with engine running.

P1640 is a (type C) DTC

Diagnostic Aids

To locate an intermittent problem, use the scan to command A/C RELAY On while monitoring A/C RELAY CKT SHORT TO VOLTS. When a fault (short to voltage or shorted solenoid) exists, the Scan tool will display YES.

A/C relay coil resistance: 70-115 ohms

DTC P1640 - Chart  2


Object Number: 888538  Size: FP

Evap Purge Solenoid Low Voltage - Chart 3


Object Number: 891640  Size: MF

Circuit Description

The PCM contains an output driver module (ODM) which controls the EVAP purge solenoid circuit ground. The ODM monitors the feedback voltage level on circuit 428 at the PCM when the device is being commanded On or Off. When the device is commanded Off (circuit not grounded), the voltage level at the PCM should be high (ignition voltage). When the device is commanded On (circuit grounded), the voltage level at the PCM should be low. Chart 3 diagnoses a low circuit voltage fault in which the PCM detected lower than normal feedback voltage when the EVAP purge solenoid was commanded Off.

Conditions for Setting the DTC

DTC P1640 will set if EVAP purge solenoid feedback voltage is less than 4.0 volts when EVAP purge solenoid is commanded Off when:

    • Condition exists for longer than 6 seconds
    • Engine is running

DTC P1640 diagnostic runs continuously with engine running.

P1640 is a (type C) DTC

Diagnostic Aids

To locate an intermittent problem, use the scan to monitor EVAP PURGE CKT OPEN SHORT TO GND with ignition On, engine Off. When a fault (open or short to ground) exists, the scan tool will display YES.

EVAP purge solenoid resistance: 16-25 ohms

DTC P1640 - Chart 3


Object Number: 888539  Size: FP

Evap Purge Solenoid High Voltage - Chart 4


Object Number: 891640  Size: MF

Circuit Description

The PCM contains an output driver module (ODM) which controls the EVAP purge solenoid circuit ground. The ODM monitors the feedback voltage level on circuit 428 at the PCM when the device is being commanded On or Off. When the device is commanded Off (circuit not grounded), the voltage level at the PCM should be high (ignition voltage). When the device is commanded On (circuit grounded), the voltage level at the PCM should be low. Chart 4 diagnoses a high circuit voltage fault in which the PCM detected higher than normal feedback voltage when the EVAP purge solenoid was commanded On.

Conditions for Setting the DTC

DTC P1640 will set if EVAP purge solenoid feedback voltage is greater than 3.5 volts when EVAP purge solenoid is commanded On when:

    • Condition exists for longer than 6 seconds
    • Engine is running

DTC P1640 diagnostic runs continuously with engine running.

P1640 is a (type C) DTC

Diagnostic Aids

To locate an intermittent problem, use Scan to command EVAP PURGE SOLENOID On while monitoring EVAP PURGE SOLENOID CKT SHORT TO VOLTS. When a fault (short to voltage or shorted solenoid) exists, the Scan tool will display YES.

EVAP purge solenoid resistance: 16-25 ohms

DTC P1640 - Chart 4


Object Number: 888541  Size: FP

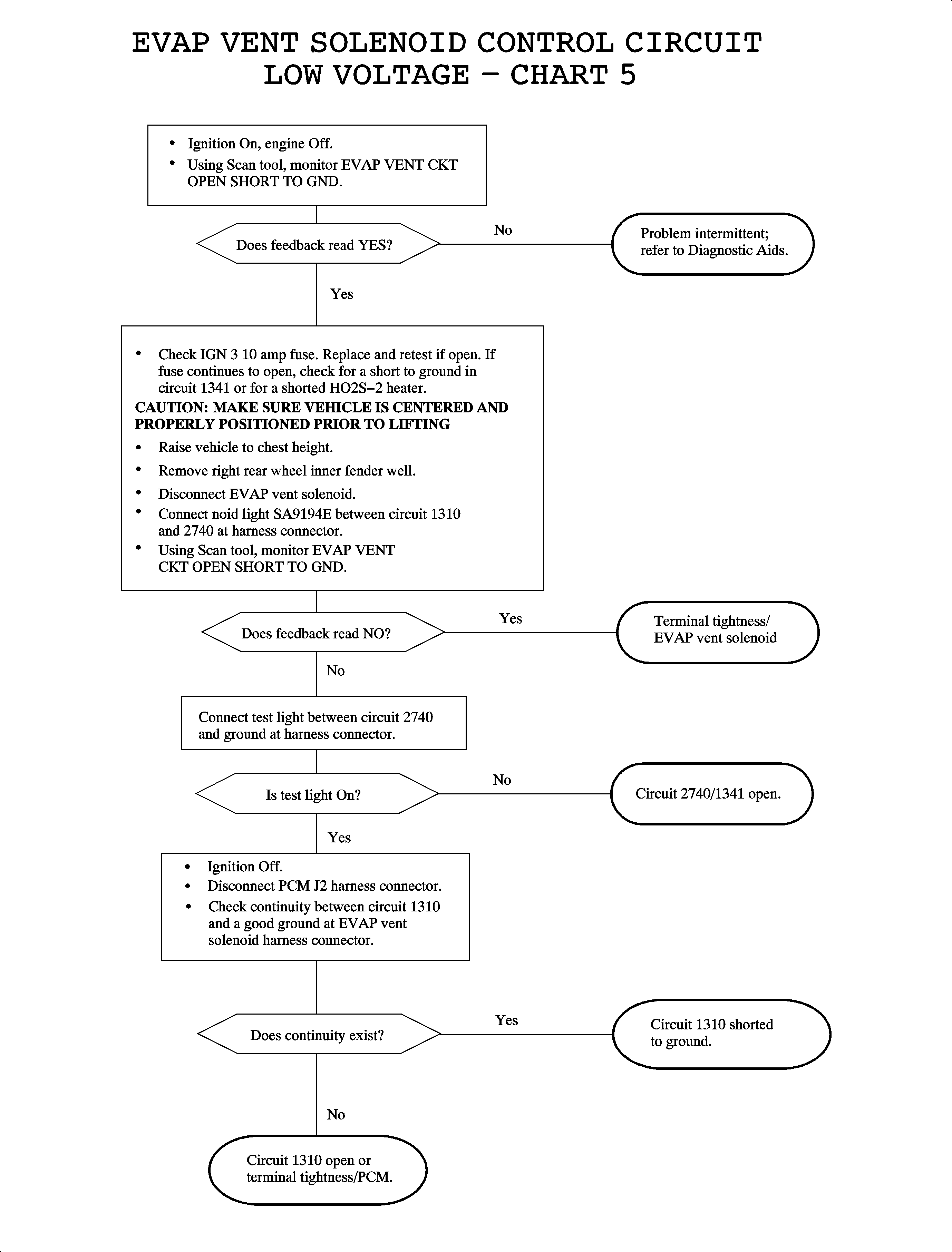
Evap Vent Solenoid Low Voltage - Chart 5


Object Number: 891632  Size: MF

Circuit Description

The PCM contains an output driver module (ODM) which controls the EVAP vent solenoid circuit ground. The ODM monitors the feedback voltage level on circuit 1310 at the PCM when the device is being commanded On or Off. When the device is commanded Off (circuit not grounded), the voltage level at the PCM should be high (ignition voltage). When the device is commanded On (circuit grounded), the voltage level at the PCM should be low. Chart 5 diagnoses a low circuit voltage fault in which the PCM detected lower than normal feedback voltage when the EVAP vent solenoid was commanded Off.

Conditions for Setting the DTC

DTC P1640 will set if EVAP vent solenoid feedback voltage is less than 4.0 volts when EVAP vent solenoid is commanded Off when:

    • Condition exists for longer than 6 seconds
    • Engine is running

DTC P1640 diagnostic runs continuously with engine running.

P1640 is a (type C) DTC

Diagnostic Aids

To locate an intermittent problem, use the scan to monitor EVAP VENT CKT OPEN SHORT TO GND with ignition On, engine Off. When a fault (open or short to ground) exists, the Scan tool will display YES.

EVAP vent solenoid resistance: 18-27 ohms

DTC P1640 - Chart 5


Object Number: 888542  Size: FP

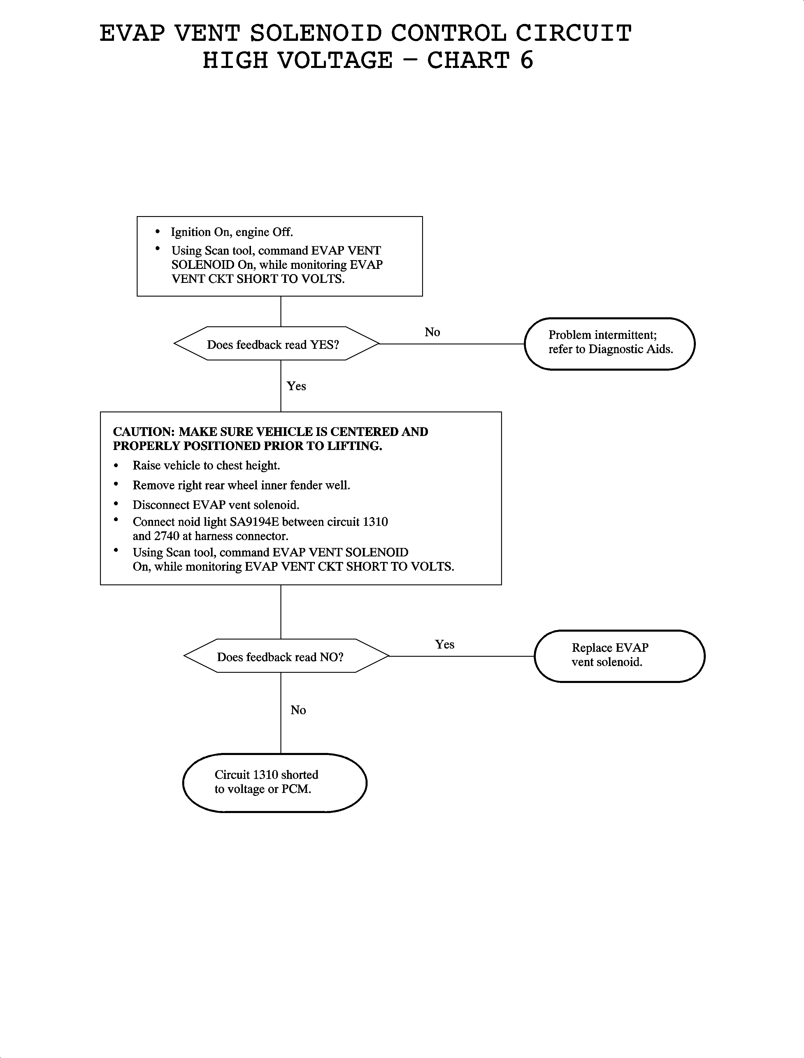
Evap Vent Solenoid High Voltage - Chart 6


Object Number: 891632  Size: MF

Circuit Description

The PCM contains an output driver module (ODM) which controls the EVAP vent solenoid circuit ground. The ODM monitors the feedback voltage level on circuit 1310 at the PCM when the device is being commanded On or Off. When the device is commanded Off (circuit not grounded), the voltage level at the PCM should be high (ignition voltage). When the device is commanded On (circuit grounded), the voltage level at the PCM should be low. Chart 6 diagnoses a high circuit voltage fault in which the PCM detected higher than normal feedback voltage when the EVAP vent solenoid was commanded On.

Conditions for Setting the DTC

DTC P1640 will set if EVAP vent solenoid feedback voltage is greater than 3.5 volts when EVAP vent solenoid is commanded On when:

    • Condition exists for longer than 6 seconds
    • Engine is running

DTC P1640 diagnostic runs continuously with engine running.

P1640 is a (type C) DTC

Diagnostic Aids

To locate an intermittent problem, use the scan to command EVAP VENT SOLENOID On while monitoring EVAP VENT SOLENOID CKT SHORT TO VOLTS. When a fault (short to voltage or shorted solenoid) exists, the scan tool will display YES.

EVAP vent solenoid resistance: 18-27 ohms

DTC P1640 - Chart 6


Object Number: 888545  Size: FP