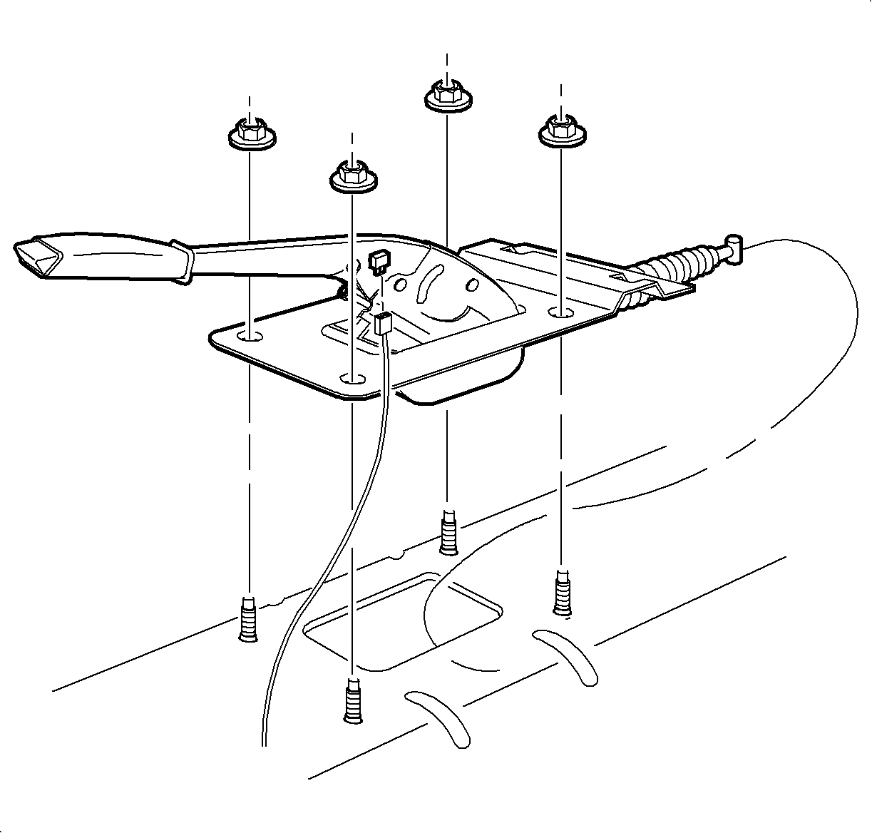
Important: Keep tension on the park brake cable so it does not disengage from the equalizer.
Notice: Refer to Fastener Notice in the Preface section.
Tighten
Tighten the park brake lever-to-floor pan nuts to 10 N·m (89 lb in).
Tighten
Tighten the front console fasteners to 2.5 N·m (22 lb in).
Tighten
Tighten the rear console fasteners to 2.5 N·m (22 lb in).