GM Service Manual Online
For 1990-2009 cars only

Object Number: 889654  Size: MF

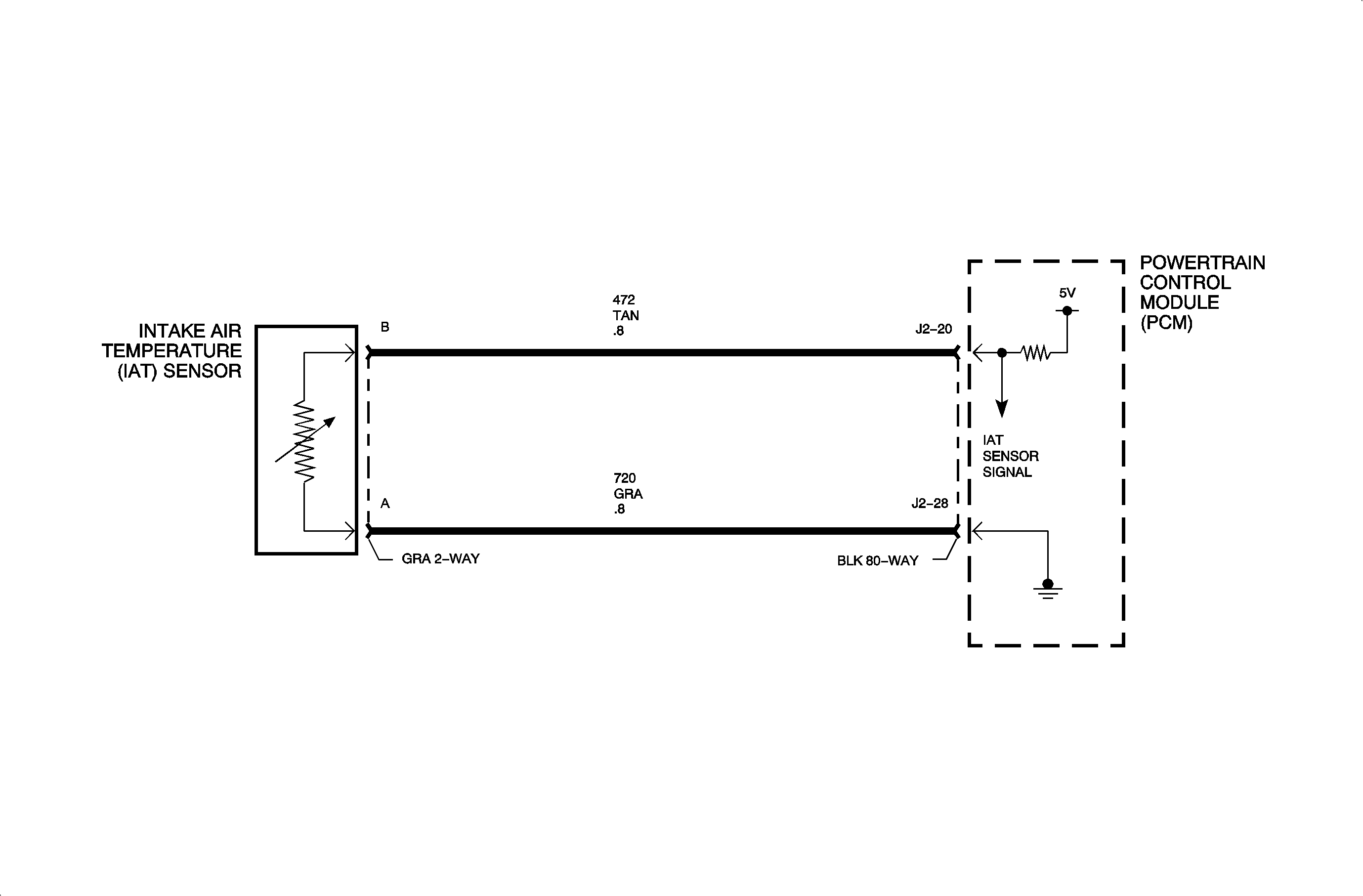
The intake air temperature (IAT) sensor is a thermistor that varies resistance according to changes in air induction temperature. The PCM supplies a 5 volt reference through a pull-up resistor to the sensor, which is connected to ground. When the sensor is cold, it has high resistance (high signal voltage at PCM). As the sensor temperature increases, its resistance decreases (lower signal voltage at PCM). The PCM uses the signal voltage to determine air induction temperature. DTC P0113 sets when the IAT sensor signal voltage at the PCM is above the calibrated voltage value, below the calibrated temperature value.

Conditions for Setting the DTC

DTC P0113 will set if IAT sensor temperature is less than -39°C (-38°F) when:

    • The condition exists for longer than 3 seconds.
    • Engine run time is greater than 5 minutes and 20 seconds.
    • The ECT is greater than -40°C (-40°F).
    • Vehicle speed is less than 24 km/h (15 mph).
    • No ECT or vehicle speed DTCs have been set.

Diagnostic Aids

To locate an intermittent problem, use the scan tool to monitor the IAT temperature with the ignition ON and the engine OFF. Wiggling the wires while watching for a change in IAT temperature may locate the area where an open or short to voltage in the wiring could lie.

Notice: A short to B+ on signal circuit 472 may damage the IAT sensor. Check for correct resistance vs. temperature of the sensor after repair has been made.

Refer to ECT General Description for a Temperature vs. Resistance chart.


Object Number: 889892  Size: FP