GM Service Manual Online
For 1990-2009 cars only

Object Number: 889667  Size: MF

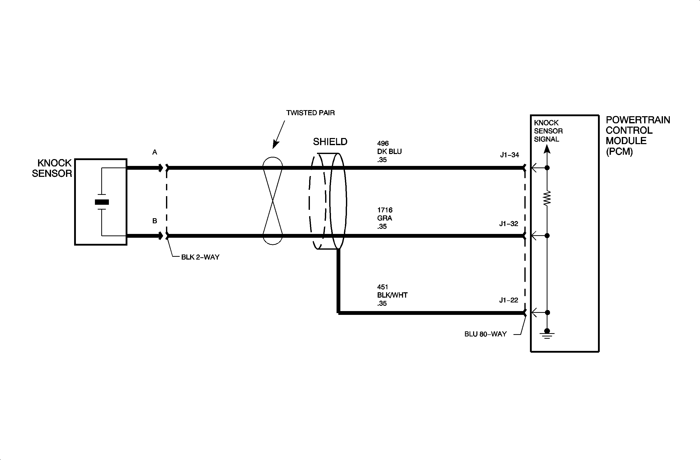
The knock sensor is a piezoelectric device that produces an AC voltage of different amplitude and frequency based on engine mechanical vibration. The amplitude and frequency are dependent on the level of knock the sensor detects. The PCM learns an average noise level from the knock sensor, based on a calibrated average, and monitors the signal to verify that it stays above a minimum value. The knock sensor signal is only used during the top dead center combustion event of the firing cylinder. When in a combustion event, the PCM filters the knock signal and compares it to the normal calibration noise level for that RPM. If the PCM has determined that knock is present during the combustion event, it will retard timing on the next firing cylinders until the knock is eliminated. The PCM will always try to work back to a 0 compensation level or no spark retard. DTC P0325 will set when the PCM has detected no normal knock sensor voltage activity.

Conditions for Setting the DTC

DTC P0325 will set when the PCM detects no normal or low knock sensor activity when:

    • The condition exists for 15 seconds.
    • The engine speed is between 1,800-2,400 RPM.
    • The engine run time is greater than 20 seconds.
    • The ECT is greater than 70°C (158°F).
    • The MAP is greater than 35 kPa.
    • No TP sensor DTCs have been set.

DTC P0325 diagnostic runs continuous once the above conditions have been met.

DTC P0325 is a type B DTC.

Diagnostic Aids

Excessive engine noise will NOT set this DTC.

An open anywhere in the knock sensor circuit or short to ground on circuit 496 will cause no knock sensor activity and will set this DTC.

Normal knock sensor values should vary between 0.2-2 volts at idle to wide open throttle shown as KS NOISE on the scan tool. The voltage should increase with RPM.

Knock sensor resistance should be infinite (open).

Check the knock sensor attachment bolt for tightness.

Tighten
Tighten the knock sensor attachment bolt to 25 N·m (19 lb ft).


Object Number: 890025  Size: FP