GM Service Manual Online
For 1990-2009 cars only
Makes
🢒
Saturn
🢒
2003
🢒
L200/LW200
🢒
Engine
🢒
Engine Controls - 2.2L (L61)
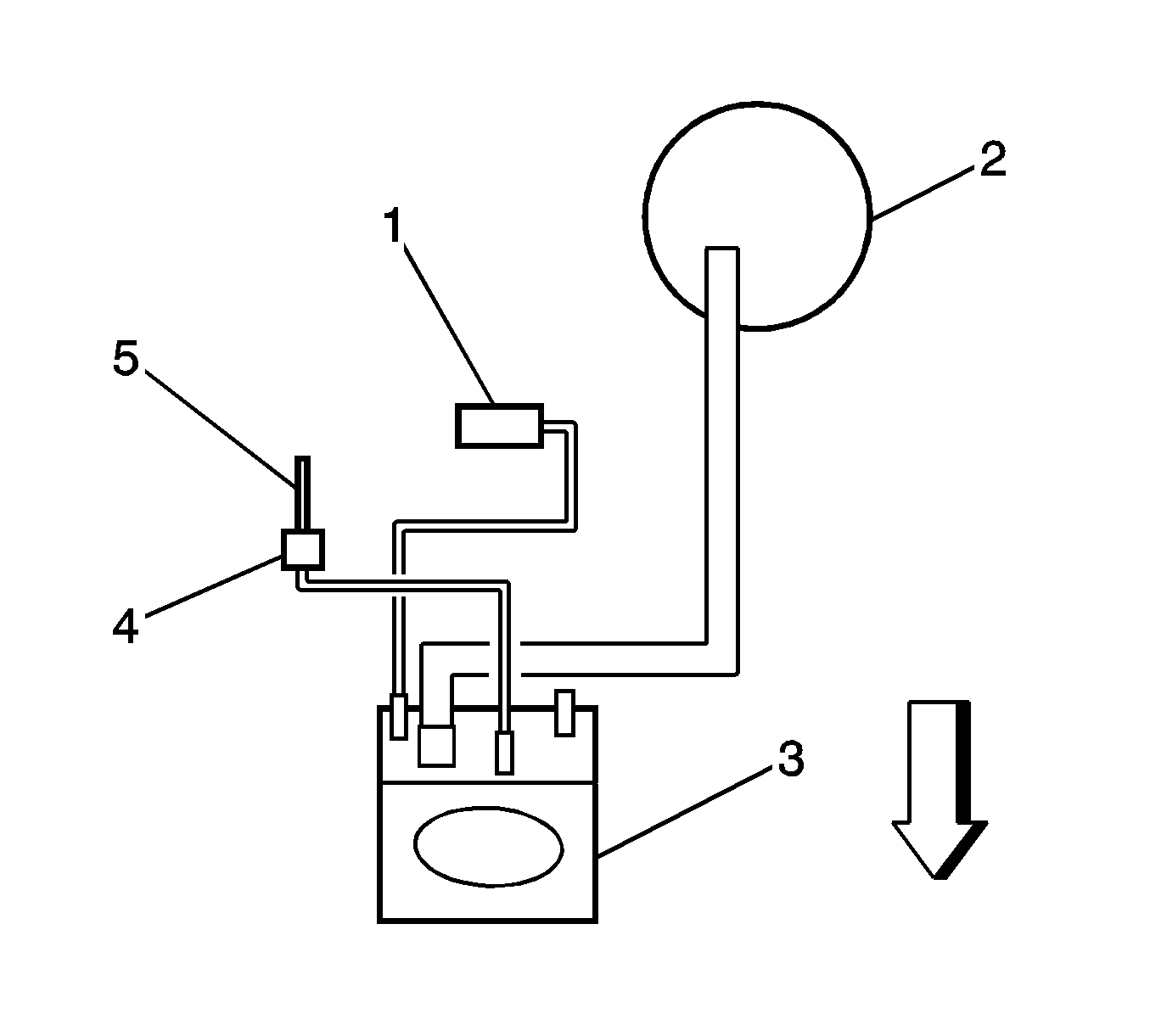
🢒 Emission Hose Routing Diagram
(1)
Fuel Pressure Regulator
(2)
Brake Booster
(3)
Throttle Body
(4)
EVAP Canister Purge Solenoid Value
(5)
Hose To EVAP Canister